Запчасти Case IH 2390 (2-50) - OIL PAN AND GASKETS, 504BDT, DIESEL ENGINE (02) - ENGINE

Схема запчастей Case IH 2390 - (2-50) - OIL PAN AND GASKETS, 504BDT, DIESEL ENGINE (02) - ENGINE
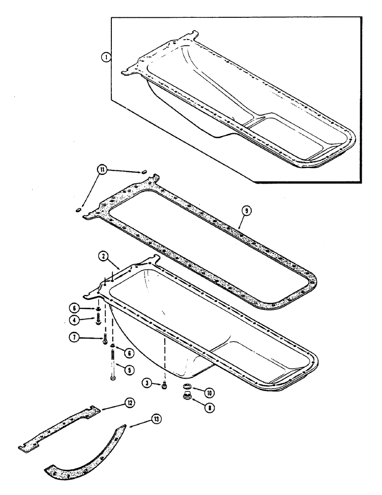
1
9
7
12
6
3
6
5
8
10
13
11
4
2
FIT
1:1
100%

Артикул

Название

Примечание

Количество

1

A148753

PAN

- oil (Prior to P.I.N. 8851282)

1шт.

2

A150239

PAN

- oil (P.I.N. 8851282 and after)

1шт.

3

193-553

SCREW,SEMS, Hex Hd, 3/8"-16 x 7/8", G5

BOLT - 3/8 x 7/8" NC hex Sems (Includes lockwasher) (Order 113-221 bolt and 92-6 washer)

26шт.

4

166-46

12 PT SCREW,Flg, 3/8" - 16 x 1 1/4", Gr 8

SCREW - 3/8 x 1-1/4" NC Ferry head (Outside holes)

2шт.

5

113-2232

BOLT,Hex, 3/8" - 16 x 5-1/2", Gr 5

- 3/8 x 5-1/2" NC hex (Grade 5)

2шт.

6

192-21

LOCK WASHER,3/8"

WASHER, LOCK, 3/8"

4шт.

7

193-528

SCREW,SEMS, Hex Soc Hd, 3/8"-16 x 1 1/2"

BOLT - 3/8 x 1-1/2" NC hex Sems (Includes lockwasher)

2шт.

8

A34826

PLUG,7/8" - 18 ORB

- drain, oil pan

1шт.

A152479

GASKET KIT

- oil pan, Includes: Ref. 9 - 10

1шт.

9

NSS

NOT SOLD SEPARAT

GASKET -, Serial Range: pan-block

1шт.

10

A27968

RING

- copper, drain plug

1шт.

A152424

GASKET

KIT, Includes: Ref. 11 - 13

1шт.

11

NSS

NOT SOLD SEPARAT

GASKET - tab, rear corner

2шт.

12

NSS

NOT SOLD SEPARAT

GASKET - flywheel cover top

1шт.

13

A57966

GASKET

- flywheel cover to torque tube

1шт.

Выбрано товаров: 15