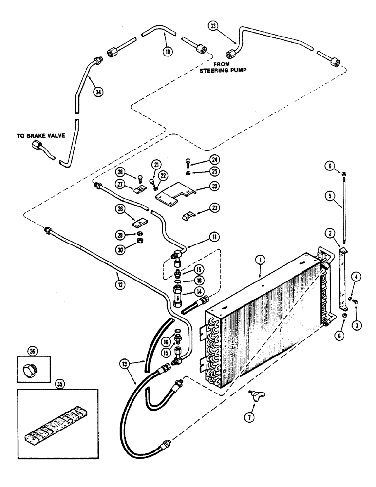
Запчасти Case IH 2390 (5-152) - OIL COOLER, P.I.N. 8835520 AND AFTER (05) - STEERING

Схема запчастей Case IH 2390 - (5-152) - OIL COOLER, P.I.N. 8835520 AND AFTER (05) - STEERING
14
25
12
6
29
20
24
23
16
5
15
6
4
16
30
26
21
2
3
7
27
22
1
28
33
34
13
36
35
15
11
10
FIT
1:1
100%

Артикул

Название

Примечание

Количество

1

A160190

COOLER

- oil, transmission

1шт.

2

A160194

SUPPORT

BRACKET - pivot

1шт.

3

113-118

BOLT,Hex, 5/16" - 18 x 5/8", Gr 5

2шт.

4

192-20

LOCK WASHER,Helical Spring, 0.318" ID, CST, ZND

WASHER, LOCK, 5/16"

2шт.

5

A160195

PIN

ROD - pivot, oil cooler

1шт.

6

131-1180

LOCK NUT,1/4"-20, GA

NUT, LOCK, 1/4"-20, GA

2шт.

7

A141485

THUMB SCREW,5/16" - 18 x 5/8"

- thumb, oil cooler lock (5/16" NC)

2шт.

10

A147900

TUBE

- center section, oil cooler outlet

1шт.

11

A166581

TUBE ASSY.

TUBE - inlet, oil cooler

1шт.

12

A166580

TUBE ASSY.

TUBE - outlet, oil cooler

1шт.

13

A36162

TUBE

HOSE - inlet and outlet

2шт.

14

A145165

VALVE

- bypass

1шт.

15

218-5059

HYD CONNECTOR,3/4"-16, 37 Degree x 3/4"-16, O-Ring

CONNECTOR ASSEMBLY - 1/2" tube x 3/4"-16, Incl. Ref 16

2шт.

16

218-5008

O-RING,0.116" Thk x 0.924" ID, -912, Cl 6, 90 Duro

- 15/16 ID x 7/64" (23.47 x 2.95" MM)

1шт.

20

A145791

COVER

- cooler tubes

1шт.

21

113-2

BOLT,Hex, 1/4" - 20 x 5/8", Gr 5

2шт.

22

92-4

LOCK WASHER,1/4"

WASHER, LOCK, 1/4"

2шт.

23

A60224

CLAMP

- tube

1шт.

24

13-416

BOLT,Hex, 1/4" - 20 x 1", Gr 5

1шт.

25

92-4

LOCK WASHER,1/4"

WASHER, LOCK, 1/4"

1шт.

26

A60864

PLATE

- tube clamp

1шт.

27

A63323

CLAMP

- tube

2шт.

28

113-103

BOLT,Hex, 5/16" - 18 x 1", Gr 5

2шт.

29

92-5

LOCK WASHER,5/16"

2шт.

30

9635082

NUT,5/16" - 18, Gr 5

2шт.

33

A147897

TUBE

- steering pump

1шт.

34

A147699

TUBE

- brake valve

1шт.

35

A149298

SEAL

- air conditioner and oil cooler tubes

1шт.

36

218-775

PLUG,3/4"-16, 37 Degree

- 3/4"-16 flared

2шт.

Выбрано товаров: 29