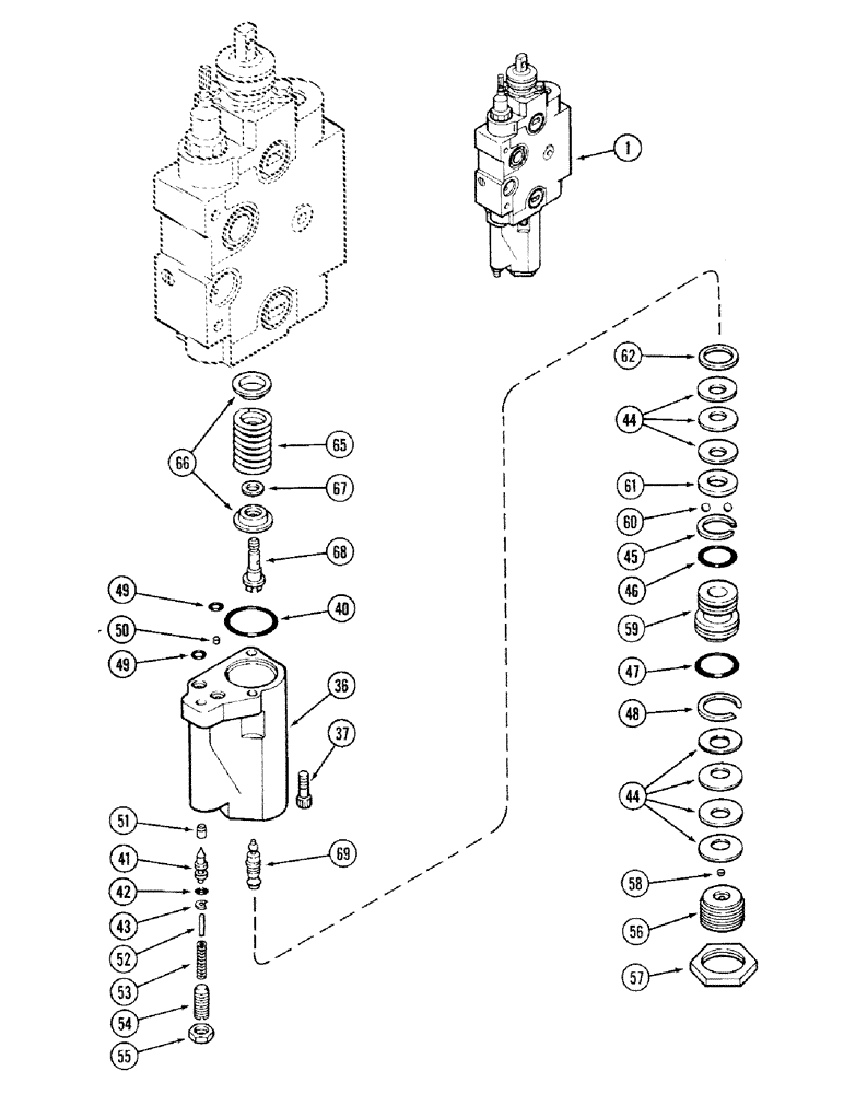
Запчасти Case IH 2394 (8-074) - REMOTE VALVE BODY ASSEMBLY, WITHOUT LOAD CHECK - A162213 (CONTINUED) (08) - HYDRAULICS

Схема запчастей Case IH 2394 - (8-074) - REMOTE VALVE BODY ASSEMBLY, WITHOUT LOAD CHECK - A162213 (CONTINUED) (08) - HYDRAULICS
58
47
60
40
61
59
66
48
49
54
52
65
44
50
1
56
41
46
49
67
53
69
68
43
42
45
62
55
37
51
36
44
57
FIT
1:1
100%

Артикул

Название

Примечание

Количество

1

A162213

HOUSING

BODY ASSEMBLY - remote hydraulic control valve (Order A169029)(See Figure 8-76), Includes: Ref. 36 - 69 and 2 - 36 on Figure 8-072

1шт.

36

A47655

HOUSING

- detent (Order A48940)

1шт.

37

61-32516

HEX SOC SCREW,1/4"-20 x 1"

SCREW - socket head cap, 1/4 NC x 1 inch

3шт.

A47572

KIT

SEAL KIT - detent housing, Includes: Ref. 40 - 49

1шт.

40

238-5026

O-RING,0.07" Thk x 1.239" ID, -26, Cl 5, 75 Duro

-026, 70 Duro, 1.239" ID x .070" Thk

1шт.

41

A47192

SPOOL

POPPET - pilot

1шт.

42

238-5007

O-RING,0.07" Thk x 0.145" ID, -7, Cl 5, 75 Duro

-007, 70 Duro, .145" ID x .070" Thk

1шт.

43

D54860

RING

- backup

1шт.

44

D78437

WASHER

SPRING - Belleville, detent

7шт.

45

A47100

RING

- backup

1шт.

46

238-5020

O-RING,0.07" Thk x 0.864" ID, -20, Cl 5, 75 Duro

-020, 70 Duro, .864" ID x .070" Thk

1шт.

47

238-5022

O-RING,0.07" Thk x 0.99" ID, -22, Cl 5, 75 Duro

-022, 70 Duro, .989" ID x .070" Thk

1шт.

48

A52208

SEAL,25.98mm ID x 28.73mm OD x 1.32mm Thk

RING - backup

1шт.

49

238-6011

O-RING,0.07" Thk x 0.301" ID, -11, Cl 6, 90 Duro

2шт.

50

D78456

PLUG

- orifice

1шт.

51

A47201

SEAT

- pilot

1шт.

52

A47104

PIN

- spring guide

1шт.

53

D78468

SPRING

- pilot

1шт.

54

A47173

SCREW,3/8" - 24 x 0.96"

- adjusting

1шт.

55

86585245

SPECIAL NUT,JAM, 5/8" - 18

- hex, 3/8 inch NF

1шт.

56

A47211

PLUG

- detent adjusting

1шт.

57

A47175

LOCK NUT

NUT - lock

1шт.

58

A47206

FILTER

- float

1шт.

59

A47207

PISTON

- float

1шт.

60

211-256

BALL

- 7/32 inch, grade 50, chrome alloy steel

7шт.

61

A47198

RETAINER

- ball

1шт.

62

D78438

WASHER

- special

1шт.

A47573

KIT

DETENT KIT - centering spring (Order components), Includes: Ref. 65 - 69

1шт.

65

A47177

SPRING

- centering

1шт.

66

A47197

RETAINER

- spring

2шт.

67

A47199

BUSHING

SPACER - detent

1шт.

68

A47193

COUPLING, BREAK AWAY

COUPLER - detent pivot

1шт.

69

A47190

SHAFT

- pivot, detent

1шт.

Выбрано товаров: 33