Запчасти Case IH 2394 (9-026) - HOOD SUPPORTS, HINGE AND LATCH (09) - CHASSIS/ATTACHMENTS

Схема запчастей Case IH 2394 - (9-026) - HOOD SUPPORTS, HINGE AND LATCH (09) - CHASSIS/ATTACHMENTS
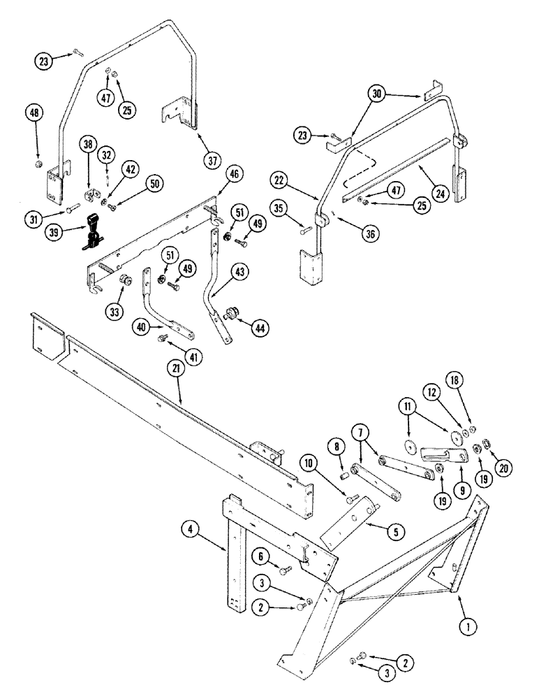
9
41
39
2
22
49
23
46
35
24
30
23
3
44
33
5
43
47
31
10
50
4
51
38
3
25
1
6
42
37
51
49
21
32
48
25
2
19
47
18
12
7
19
36
20
8
11
40
FIT
1:1
100%

Артикул

Название

Примечание

Количество

1

A145660

SUPPORT

- hood front (Order 1334382C4)

1шт.

2

413-616

BOLT,Hex, 3/8" - 16 x 1", Gr 5

- hex, 3/8 NC x 1 inch

8шт.

2

413-612

BOLT,Hex, 3/8" - 16 x 3/4", Gr 5

4шт.

3

492-11038

LOCK WASHER,3/8"

10шт.

4

A169187

BRACKET

SUPPORT - radiator, right side

1шт.

4

A169188

BRACKET

SUPPORT - radiator, left side (Right shown)

1шт.

5

NLS

NO LONGER SERVICED

- hinge support, right

1шт.

5

A147613

BRACKET

- hinge support, left

1шт.

6

121-226

SERRATED BOLT,Hex, 3/8" - 16 x 1"

4шт.

6

413-616

BOLT,Hex, 3/8" - 16 x 1", Gr 5

- hex, 3/8 NC x 1 inch

2шт.

7

A162510

LINK

ASSEMBLY - hood tilt, Includes: Ref. 8

4шт.

8

A59809

BUSHING,12.8mm ID x 15.93mm OD x 25.4mm L

- pivot

2шт.

9

A147632

LEVER

- hood lock

1шт.

10

413-620

BOLT,Hex, 3/8" - 16 x 1-1/4", Gr 5

- hex, 3/8 NC x 1-1/4 inch

1шт.

11

495-81147

WASHER,0.41" ID x 2" OD x 0.11" Thk

- flat, 13/32 x 2 x 1/8 inch

2шт.

12

495-21044

WASHER,3/8"

3шт.

18

131-206

NUT,3/8"-16

NUT - heavy hex, self-locking, 3/8 inch NC

1шт.

19

131-425

PUSH-ON NUT,Push, 1/2"

NUT, LOCK, Push, 1/2"

8шт.

20

100-11100

SNAP RING,#100, Ext

Ring, Snap, #100, Ext

1шт.

21

A145730

FRAME

- hood, right

1шт.

21

A145732

FRAME

- hood, left (Right shown)

1шт.

22

A145704

BRACE

- hood and cylinder

1шт.

23

413-424

BOLT,Hex, 1/4" - 20 x 1-1/2", Gr 5

6шт.

24

A149068

BRACKET

ANGLE - support, center

1шт.

25

230-4214

LOCK NUT,1/4"-20, GA

NUT - hex, self-locking, 1/4 inch NC

6шт.

30

A149342

BRACKET

- hood support

2шт.

31

141-66

CLEVIS PIN,5/16" x 1 13/16"

PIN - clevis, 5/16 inch

2шт.

32

32-612

COTTER PIN,3/32" x 3/4"

PIN, SPLIT (COTTER), 3/32" x 3/4"

2шт.

33

A147282

SPOOL

- hood lock

2шт.

35

427-4121

CLEVIS PIN,6.35mm OD x 30.96mm L

PIN - clevis, 1/4 x 1-7/32 inch, hardened

2шт.

36

132-17

COTTER PIN,1/16" x 2"

PIN - cotter, 1/16 x 1-1/8 inch

2шт.

37

A164607

BRACE

- hood support, rear

1шт.

38

A164613

BRACKET

- anchor, hood

2шт.

39

A164624

HOOK

- rubber, hood lock

2шт.

40

A164609

ROD

- hood support, right rear

1шт.

41

409-7512

BOLT,Hex Flg, 5/16" - 18 x 3/4", Spcl

- hex flange, self-locking, 5/16 NC x 3/4 inch

2шт.

42

492-11031

LOCK WASHER,5/16"

WASHER, LOCK, 5/16"

2шт.

43

A164611

ROD

- hood support, left rear

1шт.

44

409-7612

BOLT,3/8"-16 x 1.09" OAL

- hex flange, self-locking, 3/8 NC x 3/4 inch

2шт.

46

A164661

SUPPORT

- rear

1шт.

47

495-21031

WASHER,1/4"

- flat, 5/16 x 47/64 x 1/16 inch

6шт.

48

425-105

NUT,5/16"-18, G5

2шт.

49

413-610

BOLT,Hex, 3/8" - 16 x 5/8", Gr 5

4шт.

50

182-515

SCREW,Sl Pan Hd, 5/16" - 18 x 5/8"

- pan head, 5/16 NC x 5/8 inch

2шт.

51

492-11038

LOCK WASHER,3/8"

4шт.

Выбрано товаров: 45