Запчасти Case IH 2394 (9-080) - CLOTH SEAT, AIR SUSPENSION, SUSPENSION (09) - CHASSIS/ATTACHMENTS

Схема запчастей Case IH 2394 - (9-080) - CLOTH SEAT, AIR SUSPENSION, SUSPENSION (09) - CHASSIS/ATTACHMENTS
27
13
12
4
18
19
14
28
16
11
2
25
3
6
31
28
32
17
26
29
29
29
27
5
33
1
9
15
30
8
10
20
7
29
16
FIT
1:1
100%

Артикул

Название

Примечание

Количество

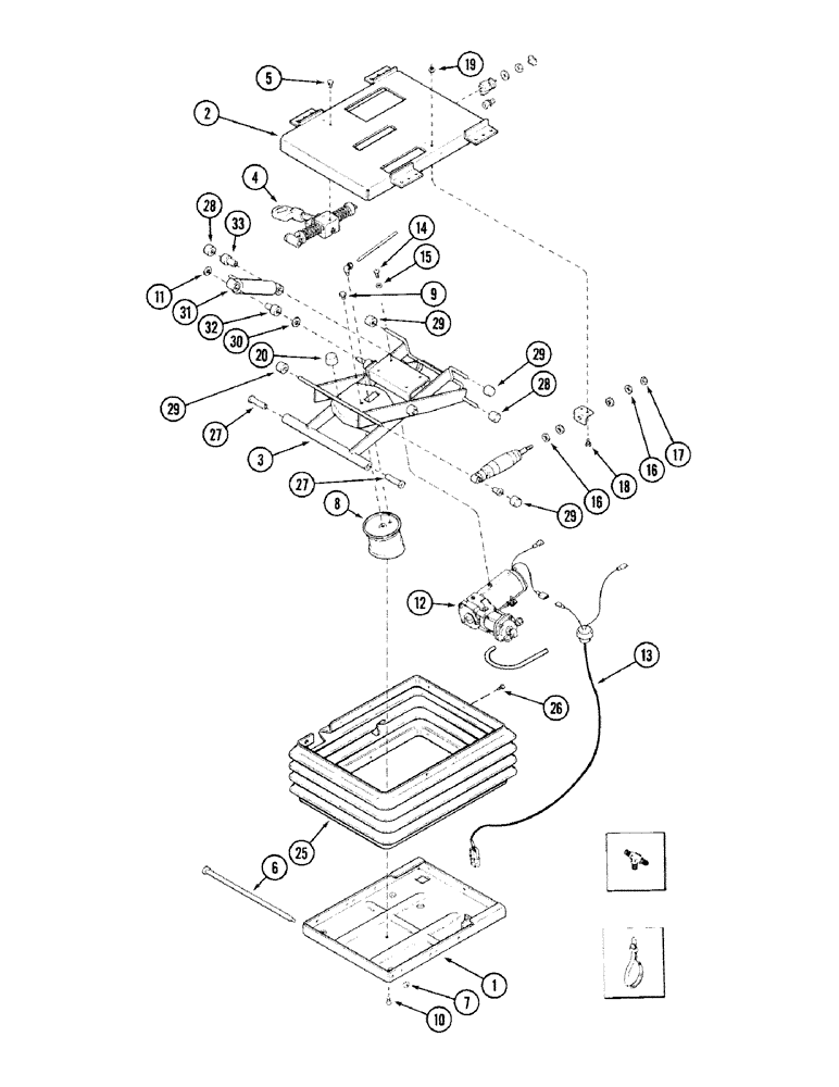
1340261C2

SEAT

ASSEMBLY - air suspension, Includes: Ref. 1 - 33, 40 - 53 and kit on Figure 9-082

1шт.

1990648C3

PACKAGE

KIT - seat suspension, Includes: Ref. 1 - 33 and 40 - 53 on Figure 9-082

1шт.

1

1981834C1

HOUSING

- suspension, lower

1шт.

2

1990642C1

HOUSING

- suspension, upper

1шт.

3

1990643C1

FRAME ASSY

ARM ASSEMBLY - scissor, suspension

1шт.

4

1990645C1

LATCH

ASSEMBLY - isolator, fore and aft (See Figure 9-085)

1шт.

5

276-24812

SELF-TAP SCREW,5/16" - 18 x 3/4"

SCREW, SELF TAPPING, hex head, 5/16 NC x 3/4"

2шт.

6

A49529

SHAFT

- scissor arm

1шт.

7

230-4216

LOCK NUT,3/8"-16, GA

NUT - hex, self-locking, 3/8 inch NC

1шт.

8

1981842C1

SPRING

- air

1шт.

9

413-68

BOLT,Hex, 3/8" - 16 x 1/2", Gr 5

1шт.

10

443-13812

SCREW,Cross Flat Hd, 3/8"-16 x 3/4"

- machine, flat head Phillips, 3/8 NC x 3/4"

1шт.

11

131-425

PUSH-ON NUT,Push, 1/2"

NUT, LOCK, Push, 1/2"

1шт.

1999947C2

COMPRESSOR

KIT - compressor (Order 1999947C3), Includes: Ref. 12 - 14

1шт.

12

NSS

NOT SOLD SEPARAT

COMPRESSOR - air

1шт.

13

1981848C2

HARNESS

ASSEMBLY - wire (Order 134237A1)

1шт.

14

440-1086

SCREW,Cross Pan Hd, #8-32 x 3/8"

- machine, pan head Phillips, No. 8 NC x 3/8"

2шт.

15

495-31022

WASHER,#10

2шт.

16

495-11041

WASHER,0.406" ID x 0.812" OD x 0.065" W

(Flat, 13/32 x 13/16 x 1/16") 3/8", SAE

2шт.

17

230-4715

LOCK NUT,5/16"-24, GA

NUT - hex lock, 5/16 inch NF

1шт.

18

434-48

CARRIAGE BOLT,Sht Sq Nk, 1/4" - 20 x 1/2", Gr 5

Bolt, Carriage, Short NK, 1/4"-20 x 1/2", G5, Full Thd

2шт.

19

231-1444

NUT,1/4"-20, GB

NUT, LOCK, 1/4"-20, GB

2шт.

20

1981849C2

SHOCK ABSORBER

BUMPER - rubber

2шт.

1990647C1

PACKAGE

KIT - boot, suspension (Order 1990647C2), Includes: Ref. 25 and 26

1шт.

25

NSS

NOT SOLD SEPARAT

BOOT - suspension

1шт.

26

700709502

FASTENER

PIN - retaining (Package of 24)

1шт.

1990644C1

PACKAGE

KIT - bearing (Order 1990644C2), Includes: Ref. 27 - 29

1шт.

27

NSS

NOT SOLD SEPARAT

BEARING - tube

2шт.

28

NSS

NOT SOLD SEPARAT

ROLLER - suspension

2шт.

29

NSS

NOT SOLD SEPARAT

ROLLER ASSEMBLY - suspension with bearing

4шт.

30

A45519

WASHER

- flat, 33/64 x 1-1/8 x 1/16 inch

1шт.

1344250C2

KIT

- shock absorber, Includes: Ref. 31 - 33

1шт.

31

NSS

NOT SOLD SEPARAT

ABSORBER - shock

1шт.

32

NSS

NOT SOLD SEPARAT

BEARING - shock absorber

1шт.

33

NSS

NOT SOLD SEPARAT

BUSHING - shock absorber

1шт.

Выбрано товаров: 35