Запчасти Case IH 2394 (9-112) - CAB, SIDE WINDOW (09) - CHASSIS/ATTACHMENTS

Схема запчастей Case IH 2394 - (9-112) - CAB, SIDE WINDOW (09) - CHASSIS/ATTACHMENTS
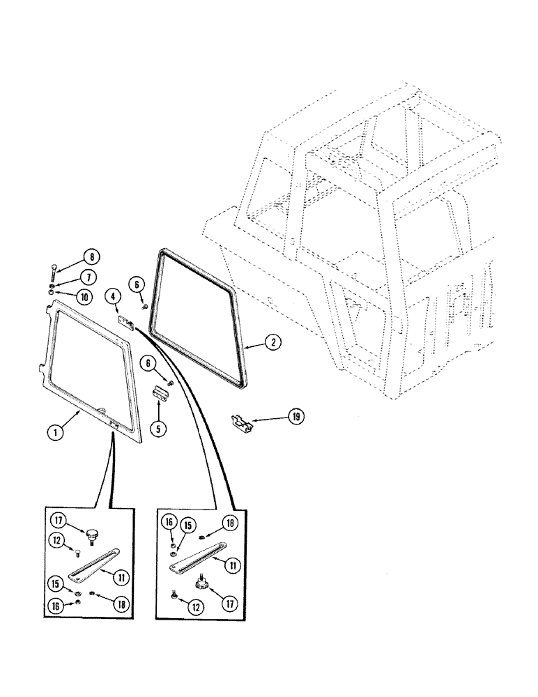
1
18
11
17
8
6
17
11
6
16
15
19
15
18
16
2
12
5
4
10
7
12
FIT
1:1
100%

Артикул

Название

Примечание

Количество

1

F64675

FRAME

- right window (Order F97381 frame with glass)

1шт.

2

F64571

SEAL

SEAL - frame, weather

1шт.

4

F64513

BRACKET

- upper regulator

1шт.

5

F64533

HANDLE

- window

1шт.

6

280-1658

SELF-TAP SCREW,Hex Wash Hd, #10 x 1/2"

SCREW - self-tapping, hex washer head, No. 10-16 x 1/2 inch

6шт.

7

F64046

WASHER,9.91mm ID x 19.05mm OD x 0.76mm Thk

- thrust

2шт.

8

413-672

BOLT,Hex, 3/8" - 16 x 4-1/2", Gr 5

- hex, 3/8 NC x 4-1/2 inch

2шт.

10

131-1306

JAM NUT,Jam, 3/8"-16

NUT - hex, jam, self-locking, 3/8 inch NC

2шт.

11

F64779

REGULATOR

ARM - regulator

2шт.

12

111-243

CARRIAGE BOLT,Short NK, 5/16"-18 x 1", G2, Full Thd

BOLT - round head square neck, 5/16 NC x 3/4 inch

2шт.

15

495-21038

WASHER,5/16"

(flat, 3/8 x 7/8 x 3/32") 5/16"

2шт.

16

230-4225

LOCK NUT,5/16"-18, GA

NUT - hex, self-locking, 5/16 inch NC

2шт.

17

F64253

KNOB

- regulator

2шт.

18

T39518

SNAP RING,#25, Ext

Ring, Snap, #25, Ext

2шт.

19

R52581

CLIP

- retaining

10шт.

Выбрано товаров: 15