Запчасти Case IH 2394 (9-120) - CAB, HEADLINER AND LOUVERS (09) - CHASSIS/ATTACHMENTS

Схема запчастей Case IH 2394 - (9-120) - CAB, HEADLINER AND LOUVERS (09) - CHASSIS/ATTACHMENTS
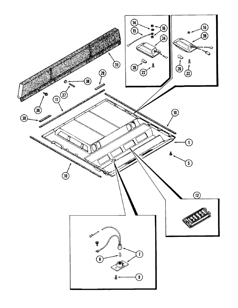
39
7
26
26
16
1
30
10
24
9
36
10
5
11
15
12
37
22
16
22
35
14
29
38
8
FIT
1:1
100%

Артикул

Название

Примечание

Количество

1

F64785

LINING

HEADLINER - cab

1шт.

5

F64519

SELF-TAP SCREW,Cross Wash Hd, #10-16 x 3/4"

SCREW - tapping, round x-recess, No. 10-16 x 3/4 inch (Order 1 washer F64315 and 1 screw 265-16512)

12шт.

7

F98279

INTERIOR LIGHT

LAMP - courtesy

1шт.

8

W10478

LAMP

BULB - lamp, No. 194

1шт.

9

265-16512

SELF-TAP SCREW,Cross Oval Hd, #10 x 3/4"

SCREW - self-tapping, oval Phillips, No. 10-16 x 3/4 inch

2шт.

10

NSS

NOT SOLD SEPARAT

SEAL - headliner, side (Order F64119 and, Serial Range: cut-length)

2шт.

11

NSS

NOT SOLD SEPARAT

SEAL - headliner, rear (Order F64119 and, Serial Range: cut-length)

1шт.

12

L109555

GUARD

LOUVER - air deflection

6шт.

14

93-41023

LOCK WASHER,Ext Tooth, #12

WASHER - lock, external Shakeproof

1шт.

15

F64731

CABLE PULLING GRIP

WIRE - dome light

1шт.

16

225-14108

NUT,#8-32

- hex, No. 8 NC

1шт.

22

473-10810

SCREW,Slotted Flat Hd, #8-32 x 5/8"

- machine, flat head slotted, No. 8 NC x 5/8 inch

4шт.

24

F89772

LAMP

- dome (Order R54198), Includes: Ref. 26

1шт.

26

B50217

BULB

- lamp, GE No. 92 or Guide Lamp 14454

1шт.

29

F64854

SEAL - foam, 6 inch (Order D70611 and, Serial Range: cut-length)

1шт.

30

F64855

SEAL - foam, 7 inch (Order D70611 and, Serial Range: cut-length)

4шт.

35

A180980

GRILLE

- speaker

1шт.

36

F64519

SELF-TAP SCREW,Cross Wash Hd, #10-16 x 3/4"

SCREW - tapping, round x-recess, No. 10-16 x 3/4 inch (Order 1 washer F64315 and 1 screw 265-16512)

7шт.

37

265-16524

SELF-TAP SCREW,Cross Oval Hd, #10 x 1 1/2"

SCREW - self-tapping, oval Phillips, No. 10-16 x 1-1/2 inch

3шт.

38

F64315

WASHER

- No. 10, special

3шт.

39

R54198

COURTESY LIGHT

LAMP - dome (Includes Ref 26)(Replaces F89772)

1шт.

Выбрано товаров: 21