Запчасти Case IH 2394 (9-134) - CAB, AIR CONDITIONING EVAPORATOR, PRIOR TO CAB S/N 12093701, PRIOR TO EUROPEAN CAB S/N 12092344 (09) - CHASSIS/ATTACHMENTS

Схема запчастей Case IH 2394 - (9-134) - CAB, AIR CONDITIONING EVAPORATOR, PRIOR TO CAB S/N 12093701, PRIOR TO EUROPEAN CAB S/N 12092344 (09) - CHASSIS/ATTACHMENTS
18
15
10
7
4
12
11
5
2
17
16
19
3
1
FIT
1:1
100%

Артикул

Название

Примечание

Количество

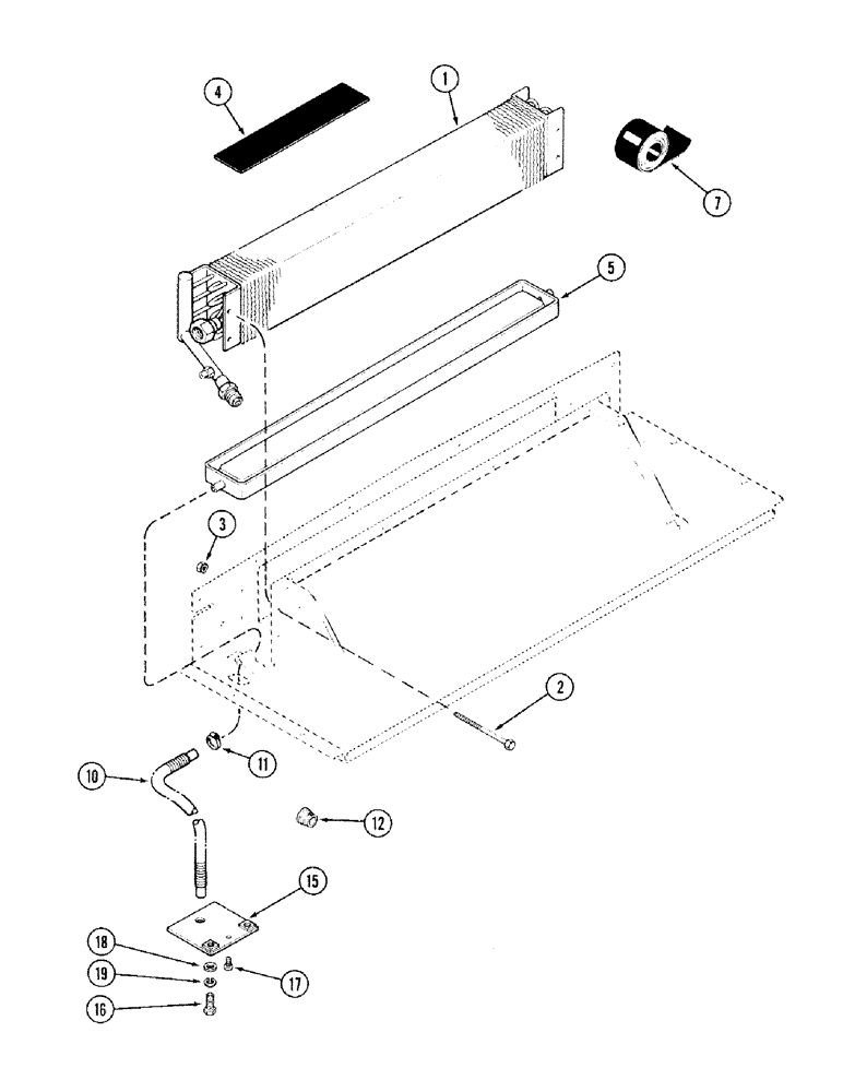
1

F63870

EVAPORATOR

- evaporator

1шт.

2

413-464

BOLT,Hex, 1/4" - 20 x 4", Gr 5

4шт.

3

231-1444

NUT,1/4"-20, GB

NUT, LOCK, 1/4"-20, GB

4шт.

4

345-37

TAPE

- cork, insulating, 1/8 x 2-1/2 x 12 inch (Order A42902)

3шт.

5

F64487

PAN

- condensation

1шт.

7

A42902

SEALING STRIP

TAPE - cork, insulating

1шт.

10

NSS

NOT SOLD SEPARAT

HOSE - drain, corrugated (Order F64508)

2шт.

11

214-1404

HOSE CLAMP,#04, 0.25" - 0.62", Type F Worm

CLAMP - adj, 1/4 - 5/8 inch dia

2шт.

12

F64504

BUSHING

-, Serial Range: hose-post

2шт.

15

F98277

PLATE ASSY.

PLATE - hose support

2шт.

16

413-616

BOLT,Hex, 3/8" - 16 x 1", Gr 5

- hex, 3/8 NC x 1 inch

3шт.

17

276-1468

SELF-TAP SCREW,Hex Hd, #12 x 1/2"

SCREW - self-tapping, hex head, No. 12 NC x 1/2 inch

2шт.

18

195-526

WASHER,7/16" x 7/8" x .083"

- flat, 7/16 x 7/8 x 5/64 inch

2шт.

19

492-11038

LOCK WASHER,3/8"

2шт.

Выбрано товаров: 14