Запчасти Case IH 2394 (3-08) - FUEL INJECTION SYSTEM, 504BDT DIESEL ENGINE (03) - FUEL SYSTEM

Схема запчастей Case IH 2394 - (3-08) - FUEL INJECTION SYSTEM, 504BDT DIESEL ENGINE (03) - FUEL SYSTEM
11
22
26
27
4
8
6
17
22
13
2
8
1
11
24
23
3
26
11
23
5
10
17
25
22
9
16
12
8
7
8
12
15
27
FIT
1:1
100%

Артикул

Название

Примечание

Количество

1

REF

INSTRUCTION

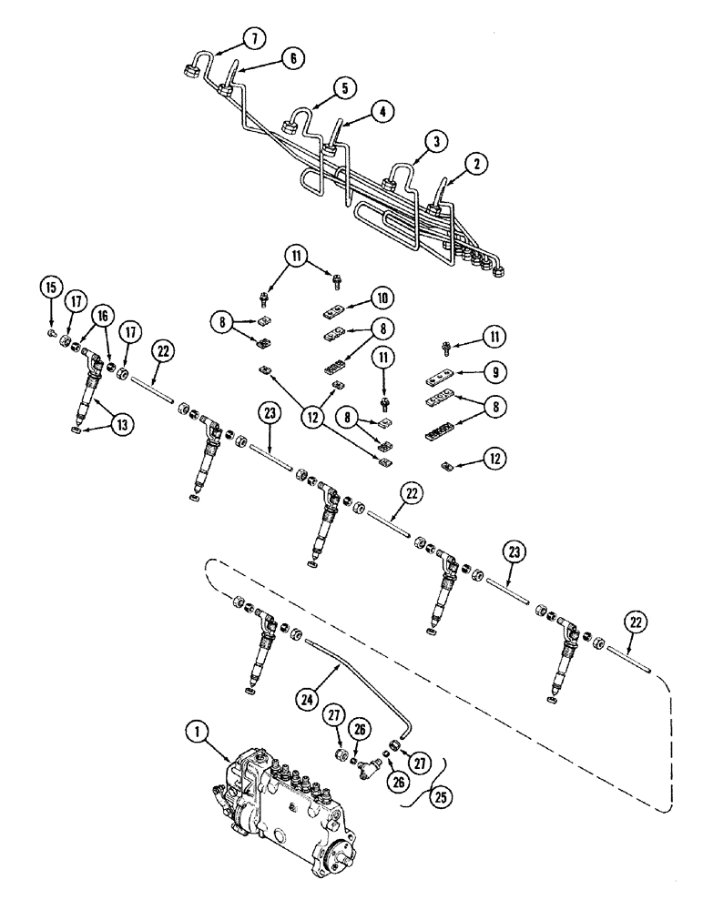
PUMP ASSEMBLY - fuel injection (See Figure 3-4)

1шт.

2

A156885

TUBE

ASSEMBLY - fuel injection, No. 1 cylinder

1шт.

3

A156886

TUBE

ASSEMBLY - fuel injection, No. 2 cylinder

1шт.

4

A156887

TUBE

ASSEMBLY - fuel injection, No. 3 cylinder

1шт.

5

A156888

TUBE

ASSEMBLY - fuel injection, No. 4 cylinder

1шт.

6

A156889

TUBE

ASSEMBLY - fuel injection, No. 5 cylinder

1шт.

7

A156890

PIPE

TUBE ASSEMBLY - fuel injection, No. 6 cylinder

1шт.

8

A58709

BRACKET

- tube clamp

14шт.

9

A58708

PLATE

- tube bracket

1шт.

10

A58710

PLATE

- tube bracket

1шт.

11

63-41016

SCREW,HWH, #10 - 24 x 1"

- machine, hex slotted washer head, No. 10 NC x 1 inch

7шт.

12

131-612

SPRING NUT,Flat, #10 - 24, 0.022" Thk

NUT - flat type, No. 10 NC

7шт.

13

REF

INSTRUCTION

NOZZLE ASSEMBLY - fuel injection (See Figure 3-10 or 3-12)

6шт.

15

47-37

RIVET,FH, 3/16" x 7/16"

- flat head, 3/16 x 7/16 inch

1шт.

16

222-101

SLEEVE,3/16" Tube

- 3/16 inch tube OD

12шт.

17

222-111

TUBE NUT,7/16" - 24

NUT - hex, 3/16 tube OD x 7/16-24 inch

12шт.

22

A76642

TUBE

- leak off, 4-11/16 inch long

3шт.

23

A76641

TUBE

- leak off, 5-3/4 inch long

2шт.

24

A153816

TUBE

- leak-off, No. 1, Serial Range: nozzle-valve

1шт.

25

A59097

VALVE

ASSEMBLY - check, leak-off, Includes: Ref. 26 and 27

1шт.

26

222-102

SLEEVE,1/4" Tube

1шт.

27

87017024

TUBE NUT,1/2"-24

NUT - hex, 1/4 tube OD x 1/2-24 inch

1шт.

Выбрано товаров: 22