Качественные детали и логистика
Оригинальные и аналоговые запчасти с доставкой по России, Казахстану и Беларуси
©2022 PartSell ООО "Система" ИНН 2463123282 ОГРН 1212400004838
Центральный офис: г. Красноярск, Академика Киренского, д.87, пом.4
Телефон: 8 (800) 777-65-74 Email: zakaz@partsell.ru
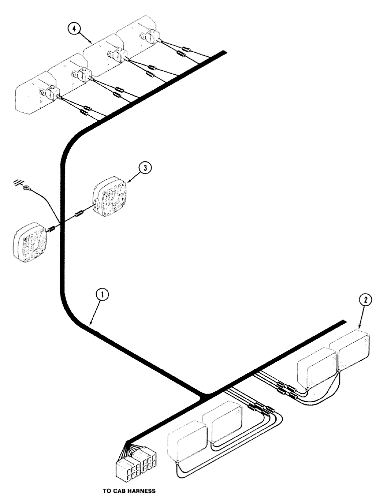
(4-20) - FOUR POST ROPS HEADLINER WIRING
№
Артикул
Название
Примечание
Количество
1
F64805
HARNESS
ASSEMBLY - ROPS headliner wiring
1шт.
2
REF
INSTRUCTION
LAMP - front flood (See Figure 4-56)
3
A44201
LIGHT ASSY.
LAMP - flasher (See Figure 4-52)
2шт.
4
LAMP - rear flood (See Figure 4-54)
Выбрано товаров: 0