Запчасти Case IH 2590 (6-176) - GEAR SHIFT LINKAGE (06) - POWER TRAIN

Схема запчастей Case IH 2590 - (6-176) - GEAR SHIFT LINKAGE (06) - POWER TRAIN
11
19
4
25
8
9
5
30
21
23
17
8
23
7
26
29
9
20
27
16
6
27
2
31
8
24
3
12
1
15
10
24
16
18
21
FIT
1:1
100%

Артикул

Название

Примечание

Количество

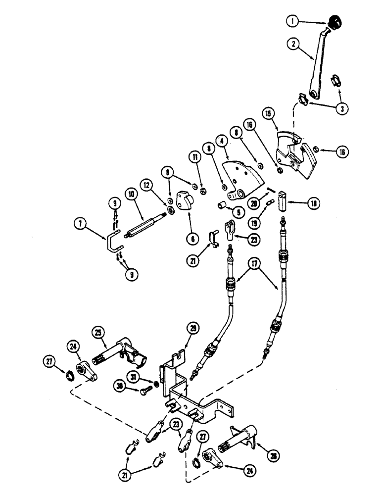
1

A137806

KNOB

- hand lever

1шт.

2

A149899

LEVER

- hand, gear shift

1шт.

3

A162628

WASHER,25.4mm ID x 39.5mm OD x 1.57mm Thk

- lever (Replaces A59662)

2шт.

4

A135170

QUADRANT

ASSEMBLY - gear shift (Third and fourth), Includes: Ref. 5

1шт.

5

A61866

BUSHING,15.95mm ID x 19.13mm OD x 18.41mm L

- 3/4" (19.05 MM) wide

1шт.

6

A160499

LEVER

- reverse lockout (Replaces A141433)

1шт.

7

A147686

LINK

- reverse lockout

1шт.

8

195-525

WASHER,3/8", SAE

- 13/32 x 13/16 x 1/16" (10.32 x 20.64 x 1.59 MM)

4шт.

9

132-26

COTTER PIN

Pin, Split (Cotter), 3/32" x 3/4"

4шт.

10

A141435

SHAFT

- reverse lockout

1шт.

11

131-1306

JAM NUT,Jam, 3/8"-16

NUT - lock, 3/8" NC hex

1шт.

12

195-106

WASHER,1/2"

- 9/16 x 1-3/8 x 1/8" (14.29 x 34.92 x 3.17 MM)

2шт.

15

A61869

QUADRANT

ASSEMBLY - gear shift (First and second), Includes: Ref. 16

1шт.

16

A61871

BUSHING,15.95mm ID x 19.13mm OD x 6.48mm L

- 1/4" (6.35 MM) wide

2шт.

17

A160513

CABLE

- control (5/16" NF ends) (Transmission serial no. 10124635 and after)

2шт.

17

A145725

CABLE

- control (1/4" NF ends) (Prior to transmission serial no. 10124635) (Order 1-A160511, 1-A160513 and 2-A160630)

2шт.

18

A160511

EYE

- cable (5/16" NF hole) (Transmission serial no. 10124635 and after)

1шт.

18

A149947

EYE

- cable (1/4" NF hole) (Prior to transmission no. 10124635)

1шт.

For repairs Order: A160511 eye and A160630 yoke.

1шт.

19

A145484

PIN,9.46mm OD x 28.57mm L

- cable, Serial Range: eye-quadrant

1шт.

20

132-36

COTTER PIN,Ext Prong Sq Cut, 3/32" x 2"

Pin, Split (Cotter), 3/32" x 2"

1шт.

21

A147652

PIN

- yoke

3шт.

23

A160630

CLEVIS,5/16" - 24

YOKE - cable (5/16" NF) (Transmission serial no. 10124635 and after)

3шт.

23

A60661

YOKE

- cable (1/4" NF) (Prior to transmission serial no. 10124635)

3шт.

For repairs Order: A160511 eye and A160630 yoke.

1шт.

24

REF

INSTRUCTION

LEVER - cable to shift lever (See Figure 6-180)

2шт.

25

REF

INSTRUCTION

LEVER - gear shift fork (Third and fourth) (See Figure 6-180)

1шт.

26

REF

INSTRUCTION

LEVER - gear shift fork (First and second) (See Figure 6-180)

1шт.

27

F62023

SNAP RING,#93, Ext

Ring, Snap, #93, Ext

2шт.

29

A160517

STRAP

- cable anchor (Transmission serial no. 10124635 and after)

1шт.

29

A145508

STRAP

- cable anchor (Prior to transmission serial no. 10124635) (Order A160517)

1шт.

30

113-208

BOLT,Hex, 3/8" - 16 x 1-1/4", Gr 5

1шт.

31

92-6

LOCK WASHER,3/8"

1шт.

Выбрано товаров: 33