Запчасти Case IH 2590 (6-182) - FOOT CLUTCH (06) - POWER TRAIN

Схема запчастей Case IH 2590 - (6-182) - FOOT CLUTCH (06) - POWER TRAIN
39
16
9
24
11
3
15
18
13
8
14
10
36
32
41
13
20
16
23
30
33
34
27
40
26
37
5
21
19
6
35
42
28
36
1
17
25
43
4
22
5
38
2
31
7
12
FIT
1:1
100%

Артикул

Название

Примечание

Количество

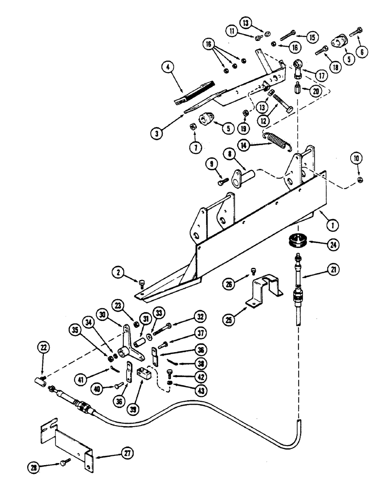
1

A143559

BRACKET

COVER - brake and clutch

1шт.

2

187-1332

SELF-TAP SCREW,Hex Washer, 3/8" - 16 x 5/8"

BOLT - 3/8 x 5/8" NC hex (Self thread)

8шт.

3

A147562

PEDAL

- clutch

1шт.

4

F9197

PAD

TREAD - non slip

1шт.

5

A77310

SUPPORT,0.754" ID x 1.375" OD x 0.81"

- pedal

2шт.

6

113-122

BOLT,Hex, 5/16" - 18 x 1-1/2", Gr 5

2шт.

7

131-1281

LOCK NUT,Jam, 5/16"-18

NUT - 5/16" NC hex, lock

2шт.

8

A60305

SHAFT

- pedal pivot

1шт.

9

113-113

BOLT,Hex, 5/16" - 18 x 7/8", Gr 5

1шт.

10

425-145

JAM NUT,Jam, 5/16"-18, G5

1шт.

11

113-113

BOLT,Hex, 5/16" - 18 x 7/8", Gr 5

(Upper stop) Hex, 5/16"-18 x 7/8", G5, Full Thd

1шт.

12

113-116

BOLT,Hex, 5/16" - 18 x 3-1/2", SST

- 5/16 x 3-12" NC hex (Grade 5) (Lower stop)

1шт.

13

425-145

JAM NUT,Jam, 5/16"-18, G5

2шт.

14

A161864

SPRING

- clutch pedal return (Replaces A147567)

2шт.

15

113-57

BOLT,Hex, 1/4" - 20 x 2", Gr 5, Full Thd

- 1/4 x 2" NC hex

1шт.

16

7770

NUT,Hex, 1/4 - 20, Cl 5

1/4"-20, G5

4шт.

17

A32398

BALL JOINT

ROD END - female, 3/8" (Replaces A67310)

1шт.

18

113-209

BOLT,Hex, 3/8" - 16 x 1-1/2", Gr 5

1шт.

19

87016560

JAM NUT,Jam, 3/8"-16, G5

1шт.

20

A161332

ADAPTER

- cable (3/8 NF to 5/16" NF), Serial Range: -8847358

1шт.

20

A135242

ADAPTER

- cable (3/8 NF to 1/4" NF), Start Serial: 8847358

1шт.

For repairs Order: A161332 adapter, A161778 cable and S26979 joint.

1шт.

21

A161778

CABLE

- control, 5/16", Start Serial: 8847358

1шт.

21

A135243

CABLE

- control, 1/4", Serial Range: -8847358

1шт.

22

S26979

BALL JOINT

JOINT - ball, 5/16", Serial Range: -8847358

1шт.

22

A10329

BALL JOINT,1/4" - 28 x 1"

JOINT - ball, 1/4", Start Serial: 8847358

1шт.

For repairs Order: A161332 adapter, A161778 cable and S26979 joint.

1шт.

23

129-121

NUT,1/4"-28, G5

1шт.

24

A141739

BOOT

COVER - clutch

1шт.

25

A161336

CAB

BRACKET - clutch cable, Serial Range: -8847358

1шт.

25

A149109

BRACKET

- clutch cable (Order A161336), Start Serial: 8847358

1шт.

26

187-1332

SELF-TAP SCREW,Hex Washer, 3/8" - 16 x 5/8"

BOLT - 3/8 x 5/8" NC hex (Self tapping)

2шт.

27

A160844

BRACKET

- clutch mounting (Replaces A161335), Serial Range: -8847358

1шт.

27

A141129

BRACKET

- clutch mounting (Order A161335), Start Serial: 8847358

1шт.

28

113-207

BOLT,Hex, 3/8" - 16 x 1", Gr 5

2шт.

30

A161350

BUZZER

BELLCRANK - clutch spool (Replaces A1352491)

1шт.

31

A65345

SHAFT

- bellcrank

1шт.

32

113-257

BOLT,Hex, 3/8" - 16 x 2-1/2", Gr 5

1шт.

33

195-25

WASHER,3/8"

- 3/8 x 7/8 x 5/64" (9.52 x 22.22 x 1.98 MM)

1шт.

34

92-6

LOCK WASHER,3/8"

1шт.

35

25-106

NUT,3/8"-16, G5

- 3/8" NC hex

1шт.

36

A63367

LINK

- bellcrank

2шт.

37

141-54

CLEVIS PIN,3/8" x 1 1/16"

1шт.

38

132-26

COTTER PIN

Pin, Split (Cotter), 3/32" x 3/4"

1шт.

39

A63368

LEVER

- spool return

1шт.

40

A8824

PIN

- clevis

1шт.

41

132-26

COTTER PIN

Pin, Split (Cotter), 3/32" x 3/4"

1шт.

42

114-1

BOLT,Hex, 1/4" - 28 x 1", Gr 5

1шт.

43

92-4

LOCK WASHER,1/4"

WASHER, LOCK, 1/4"

1шт.

Выбрано товаров: 49