Запчасти Case IH 2590 (8-266) - GEAR AND PISTON PUMP ASSEMBLY (08) - HYDRAULICS

Схема запчастей Case IH 2590 - (8-266) - GEAR AND PISTON PUMP ASSEMBLY (08) - HYDRAULICS
18
7
15
4
16
20
13
6
1
15
10
8
19
17
22
5
9
14
17
11
21
16
2
3
FIT
1:1
100%

Артикул

Название

Примечание

Количество

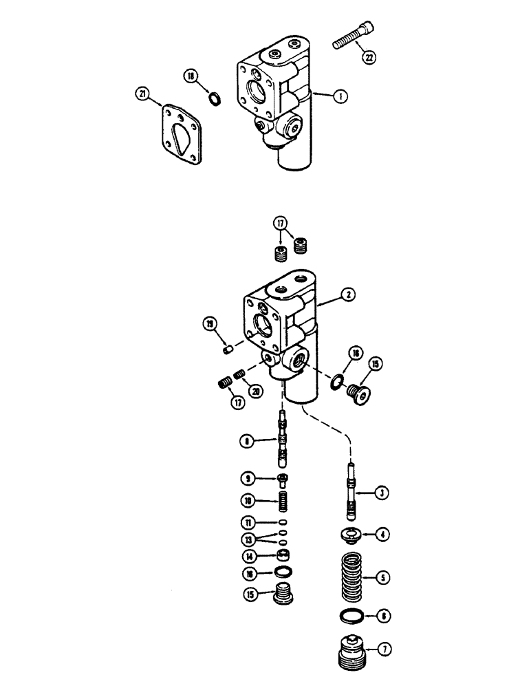
A163167

PUMP

ASSEMBLY - gear and piston (Continued from Figure 8-264), Includes: Refs. 1 - 22

1шт.

1

A47310

CONDENSER

COMPENSATOR ASSEMBLY, Includes: Refs. 2 - 22

1шт.

2

NSS

NOT SOLD SEPARAT

BODY - valve

1шт.

3

A47316

SPOOL

- pressure limiter

1шт.

4

A47317

PLUG

SEAT - pressure limiter spool

1шт.

5

A47318

SPRING

- pressure limiter spool

1шт.

6

A65918

O-RING,0.551" ID x 0.691" OD

- 9/16 x 11/16 x 1/16" (14.22 x 17.53 x 1.59 MM) (In A47567 kit, Figure 8-258)

1шт.

7

A47320

PLUG

- pressure limiter spool adjusting

1шт.

8

A47321

SPOOL

- load sensing

1шт.

9

A47322

SEAT

- load sensing spool

1шт.

10

A47323

SPRING

- load sensing spool

1шт.

11

A47324

DISC

- load sensing spool

1шт.

A47325

KIT

- shim, load sensing spool, Includes: Ref. 13

1шт.

13

NSS

NOT SOLD SEPARAT

SHIM - 0.005" (0.127 MM)

1шт.

13

NSS

NOT SOLD SEPARAT

SHIM - 0.010" (0.254 MM)

1шт.

13

NSS

NOT SOLD SEPARAT

SHIM - 0.020" (0.508 MM)

1шт.

14

A47326

CUP

- load sensing

1шт.

15

278548

PLUG,Hex, 7/16"-20 ORB

2шт.

16

218-5003

O-RING,0.072" Thk x 0.351" ID, -904, Cl 6, 90 Duro

- plug (In A47567 kit, Figure 8-258)

2шт.

17

221-850

PLUG,Hex Soc, 1/16"-27

3шт.

18

A138385

O-RING,0.07" Thk x 0.301" ID, -11, Cl 6, 90 Duro

- 5/16 x 7/16 x 1/16" (7.94 x 11.11 x 1.59 MM) (In A47567 kit, Figure 8-258)

1шт.

19

A47645

PLUG

- valve body

1шт.

20

A47327

FITTING

ORIFICE - valve body

1шт.

21

A47328

GASKET

- valve (In A47341 kit, Figure 8-258)

1шт.

22

165-26

HEX SOC SCREW,#10 - 24 x 1 1/4"

SCREW - #10 x 1-1/4" NC socket head cap

4шт.

Выбрано товаров: 25