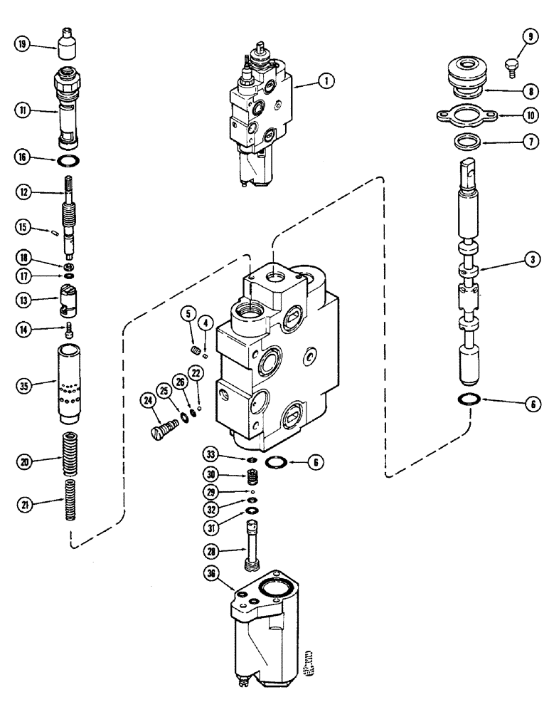
Запчасти Case IH 2590 (8-288) - REMOTE VALVE BODY ASSEMBLY, ADD ON FOR THIRD OR FOURTH CIRCUIT (08) - HYDRAULICS

Схема запчастей Case IH 2590 - (8-288) - REMOTE VALVE BODY ASSEMBLY, ADD ON FOR THIRD OR FOURTH CIRCUIT (08) - HYDRAULICS
24
29
1
3
4
21
13
25
10
12
20
6
31
26
22
17
35
18
6
9
36
33
28
32
15
14
30
16
8
5
11
7
19
FIT
1:1
100%

Артикул

Название

Примечание

Количество

1

A162213

HOUSING

BODY ASSEMBLY - remote hydraulic control valve (Replaces A143991), Includes: Refs. 2 - 69

1шт.

2

NSS

NOT SOLD SEPARAT

BODY - (Order A162213)

1шт.

3

NSS

NOT SOLD SEPARAT

SPOOL - (Order A162213)

1шт.

4

A47105

PLUG

- expansion

1шт.

5

A47213

PLUG

- orifice

1шт.

A47570

KIT

- seal, valve body spool, Includes: Refs. 6 - 9

1шт.

6

A27365

O-RING,0.103" Thk x 0.75" ID, -116, Cl 5, 75 Duro

- 3/4 x 14/16 x 3832" (19.05 x 23.88 x 2.29 MM)

2шт.

7

A47205

SEAL,22.61mm ID x 32.13mm OD x 2.67mm Thk

FILTER - float

1шт.

8

A47188

COVER

- dust

1шт.

9

86019274

SCREW,Hex, 1/4"-20 x 1/2", G5

- retainer (1/4 x 1/2" NC hex lock)

2шт.

10

A47196

RETAINER

- filter

1шт.

A47754

LOCK VALVE

HOUSING ASSEMBLY - flow control (Replaces A47208), Includes: Refs. 11 - 18

1шт.

11

A47194

HOUSING

- flow control

1шт.

12

A47191

SHAFT

- adjusting

1шт.

13

A47755

TUBE

- flow control (Replaces A47200)

1шт.

14

61-46

HEX SOC SCREW,1/4"-20 x 3/8"

SCREW - 1/4 x 3/8" NC socket head

1шт.

A47571

KIT

- repair, flow control (Also includes Refs. 19, 20 and 21)

1шт.

15

138-2

LOCK PIN,1/16" x 1/4", Slotted

Pin, 1/16" x 1/4", Slotted

1шт.

16

237-6010

O-RING,0.097" Thk x 0.755" ID, -910, Cl 6, 90 Duro

- 3/4 x 61/64 x 3/32" (19.05 x 24.21 x 2.38 MM)

1шт.

17

A27358

O-RING,0.07" Thk x 0.239" ID, -10, Cl 5, 75 Duro

- 1/4 x 3/8 x 1/16" (6.35 x 9.65 x 1.52 MM)

1шт.

18

L35305

RING

- back-up

1шт.

19

A47189

COVER

- dust

1шт.

20

A47184

SPRING

- outer, 5/8" O.D. x 2-13/32" free length (16 x 60.96 MM)

1шт.

21

A47186

SPRING

- inner, 27/64" O.D. x 2-13/64" free length (10.67 x 56.13 MM)

1шт.

22

211-255

BALL,3/16 Dia

(4.76 mm), chrome steel 3/16 Dia

1шт.

A47210

PLUG

ASSEMBLY - shuttle seat, Includes: Refs. 24 - 26

1шт.

24

A47204

PLUG

- seat

1шт.

A47575

KIT

- seal, Includes: Refs. 25 and 26

1шт.

25

218-5002

O-RING,0.064" Thk x 0.301" ID, -903, Cl 6, 90 Duro

3-1, .301" ID x .064" Thk

1шт.

26

A47101

O-RING,0.07" Thk x 0.176" ID, -8, Cl 6, 90 Duro

-008, 90 Duro, .176" ID x .070" Thk (3/16 x 5/16 x 1/16") (4.83 x 7.87 x 1.52 mm)

1шт.

A47209

SPOOL

HOUSING ASSEMBLY - primary, Includes: Ref. 28 - 30

1шт.

28

NSS

NOT SOLD SEPARAT

BODY - housing

1шт.

29

NSS

NOT SOLD SEPARAT

BALL - steel, 5/32" diameter (3.97 MM)

1шт.

30

NSS

NOT SOLD SEPARAT

SEAT - primary

1шт.

A47574

KIT

- seal, primary housing, Includes: Refs. 31 - 33

1шт.

31

218-5003

O-RING,0.072" Thk x 0.351" ID, -904, Cl 6, 90 Duro

- 11/32 x 1/2 x 5/64" (8.73 x 12.7 x 1.98 MM)

1шт.

32

D31411

O-RING,0.07" Thk x 0.239" ID, -10, Cl 6, 90 Duro

-010, 90 Duro, .239" ID x .070" Thk (1/4 x 3/8 x 1/16") (6.35 x 9.65 x 1.52 mm)

1шт.

33

A47223

O-RING,0.07" Thk x 0.208" ID, -9, Cl 6, 90 Duro

- 7/32 x 11/32 x 1/16" (5.59 x 8.64 x 1.52 MM)

1шт.

35

A47187

SPOOL

- flow control

1шт.

36

REF

INSTRUCTION

HOUSING ASSEMBLY - detent (See Figure 8-290)

1шт.

Выбрано товаров: 40