Запчасти Case IH 2590 (9-314) - CROSSBAR AND WISHBONE SPRINGS (09) - CHASSIS/ATTACHMENTS

Схема запчастей Case IH 2590 - (9-314) - CROSSBAR AND WISHBONE SPRINGS (09) - CHASSIS/ATTACHMENTS
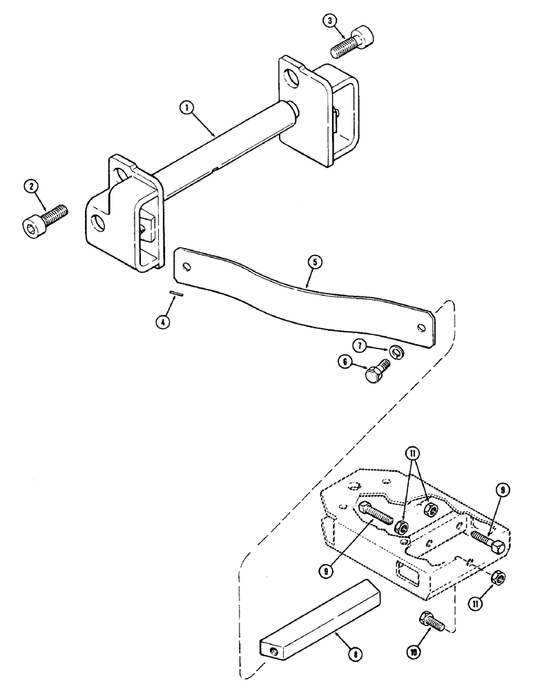
7
10
2
11
9
5
8
6
3
11
1
4
9
FIT
1:1
100%

Артикул

Название

Примечание

Количество

1

A161144

CROSSBAR - hitch (Order A139889)

1шт.

2

A143604

BOLT,1-1/8" - 7 x 3-1/4", Gr 8

- 1-1/8 x 3-1/4" NC hex socket head, L.H. thread (L.H. stamped on top of head)

1шт.

3

A143603

BOLT,1-1/8" - 7 x 3-1/4", Gr 8

- 1-1/8 x 3-1/4" NC hex socket head, R.H. thread

1шт.

4

138-136

LOCK PIN,1/4" x 1 1/4", Slotted

PIN, 1/4" x 1 1/4", Slotted

2шт.

5

A63488

SPRING

- wishbone

2шт.

6

A63490

BOLT

- mounting, wishbone spring

2шт.

7

192-171

LOCK WASHER,1"

WASHER, LOCK, 1"

2шт.

8

A63489

BAR

- wishbone spring equalizer

1шт.

9

181-529

SET SCREW,Sq Hd, 3/4"-10 x 3"

SCREW - 3/4 x 3" NC square head oval point

3шт.

10

113-796

BOLT,Hex, 3/4" - 10 x 2-1/2", Gr 5, Full Thd

- 3/4 x 2-1/2" NC hex (Grade 5)

1шт.

11

25-1412

JAM NUT,Jam, 3/4"-10, G5

- 3/4" NC hex jam

4шт.

Выбрано товаров: 11