Запчасти Case IH 2590 (9-370) - CAB, REAR WINDOW (09) - CHASSIS/ATTACHMENTS

Схема запчастей Case IH 2590 - (9-370) - CAB, REAR WINDOW (09) - CHASSIS/ATTACHMENTS
20
25
18
9
16
10
5
3
4
24
18
26
11
6
8
6
1
23
7
17
27
2
28
15
FIT
1:1
100%

Артикул

Название

Примечание

Количество

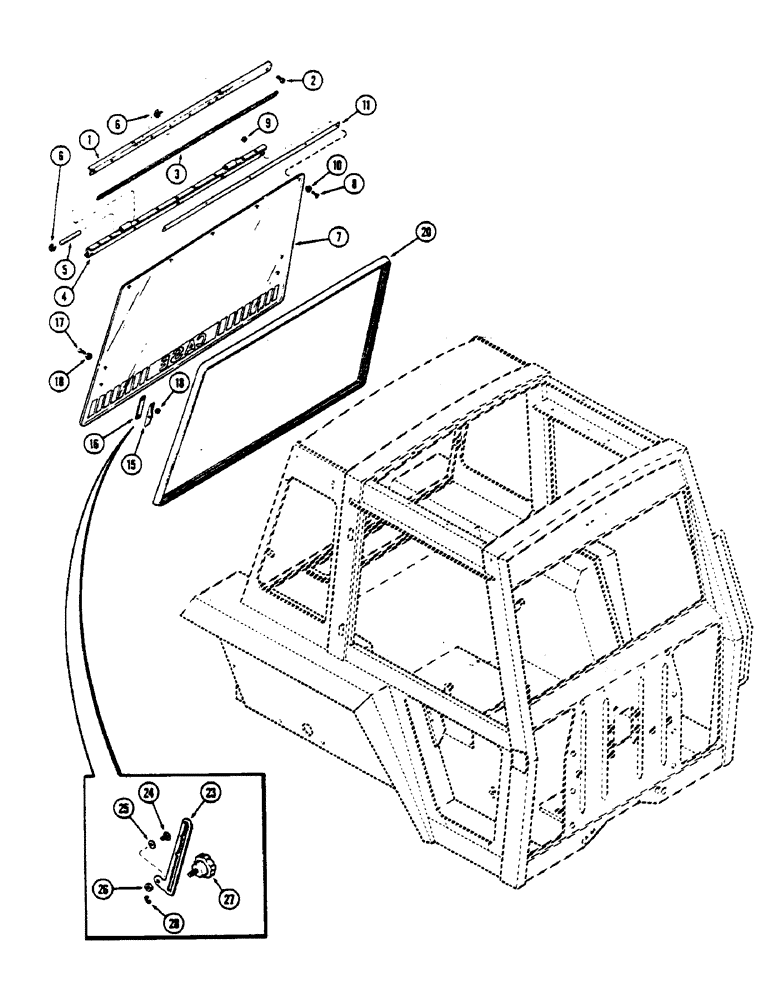
1

F98235

ANGLE

- cab hinge

1шт.

2

182-557

SCREW,Cross Pan Hd, #10-32 x 3/4"

- #10-32 x 3/4" pan head

8шт.

3

A42675

MAKING-UP

SEAL - foam (Order A42676)

1шт.

4

F98236

CHANNEL

HINGE - window

1шт.

5

A42524

PIN,9.53mm OD x 119.38mm L

- hinge

2шт.

6

A42589

SNAP RING,#37, Ext

Ring, Snap, , hinge pin #37, Ext

4шт.

7

F64517

GLASS

- window (Replaces F64135) (See Figures 9-374 and 9-376)

1шт.

8

179-155

SCREW,Cross Oval Hd, #10 - 24 x 3/4"

- #10-24 x 3/8" oval head

9шт.

9

131-1142

LOCK NUT,Hex, #10 - 24, Gr A

NUT, LOCK, #10-24, GA

9шт.

10

F64198

BUMPER,4.98mm ID x 7.92mm OD x 10.21mm L

- screw

9шт.

11

F64139

SPACER

-, Serial Range: hinge-glass

1шт.

15

F64138

BRACKET

- regulator arm

2шт.

16

F64140

SPACER

- bracket

2шт.

17

179-155

SCREW,Cross Oval Hd, #10 - 24 x 3/4"

- #10-24 x 3/8" oval head

4шт.

18

131-1142

LOCK NUT,Hex, #10 - 24, Gr A

NUT, LOCK, #10-24, GA

4шт.

19

F64198

BUMPER,4.98mm ID x 7.92mm OD x 10.21mm L

- screw

4шт.

20

F64499

SEAL

- window edge, 158" (4013.2 MM) long (Replaces F64141)

1шт.

23

F64106

ARM

- regulator, window opening

2шт.

24

111-215

CARRIAGE BOLT,Short NK, 5/16"-18 x 3/4", G2, Full Thd

BOLT - 5/16 x 3/4" NC round head square neck (Grade 2)

2шт.

25

195-103

WASHER,5/16"

- 3/8 x 7/8 x 5/64" (9.52 x 22.22 x 1.98 MM)

2шт.

27

F64253

KNOB

- regulator

2шт.

28

T39518

SNAP RING,#25, Ext

Ring, Snap, #25, Ext

2шт.

Выбрано товаров: 22