Запчасти Case IH 2590 (9-372) - CAB, SIDE WINDOW (09) - CHASSIS/ATTACHMENTS

Схема запчастей Case IH 2590 - (9-372) - CAB, SIDE WINDOW (09) - CHASSIS/ATTACHMENTS
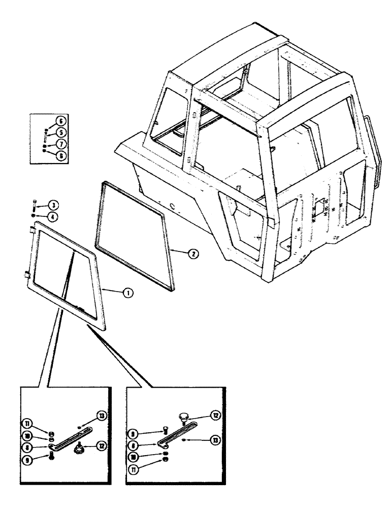
6
4
13
8
13
2
1
12
7
10
6
11
9
12
8
10
5
3
9
11
FIT
1:1
100%

Артикул

Название

Примечание

Количество

F89399

WINDOW

ASSEMBLY - R.H. (Includes glass), Includes: Refs. 1 and 2

1шт.

Order glass from Figures 9-374 and 9-376.

1шт.

1

NSS

NOT SOLD SEPARAT

FRAME - R.H. window

1шт.

2

F64268

SEAL

- weather, 134" long (3403.6 MM)

1шт.

3

113-259

BOLT,Hex, 3/8" - 16 x 4-1/2", Gr 5

(Replaces F63729) Hex, 3/8"-16 x 4 1/2", G5

2шт.

4

131-52

NUT,3/8"-16, GC

NUT - 3/8" NC hex lock

2шт.

5

F63729

PIN

- hinge, side window

2шт.

6

A42589

SNAP RING,#37, Ext

Ring, Snap, , hinge pin #37, Ext

4шт.

7

F64046

WASHER,9.91mm ID x 19.05mm OD x 0.76mm Thk

- thrust, hinge pin

2шт.

8

F64106

ARM

- regulator, window opening

2шт.

9

111-215

CARRIAGE BOLT,Short NK, 5/16"-18 x 3/4", G2, Full Thd

BOLT - 5/16 x 3/4" NC round head square neck (Grade 2)

2шт.

10

195-103

WASHER,5/16"

- 3/8 x 4/8 x 5/64" (9.52 x 22.22 x 1.98 MM)

2шт.

11

131-176

LOCK NUT,Prev Torque, Hex, 5/16" - 18, Gr A

NUT - 5/16" NC hex lock

2шт.

12

F64253

KNOB

- regulator

2шт.

13

T39518

SNAP RING,#25, Ext

Ring, Snap, #25, Ext

2шт.

Выбрано товаров: 15