Запчасти Case IH 2590 (3-60) - FUEL INJECTION SYSTEM, 504BDT, DIESEL ENGINE (03) - FUEL SYSTEM

Схема запчастей Case IH 2590 - (3-60) - FUEL INJECTION SYSTEM, 504BDT, DIESEL ENGINE (03) - FUEL SYSTEM
22
11
8
8
15
25
27
22
16
5
10
3
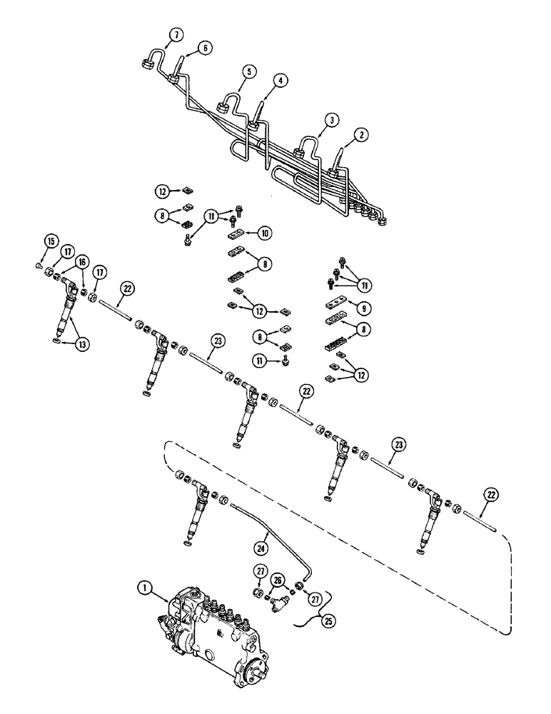
1
7
12
22
9
17
26
17
8
4
8
11
2
24
6
11
23
12
12
23
27
13
FIT
1:1
100%

Артикул

Название

Примечание

Количество

1

REF

INSTRUCTION

PUMP - fuel injection (See Figure 3-56)

1шт.

2

A76645

TUBE

- fuel injection, no. 1 cylinder

1шт.

3

A76646

TUBE

- fuel injection, no. 2 cylinder

1шт.

4

A76647

TUBE

- fuel injection, no. 3 cylinder

1шт.

5

A76648

TUBE

- fuel injection, no. 4 cylinder

1шт.

6

A76649

TUBE

- fuel injection, no. 5 cylinder

1шт.

7

A76650

TUBE

- fuel injection, no. 6 cylinder

1шт.

8

A58709

BRACKET

- injection tube

14шт.

9

A58708

PLATE

- injection tube bracket (6 line)

1шт.

10

A58710

PLATE

- injection tube bracket (4 line)

1шт.

11

163-19

SCREW,Sl Hex Wshr Hd, #10 - 24 x 1"

- #10 x 1" NC hex slotted head

7шт.

12

131-612

SPRING NUT,Flat, #10 - 24, 0.022" Thk

NUT - #10 NC Tinnerman

7шт.

13

REF

INSTRUCTION

NOZZLE - fuel injection (See Figure 3-62)

6шт.

15

47-37

RIVET,FH, 3/16" x 7/16"

REVIT - 3/16" diameter x 7/16" long (4.83 x 11.18 MM) flat head

1шт.

16

222-101

SLEEVE,3/16" Tube

- for 3/16" Tube

12шт.

17

222-111

TUBE NUT,7/16" - 24

NUT - for 3/16" tube

12шт.

22

A76642

TUBE

- leak off, 4-11/16" long (119.13 MM)

3шт.

23

A76641

TUBE

- leak off, 5-3/4" long (146.05 MM)

2шт.

24

A153816

TUBE

- leak off, #1 nozzle to valve (Replaces A151770)

1шт.

25

A59097

VALVE

ASSEMBLY - restrictor, leak off, Includes: Refs. 26 and 27

1шт.

26

222-102

SLEEVE,1/4" Tube

2шт.

27

87017024

TUBE NUT,1/2"-24

NUT - for 1/4" tube

2шт.

Выбрано товаров: 22