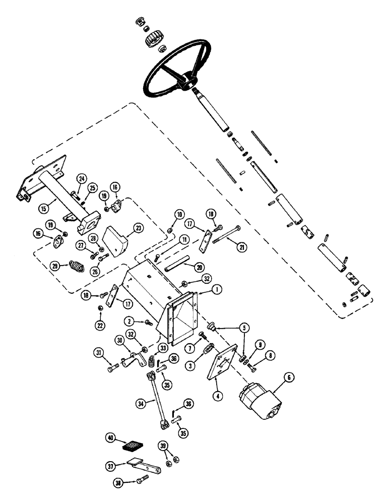
Запчасти Case IH 2590 (5-146) - ADJUSTABLE STEERING COLUMN (05) - STEERING

Схема запчастей Case IH 2590 - (5-146) - ADJUSTABLE STEERING COLUMN (05) - STEERING
6
8
35
19
36
22
30
28
16
37
24
25
35
17
39
21
2
27
32
17
4
10
19
11
32
29
40
1
33
3
18
9
36
16
34
7
18
5
23
15
38
31
26
20
FIT
1:1
100%

Артикул

Название

Примечание

Количество

1

A160589

SUPPORT

- steering column, Serial Range: -8841101

1шт.

1

A147935

SUPPORT - steering column, Start Serial: 8841101

1шт.

2

187-1332

SELF-TAP SCREW,Hex Washer, 3/8" - 16 x 5/8"

BOLT - 3/8 x 5/8" NC hex

4шт.

3

A145915

SEAL,41.148mm ID x 57.15mm OD x 12.7mm Thk

- steering pump mounting

1шт.

4

A145914

PLATE

- steering pump mounting

1шт.

5

A141515

ISOLATOR

MOUNT - steering pump

3шт.

6

REF

INSTRUCTION

PUMP ASSEMBLY - hydrostatic steering (See Figure 5-156)

1шт.

7

113-113

BOLT,Hex, 5/16" - 18 x 7/8", Gr 5

4шт.

8

113-219

BOLT,Hex, 3/8" - 16 x 2", Gr 5

3шт.

9

195-524

WASHER,5/16"

- 3/8 x 1-1/8 x 1/16" (9.52 x 28.57 x 1.59 MM)

3шт.

10

131-133

NUT,Ret, 3/8"-16

1шт.

11

187-1332

SELF-TAP SCREW,Hex Washer, 3/8" - 16 x 5/8"

BOLT - 3/8 x 5/8" NC hex

1шт.

15

A141680

SHAFT ASSY.

COLUMN - steering

1шт.

16

A77310

SUPPORT,0.754" ID x 1.375" OD x 0.81"

- column pivot

2шт.

17

A143314

STRAP

- support brace

2шт.

18

113-113

BOLT,Hex, 5/16" - 18 x 7/8", Gr 5

4шт.

19

425-145

JAM NUT,Jam, 5/16"-18, G5

4шт.

20

A143315

BUSHING

SPACER - column support

1шт.

21

113-115

BOLT,Hex, 5/16" - 18 x 6", Gr 5

1шт.

22

131-128

BOLT

NUT - 5/16" hex jam

1шт.

23

A143317

QUADRANT

- column tilt

1шт.

24

113-122

BOLT,Hex, 5/16" - 18 x 1-1/2", Gr 5

2шт.

25

192-20

LOCK WASHER,Helical Spring, 0.318" ID, CST, ZND

WASHER, LOCK, 5/16"

2шт.

26

113-122

BOLT,Hex, 5/16" - 18 x 1-1/2", Gr 5

1шт.

27

113-113

BOLT,Hex, 5/16" - 18 x 7/8", Gr 5

1шт.

28

425-145

JAM NUT,Jam, 5/16"-18, G5

2шт.

29

A143316

SPRING

- tilt return

1шт.

30

A67307

LATCH

- column tilt

1шт.

31

113-410

BOLT,Hex, 1/2" - 13 x 1-1/2", Gr 5, Full Thd

1шт.

32

129-105

NUT,Hex, 1/2" - 13, Gr 5

2шт.

33

A64125

SPRING

- tilt latch

1шт.

34

A64549

ROD

- tilt latch

1шт.

35

141-54

CLEVIS PIN,3/8" x 1 1/16"

2шт.

36

132-26

COTTER PIN

Pin, Split (Cotter), 3/32" x 3/4"

2шт.

37

A64127

PEDAL

- steering tilt

1шт.

38

113-410

BOLT,Hex, 1/2" - 13 x 1-1/2", Gr 5, Full Thd

1шт.

39

129-105

NUT,Hex, 1/2" - 13, Gr 5

2шт.

40

A75351

SKID/SHOE

PAD - pedal, non slip

1шт.

Выбрано товаров: 38