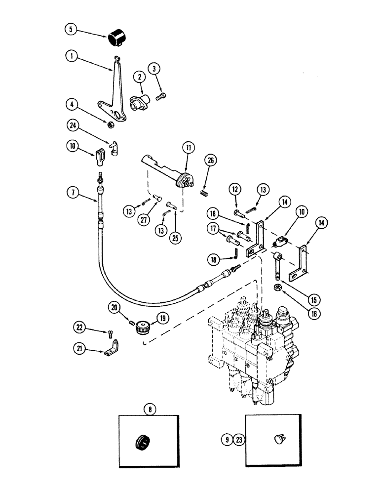
Запчасти Case IH 2594 (8-040) - REMOTE HYDRAULICS ADD-ON ATTACHMENT, THIRD CIRCUIT WITH LOAD CHECK (08) - HYDRAULICS

Схема запчастей Case IH 2594 - (8-040) - REMOTE HYDRAULICS ADD-ON ATTACHMENT, THIRD CIRCUIT WITH LOAD CHECK (08) - HYDRAULICS
16
25
23
18
10
15
12
14
13
3
18
11
26
17
5
13
24
21
19
10
4
13
7
27
22
1
8
14
2
9
20
FIT
1:1
100%

Артикул

Название

Примечание

Количество

A180264

ATTACHMENT - remote hydraulics, no. 3 circuit (Machinery item) (Order A181932) (See Figure: 8-52), Includes: Ref. 1 - 27 and 28 - 69 on fig. 8-42

1шт.

A67590

ATTACHMENT - remote hydraulics, no. 3 circuit (Machinery item) (Order A181932) (See Figure: 8-52), Includes: Ref. 1 - 27 and 28 - 69 on fig. 8-42

1шт.

1

A141392

LEVER

- remote hand control

1шт.

2

A160500

BUSHING,15.95mm ID x 25.4mm OD x 55.37mm L

BEARING - control lever

1шт.

3

413-412

BOLT,Hex, 1/4" - 20 x 3/4", Gr 5

- hex, 1/4 NC x 3/4 inch

2шт.

4

230-4214

LOCK NUT,1/4"-20, GA

NUT - hex, self-locking, 1/4 inch NC

2шт.

5

A177438

KNOB

- hand lever (Black)

1шт.

7

A177635

CABLE

- contorl lever to valve (Used with attachment A180264)

1шт.

7

A141402

CABLE

- control lever to valve (Used with attachment A67590)

1шт.

8

A141389

GROMMET

- cable

1шт.

9

A67295

PLUG

- 9/16 inch diameter head

2шт.

10

213-113

ADJUSTABLE CLEVIS,#10-32

CLEVIS - adjustable, no. 10

2шт.

11

A162861

QUADRANT

- remote lockout

1шт.

12

A67313

PIN

- clevis

2шт.

13

432-412

COTTER PIN,1/16" x 3/4"

PIN, SPLIT (COTTER), 1/16" x 3/4"

4шт.

14

A145598

LEVER

- remote valve bellcrank

2шт.

15

A145597

EYE

- bellcrank pivot

1шт.

16

425-146

JAM NUT,3/8" - 16, Gr 5

- hex jam, 3/8 inch NC

1шт.

17

427-6106

CLEVIS PIN,9.53mm OD x 26.92mm L

PIN, CLEVIS, 3/8" x 1 1/16"

2шт.

18

432-612

COTTER PIN,3/32" x 3/4"

PIN , SPLIT (COTTER), 3/32" x 3/4"

2шт.

19

A160814

KNOB

- flow control

1шт.

20

84-21010

SET SCREW,Hex Soc, #10-32 x 5/8"

SCREW - set, hex socket headless, no. 10 NF x 5/8 inch

1шт.

21

A64179

INDEX

- flow control

1шт.

22

187-1037

SELF-TAP SCREW,Slotted Pan Hd, #8 x 3/8"

SCREW - self- tapping, pan head slotted, no. 8-18 x 3/8 inch

2шт.

23

A162961

PLUG

- 3/4 inch diameter head

1шт.

24

A149683

PIN

- clevis, spring, 3/16 inch

1шт.

25

A167543

PIN,4.72mm OD x 19.99mm L

- clevis

1шт.

26

A164976

SPRING

- remote lockout

1шт.

27

A167543

PIN,4.72mm OD x 19.99mm L

- clevis

1шт.

Выбрано товаров: 29