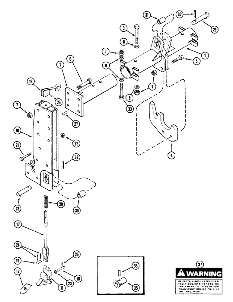
Запчасти Case IH 2594 (9-022) - A137262 QUICK HITCH COUPLER, CATEGORY II AND III (09) - CHASSIS/ATTACHMENTS

Схема запчастей Case IH 2594 - (9-022) - A137262 QUICK HITCH COUPLER, CATEGORY II AND III (09) - CHASSIS/ATTACHMENTS
11
24
21
25
37
26
35
4
23
32
1
20
32
12
18
22
10
6
7
30
7
9
3
28
29
16
33
5
8
31
2
27
7
19
36
8
17
FIT
1:1
100%

Артикул

Название

Примечание

Количество

A137262

COUPLER ASSEMBLY - hitch (Machinery item), Includes: Ref. 1 - 33

1шт.

1

A45449

CROSS

PIPE - cross, outer

1шт.

2

A45450

CROSS

PIPE - cross, inner

2шт.

3

A45451

BOLT,Hex, 3/4" - 10 x 5 5/8"

BOLT - hex, 3/4 NC x 5-1/4 inch

2шт.

4

A45452

LUG

- upper arm hitch

1шт.

5

413-1248

BOLT,Hex, 3/4" - 10 x 3", Gr 5

- hex, 3/4 NC x 3 inch

2шт.

6

A45464

SCREW

BOLT - hex, 3/4 NC x 4-1/4 inch

8шт.

7

425-1012

NUT,3/4"-10, G5

- hex, 3/4 inch NC

16шт.

8

195-545

WASHER,3/4", SAE

- flat, 13/16 x 1-15/32 x 1/8 inch

4шт.

9

A45468

WASHER

- 3/4 inch flat, special

12шт.

10

A45453

BRACKET

HITCH - lower arm bracket, right (Shown)

1шт.

10

A45455

BRACKET

HITCH - lower arm bracket, left

1шт.

11

A45454

LEVER

- lock, right

1шт.

11

A45457

LEVER

- lock, left

1шт.

12

A44470

LEVER

- lower trip ratchet, right

1шт.

12

A44471

LEVER

- lower trip ratchet, left

1шт.

16

A45456

HANDLE

- hitch release

2шт.

17

A45458

ROD

- handle to tripping device

2шт.

18

A45459

PIN

- 2-1/2 inch long

2шт.

19

A45460

PIN

- 1-3/8 inch long

2шт.

20

A45461

SPRING

- release rod

2шт.

21

413-848

BOLT,Hex, 1/2" - 13 x 3", Gr 5

- hex, 1/2 NC x 3 inch

2шт.

22

230-4218

LOCK NUT,1/2"-13, GA

NUT - hex, self-locking, 1/2 inch NC

2шт.

23

95-11066

WASHER,5/8"

- flat, 21/32 x 1-5/16 x 3/32 inch

2шт.

24

432-816

COTTER PIN,1/8" x 1"

1/8" x 1"

4шт.

25

135-56

GROOVED PIN,3/16" x 1 1/2", Type A

Pin, Grooved, 3/16" x 1 1/2", Type A

2шт.

26

135-75

GROOVED PIN,1/4" x 1", Type A

Pin, Grooved, 1/4" x 1", Type A

2шт.

27

135-1251

DOWEL

PIN - dowel, 1/2 x 1-1/4 inch

4шт.

28

A45462

PIN

- 4-3/4 inch long

2шт.

29

A45463

PIN

- 5-1/2 inch long

1шт.

30

A43542

SLEEVE

- coupler arm (Category III)

1шт.

31

A44474

SLEEVE

- upper draft arm pin

1шт.

32

T50113

PIN

- clinch, 3/8 x 1-1/2 inch

3шт.

33

A45469

STUD

BOLT - hex stud, 3/4 x 4-3/4 inch

4шт.

35

T32995

ADAPTER

- hitch coupler (Category II)

2шт.

36

138-188

LOCK PIN,7/16" x 1 1/2", Slotted

Pin, 7/16" x 1 1/2", Slotted

2шт.

37

321-3339

DECAL

- warning, implement lift pins

2шт.

Выбрано товаров: 37