Запчасти Case IH 2594 (3-08) - FUEL INJECTION SYSTEM, 504BDT DIESEL ENGINE (03) - FUEL SYSTEM

Схема запчастей Case IH 2594 - (3-08) - FUEL INJECTION SYSTEM, 504BDT DIESEL ENGINE (03) - FUEL SYSTEM
12
25
26
10
27
6
9
23
16
1
11
24
7
22
17
8
11
23
15
17
8
27
11
8
8
26
2
5
22
22
12
3
13
4
FIT
1:1
100%

Артикул

Название

Примечание

Количество

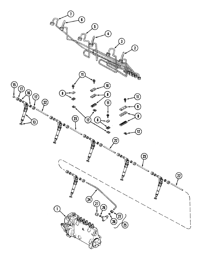
1

REF

INSTRUCTION

PUMP ASSEMBLY - fuel injection (See Figure 3-4)

1шт.

2

A156885

TUBE

ASSEMBLY - fuel injection, No. 1 cylinder

1шт.

3

A156886

TUBE

ASSEMBLY - fuel injection, No. 2 cylinder

1шт.

4

A156887

TUBE

ASSEMBLY - fuel injection, No. 3 cylinder

1шт.

5

A156888

TUBE

ASSEMBLY - fuel injection, No. 4 cylinder

1шт.

6

A156889

TUBE

ASSEMBLY - fuel injection, No. 5 cylinder

1шт.

7

A156890

PIPE

TUBE ASSEMBLY - fuel injection, No. 6 cylinder

1шт.

8

A58709

BRACKET

- tube clamp

14шт.

9

A58708

PLATE

- tube bracket

1шт.

10

A58710

PLATE

- tube bracket

1шт.

11

6341016

SCREW - machine, hex slotted washer head, No. 10 NC x 1 inch

7шт.

12

131-612

SPRING NUT,Flat, #10 - 24, 0.022" Thk

NUT - flat type, No. 10 NC

7шт.

13

REF

INSTRUCTION

NOZZLE ASSEMBLY - fuel injection (See Figures 3-10 & 3-12)

6шт.

15

47-37

RIVET,FH, 3/16" x 7/16"

- flat head, 3/16 x 7/16 inch

1шт.

16

222-101

SLEEVE,3/16" Tube

- 3/16 inch tube O.D.

12шт.

17

222-111

TUBE NUT,7/16" - 24

NUT - hex, 3/16 tube O.D. x 7/16-24 inch

12шт.

22

A76642

TUBE

- leak off, 4-11/16 inch long

3шт.

23

A76641

TUBE

- leak off, 5-3/4 inch long

2шт.

24

A153816

TUBE

- leak-off, No. 1, Serial Range: nozzle-valve

1шт.

25

A59097

VALVE

ASSEMBLY - check, leak-off, Includes: Refs. 26 and 27

1шт.

26

222-102

SLEEVE,1/4" Tube

1шт.

27

87017024

TUBE NUT,1/2"-24

NUT - hex, 1/4 tube O.D. x 1/2-24 inch

1шт.

Выбрано товаров: 22