Запчасти Case IH 2594 (5-04) - STEERING COLUMN (05) - STEERING

Схема запчастей Case IH 2594 - (5-04) - STEERING COLUMN (05) - STEERING
1
4
5
7
6
3
2
FIT
1:1
100%

Артикул

Название

Примечание

Количество

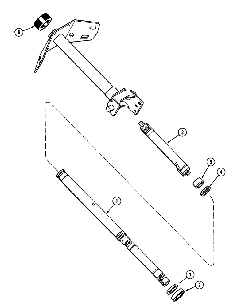
A167215

SHAFT

COLUMN ASSEMBLY - steering, Includes: Refs. 1 - 7

1шт.

1

A49651

SHAFT

- lower, steering column

1шт.

2

A49706

BEARING ASSY

BEARING - ball (Replaces A49648) (Also order washer A49707)

1шт.

3

A49650

SPACER

SHAFT - upper, steering column

1шт.

4

A49645

WASHER

- flat

1шт.

5

A49649

SPACER

BAND - retaining

1шт.

6

A49647

CAP

COVER - column, top

1шт.

7

A49707

WASHER

- spacer

1шт.

B92962

STEERING COLUMN

KIT mod

1шт.

Выбрано товаров: 9