Запчасти Case IH 3088 (13-18) - SUPERSTRUCTURE, DELUXE CONTROL CENTER (05) - SUPERSTRUCTURE

Схема запчастей Case IH 3088 - (13-18) - SUPERSTRUCTURE, DELUXE CONTROL CENTER (05) - SUPERSTRUCTURE
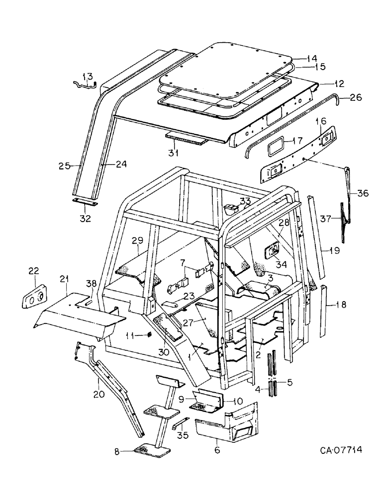
31
37
30
18
27
1
17
9
35
25
11
7
4
20
22
28
19
5
38
6
34
29
36
3
14
2
12
26
16
33
10
13
21
24
8
32
23
15
FIT
1:1
100%

Артикул

Название

Примечание

Количество

1250517C91

CAB

ASSY, western interior

1шт.

1250519C92

CAB

ASSY, burgundy interior

1шт.

1250520C93

CAB

ASSY, black trim

1шт.

445444

NUT,U, #10-16

10-12 PHC U-SPR STYLE II

4шт.

86625129

PLUG,Dome, 1" Hole, Nylon

2шт.

117675C1

PLUG

0.5 Hole

4шт.

17410R1

BOLT,Hex, 1/4" - 20 x 3/4", Gr 2

1/4 x 3/4 pln type 1

2шт.

118148C2

SELF-TAP SCREW,Hex, #10 x 3/8"

SCREW, hex-hd mach

6шт.

115109

WASHER,1/4"

1/4"

6шт.

353-417

PLUG,Dome, 2.000" hole, Nylon

2.0 button

1шт.

1

1250639C3

MAT

black vinyl, For cabs w/western interior.

1шт.

1

1255881C3

MAT

black vinyl, For cabs w/burgundy interior. For cabs w/black trim interior.

1шт.

2

1255882C1

CARPET

SHEET, floor mat, liner

1шт.

3

1280334C1

MAT

LH console, brown, For cabs w/western interior.

1шт.

3

1280290C1

COVER

MAT, LH console, burgundy, For cabs w/burgundy interior. For cabs w/black trim interior.

1шт.

4

104754C1

CHANNEL

firewall seal

2шт.

5

104752C1

SEAL

cab to firewall, vertical

2шт.

6

143172C3

PANEL

front lower LH

1шт.

6

143173C3

PANEL

front lower RH

1шт.

117987C1

SPRING NUT

10-16 U-shaped spring

2шт.

118071C2

SCREW,Phillips Drive, Truss HD, #8 - 18 x 1/2"

8/18 x 1/2 phc pan-hd cr-rec tap

6шт.

143306C1

SELF-TAP SCREW,Cross Pan Hd, #10 x 1/2"

SCREW, 10 x 1/2 polyseal tap

2шт.

1267348C1

SHIM

light panel

1шт.

7

537339R1

SAFETY BELT

SAFETY BELT, For cabs w/black trim interior

1шт.

344096C3

BOLT

BOLT, seat belt anchor

2шт.

24513R1

NUT,7/16"-20, G8

7/16-NF type 8

2шт.

8

1250440C4

STEP

LADDER ASSY, LH

1шт.

8

1250441C4

STEP

LADDER ASSY, RH

1шт.

8

1250626C4

LADDER

ASSY, LH, 3 step, 3688HC tractors

1шт.

8

1250627C4

LADDER

ASSY, RH, 3 step, 3688HC tractors

1шт.

165420C1

BOLT,Hex Serr, 3/8"-16 x 1 1/4", Spcl

3/8 x 1-1/4 hex-hd lock

4шт.

482256R1

BEARING LOCK NUT,Flg, USR, 3/8"-16

3/8 flange lock

12шт.

9

1250567C1

PANEL

inner step LH

1шт.

9

1250568C1

PANEL

inner step RH

1шт.

1276118C1

SELF-TAP SCREW,Cross Pan Hd, #8 x 3/4"

SCREW, SELF TAPPING, , Polyseal Cross Pan Hd, #8 x 3/4"

8шт.

10

111239C2

SEAL

inner step LH

1шт.

10

118038C2

SEAL

inner step RH

1шт.

11

109398C1

PLATE

lock striker tapping

2шт.

12

PANEL ASSY, roof weld and caulk, Not serviced separately, Order package 1262416C91

1шт.

445406

SPRING NUT,Tinn, 1/4"-14

14-10 r/p J-spr style I

14шт.

179093

HOLE PLUG BUTTON,9/32"

PHC 9/32"

1шт.

406391C1

PLUG,1"

1.0 plastic hole

2шт.

1276051C1

SELF-TAP SCREW,Cross Pan Hd, 1/4" x 1"

SCREW, 1/4 x 1 polyseal tap

12шт.

143309C1

SELF-TAP SCREW,Cross Pan Hd, #10 - 16 x 1/2"

SCREW, no. 10-16 x 1/2 polyseal tap, quarter panel

10шт.

118664

WASHER, .312 x .734 x .065 phc

12шт.

115109

WASHER,1/4"

1/4"

12шт.

13

1177727C2

ROD, filter retainer

3шт.

14

143006C2

PANEL

roof access

1шт.

111618C1

SCREW

1/4-14 x 3/4 hex-hd washer tapping

14шт.

15

109295C1

GASKET

roof access panel

2шт.

16

10470C1

PANEL, front roof cap cover

1шт.

17

117732C2

GASKET

wiper opening

1шт.

143306C1

SELF-TAP SCREW,Cross Pan Hd, #10 x 1/2"

SCREW, no. 10-16 x 1/2 polyseal

12шт.

18

109485C1

PANEL

hinge pillar lower LH

1шт.

18

109486C1

PANEL

hinge pillar lower RH

1шт.

19

109489C1

PANEL

hinge pillar upper LH

1шт.

19

109490C1

PANEL ASSY.

PANEL, hinge pillar upper RH

1шт.

143309C1

SELF-TAP SCREW,Cross Pan Hd, #10 - 16 x 1/2"

SCREW, no. 10-16 x 1/2 polyseal tap

2шт.

261-1456

SELF-TAP SCREW,Cross Pan Hd, #10 x 3/8"

SCREW, no. 10 x 3/8 polyseal tap

4шт.

20

111581C1

EXTENSION

ASSY, wheel well LH

1шт.

20

111582C1

EXTENSION

ASSY, wheel well RH

1шт.

937059R1

SCREW,Serr, M10 x 70mm, Cl 10.9

1/4-20 x 1/2 slt-truss-hd

2шт.

120393

BEARING WASHER,5/16", SAE

WASHER, .344 x .688 x .051

14шт.

938016R1

FLANGE NUT,Flg, USR, 1/4"-20

1/4 flange lock

14шт.

143309C1

SELF-TAP SCREW,Cross Pan Hd, #10 - 16 x 1/2"

SCREW, no. 10-16 x 1/2 polyseal c/r s/d tap

2шт.

120393

BEARING WASHER,5/16", SAE

WASHER, .344 x .688 x .051

14шт.

21

109491C3

FENDER ASSY.

FENDER ASSY, LH

1шт.

21

109492C3

FENDER ASSY.

FENDER ASSY, RH

1шт.

143088C1

PLUG

9/16 hole, Note C

2шт.

143310C1

SELF-TAP SCREW,Cross Pan Hd, #10 - 24 x 1/2"

SCREW, no. 10 x 1/2 polyseal p/hdcr tap

4шт.

143309C1

SELF-TAP SCREW,Cross Pan Hd, #10 - 16 x 1/2"

SCREW, no. 10-16 x 1/2 polyseal c/r s/d tap

4шт.

120393

BEARING WASHER,5/16", SAE

WASHER, .344 x .688 x .051

4шт.

938017R1

FLANGE NUT,Flg, USR, 5/16"-18

5/16 flange lock

18шт.

180077

BOLT,Hex, 5/16" - 18 x 3/4", Gr 5

5/16 x 3/4 type 5

4шт.

492-11025

LOCK WASHER,1/4"

WASHER, LOCK, 1/4"

4шт.

120375

NUT,Hex, 1/4" - 20, Gr 5

4шт.

172487

SCREW,Hex, 3/8" - 16 x 1"

3/8 x 1 h/hd tap

4шт.

120382

LOCK WASHER,Helical Spring, 3/8"

WASHER, LOCK, 3/8"

4шт.

22

111562C2

PANEL

rear lamp LH

1шт.

22

111563C2

PANEL

rear lamp RH

1шт.

23

111346C1

PLATE

lock striker trim cover

1шт.

261-1456

SELF-TAP SCREW,Cross Pan Hd, #10 x 3/8"

SCREW, no. 10 x 3/8 polyseal tap

1шт.

24

109194C1

STRIP

qtr panel chrom front, trim

1шт.

27904R1

SCREW,Cross Pan Hd, #10 x 1/2"

no. 10-16 x 1/2 crb c/r s/d tap

2шт.

25

1262166C1

STRIP

qtr panel chrome rear, trim

1шт.

26

143294C1

SEALING STRIP

roof eyebrow, trim

1шт.

27

109271C1

NOISE PROTECTION

INSULATION, door foam LH, For cabs w/black trim interior.

1шт.

27

109272C1

NOISE PROTECTION

INSULATION, door foam RH, For cabs w/black trim interior.

1шт.

28

1267310C1

NOISE PROTECTION

SHEET, side panel insulation, Replaces 1255887C2 by also ordering (1) retainer 1267292C1 and (5) screw 456107C1, For cabs w/western interior.

1шт.

28

1267309C1

NOISE PROTECTION

SHEET, side panel insulation, Replaces 1255889C2 by also ordering (1) retainer 1267292C1 and (5) screw 456107C1, For cabs w/burgundy interior.

1шт.

28

1267308C1

NOISE PROTECTION

SHEET, side panel insulation, Replaces 1255886C2 by also ordering (1) retainer 1267292C1 and (5) screw 456107C1, For cabs w/black trim interior.

1шт.

29

1250442C2

SHEET

rear panel insulation, For cabs w/western interior.

1шт.

29

143468C2

NOISE PROTECTION

SHEET, rear panel insulation, For cabs w/burgundy interior.

1шт.

29

143064C3

NOISE PROTECTION

SHEET, rear panel insulation, For cabs w/black trim interior.

1шт.

30

1255896C1

NOISE PROTECTION

SHEET, insulation filler, For cabs w/western interior.

1шт.

30

1255895C1

SHEET

insulation filler, For cabs w/burgundy interior.

1шт.

30

1255894C1

NOISE PROTECTION

SHEET, insulation filler, For cabs w/black trim interior.

1шт.

31

109290C6

NOISE PROTECTION

INSULATION, roof access cover

1шт.

32

111529C1

SEAL

, Serial Range: roof-fender

1шт.

33

111396C1

ASH TRAY

TRAY, ash

1шт.

34

66518C1

MIRROR

rear view

1шт.

120376

NUT,5/16"-18, G5

1шт.

623083R1

WASHER

5/16 cad LHTW lock

1шт.

35

1255897C2

SUPPORT

battery, 3088, 3288 and 3688 tractors

2шт.

35

1255707C2

SUPPORT, battery, 3688HC tractors

2шт.

36

1255815C1

ARM

ASSY, windhsield wiper

1шт.

37

109225C1

WINDSHIELD WIPER

BLADE ASSY, flex windshield wiper

1шт.

38

SEAL, fender edge, Furnish 3 in. from bulk roll marked 198578C1

2шт.

534441R1

FLUID

ADHESIVE, misc. trim and seal repair

1шт.

1251830C1

PRODUCT GRAPHIC

IH trademark emblem

1шт.

30841R1

SCREW,Cross Pan Hd, M4 x 8

M4 x 8 phc class 4.8 p/hdcr

2шт.

111480C3

DECAL

PRODUCT GRAPHIC, cab safety caution

1шт.

70571C1

DECAL

PRODUCT GRAPHIC, rops safety caution instructions

1шт.

1262416C91

TOP

PACKAGE, fully trimmed roof assy, Consists of Ref. 13, 17, 24, 25 and 32 plus

1шт.

PANEL ASSY, roof weld and caulk (NSS)

1шт.

445406

SPRING NUT,Tinn, 1/4"-14

14-10 r/p J-spr style I

14шт.

179093

HOLE PLUG BUTTON,9/32"

PHC 9/32"

1шт.

1276051C1

SELF-TAP SCREW,Cross Pan Hd, 1/4" x 1"

SCREW, 1/4 x 1 polyseal

20шт.

118664

WASHER, .312 x .734 x .065 phc

12шт.

115109

WASHER,1/4"

1/4"

28шт.

406391C1

PLUG,1"

1.0 plastic hole

3шт.

111618C1

SCREW

14шт.

143309C1

SELF-TAP SCREW,Cross Pan Hd, #10 - 16 x 1/2"

SCREW, 10-16 x 1/2 polyseal

1шт.

167096

WASHER

SCREW, no. 10 x 1/2 crb p/hdcr tap

4шт.

172487

SCREW,Hex, 3/8" - 16 x 1"

3/8 x 1 h/hd tap

4шт.

120382

LOCK WASHER,Helical Spring, 3/8"

WASHER, LOCK, 3/8"

4шт.

1262166C1

STRIP

qtr panel chrome rear, trim

1шт.

109269C1

STRIP

roof eyebrow, trim

1шт.

109586C1

PAD

rear window hinge

1шт.

1276117C1

SELF-TAP SCREW,Cross Pan Hd, 1/4" x 3/4"

SCREW, 1/4 x 3/4 polyseal

8шт.

109592C1

PAD

quarter window hinge

2шт.

118122C1

SEAL

quarter window hinge

2шт.

118144C1

SEAL

air intake rear long

2шт.

118145C1

SEAL

air intake rear short

2шт.

111662C2

EMBLEM CASE/IH

EMBLEM ASSY, IH trademark

2шт.

111690C1

FASTENER

push grip

4шт.

INSTRUCTIONS (NSS)

1шт.

Выбрано товаров: 137