Запчасти Case IH 3088 (08-19) - ELECTRICAL, NON-ROPS ELECTRICAL WIRING, 3088 TRACTORS ONLY (06) - ELECTRICAL

Схема запчастей Case IH 3088 - (08-19) - ELECTRICAL, NON-ROPS ELECTRICAL WIRING, 3088 TRACTORS ONLY (06) - ELECTRICAL
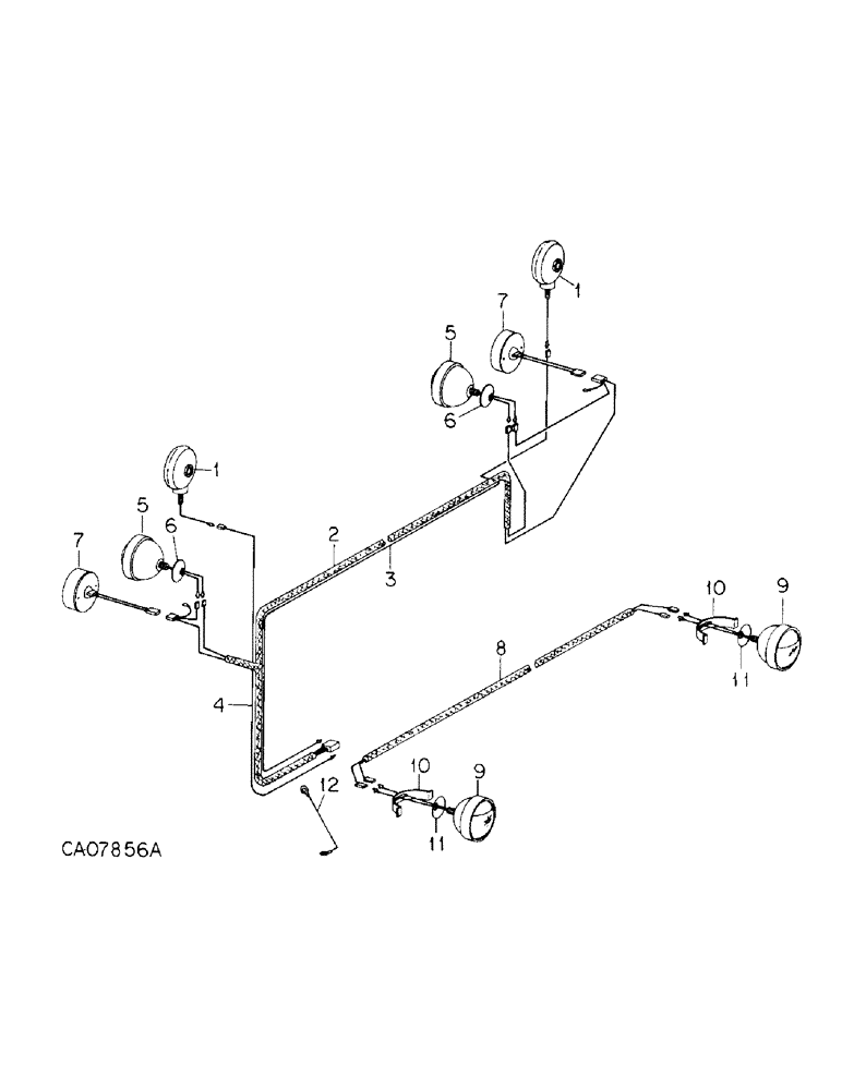
10
12
2
3
10
5
1
7
8
1
6
9
4
7
1
9
5
11
1
6
FIT
1:1
100%

Артикул

Название

Примечание

Количество

1

67538C92

HEADLIGHT

LIGHT ASSY, flashing warning, Only service part is

2шт.

9417866

BULB,C6, #1156, 12.8V

LAMP, type C-6 trade #1156

1шт.

120371

NUT,1/2"-20, G5

2шт.

2

146513C2

HARNESS

ASSY, fender lights, 3088 w/Serial no. 1008 and below, 3288 w/Serial no. 1322 and below, 3688 w/Serial no. 2516 and below

1шт.

2

245179C1

HARNESS

ASSY, fender lights, 3088 w/Serial no. 1009 and above, 3288 w/Serial no. 1323 and above, 3688 w/Serial no. 2517 and above

1шт.

111619C1

STRAP

adjustable

2шт.

178532

LOCK WASHER,Ext-Int Tooth, 5/16"

WSAHER, 5/16 ext-int tooth lock

2шт.

169850C1

CLIP

1шт.

178532

LOCK WASHER,Ext-Int Tooth, 5/16"

WASHER, 5/16 ext-int tooth lock

2шт.

142350

GROMMET,7/8" ID x 1 5/8" x .125", Diag Cut

7/8 x 1-9/16 x 3/4 d/c rub, .25 ID x 1.562 OD

2шт.

376254R1

GROMMET

rubber, 1.5 ID x 2.38 OD

2шт.

370383R1

CLIP

rear lamp harness

1шт.

3

1250549C1

CABLE

LH turn signal, 3088 w/Serial no. 1008 and below, 3288 w/Serial no. 1322 and below, 3688 w/Serial no. 2516 and below

1шт.

3

1280010C1

CABLE

LH turn signal, 3088 w/Serial no. 1009 and above, 3288 w/Serial no. 1323 and above, 3688 w/Serial no. 2517 and above

1шт.

4

1250550C1

CABLE

RH turn signal, 3088 w/Serial no. 1008 and below, 3288 w/Serial no. 1322 and below, 3688 w/Serial no. 2516 and below

1шт.

4

1280009C1

CABLE

RH turn signal, 3088 w/Serial no. 1009 and above, 3288 w/Serial no. 1323 and above, 3688 w/Serial no. 2517 and above

1шт.

5

388945R91

HEADLIGHT

LAMP ASSY, flood and tail, Only serviceable parts are

2шт.

373662R91

LAMP

type C-6 trade #4411, or

1шт.

131508C1

LAMP BASE

LAMP, replacement #H7610

1шт.

676078R1

RETAINER

shock proof light

1шт.

6

388947R1

RETAINER

lamp

2шт.

120238

JAM NUT,Jam, 1/2"-13, G5

1/2 jam type 5

2шт.

7

131183C91

STOP LIGHT

LAMP ASSY, tail

2шт.

24396R1

SELF-TAP SCREW,Cross Pan Hd, #10 x 3/4"

SCREW, no. 10-16 x 3/4 p/hdcr tap

4шт.

8

120158C1

HARNESS

ASSY, front flood lights

1шт.

9

107352C91

LAMP BASE

LAMP ASSY, front flood light, Only serviceable parts are

2шт.

390756R91

LAMP

LIGHT, seal beam unit, or

1шт.

131203C1

LAMP

replacement flood

1шт.

676078R1

RETAINER

lamp

1шт.

10

117723C1

STRAP

lamp retainer

2шт.

11

388947R1

RETAINER

lamp

2шт.

120384

WASHER,1/2"

LOCK, 1/2"

2шт.

120378

NUT,Hex, 1/2" - 13, Gr 5

NUT, 1/2"-13, G5

2шт.

12

537055R1

CABLE

ASSY, Serial Range: tractor-ground

1шт.

178556

WASHER,Ext-Int Tooth, 7/16"

3/8 ext-int tooth lock

1шт.

Выбрано товаров: 35