Запчасти Case IH 3088 (10-53) - HYDRAULICS, HYDRAULIC DRAFT CONTROL LINKAGE, CAT. II, 3088, 3288 AND 3688HC TRACTORS (07) - HYDRAULICS

Схема запчастей Case IH 3088 - (10-53) - HYDRAULICS, HYDRAULIC DRAFT CONTROL LINKAGE, CAT. II, 3088, 3288 AND 3688HC TRACTORS (07) - HYDRAULICS
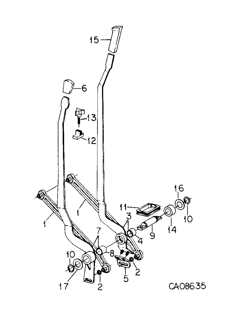
15
16
13
10
9
1
17
2
10
12
1
3
14
4
7
11
5
2
6
8
FIT
1:1
100%

Артикул

Название

Примечание

Количество

1

120314C2

ROD

ASSY, draft and position control

2шт.

180080

BOLT,Hex, 5/16" - 18 x 1 1/8", Gr 5, Full Thd

5/16 x 1-1/8 type 5

4шт.

9413952

LOCK NUT,5/16"-18, GB

NUT, 5/16 phc p/t lock type 5

2шт.

938017R1

FLANGE NUT,Flg, USR, 5/16"-18

5/16-18 serrated washer hd

2шт.

2

532409R1

SPRING WASHER

serrated spring steel

2шт.

3

1280102C91

HANDLE

ASSY, position control, Includes Ref. 4

1шт.

4

144003C1

BUSHING

valve operating lever

1шт.

5

1253150C1

SUPPORT

position handle extension

1шт.

30986R1

NUT,M8 x 1.25, Flg, Cl 8

M10 class 10 h/flg

2шт.

6

1259760C1

BALL KNOB

KNOB, draft control handle

1шт.

7

130696C91

HANDLE

ASSY, draft control, Includes Ref. 8

1шт.

8

383236R1

BUSHING,19.15mm ID x 20.65mm OD x 25.4mm L

draft control handle shaft

1шт.

9

104532C2

SHAFT

control pivot

1шт.

931143R1

BOLT,Hex, M10 x 1.5 x 20mm, Cl 8.8, Full Thd

M10 x 20 pln class 8.8

2шт.

10

661652R1

SNAP RING,#75, Ext

2шт.

11

135877C1

SEAL

control

1шт.

12

1259806C1

BAR

ASSY, position control handle

1шт.

20600R1

WASHER

.281 x .750 x .105

1шт.

13

1259821C1

KNOB

fluted

1шт.

14

130702C1

SPACER

pivot shaft

1шт.

15

1259765C1

GRIP

position control handle, Used w/handle, 1280102C91

1шт.

15

1259760C1

BALL KNOB

KNOB, position control handle, Used w/handle, 1253118C93

1шт.

16

16066R1

WASHER

.781 x 1.500 x .054 pln, 1 required for inner position

1шт.

17

16066R1

WASHER

.781 x 1.500 x .054 pln, As required for outer position

1шт.

Выбрано товаров: 24