Запчасти Case IH 3288 (12-09) - POWER, MAIN FUEL TANK AND SUPPORTS Power

Схема запчастей Case IH 3288 - (12-09) - POWER, MAIN FUEL TANK AND SUPPORTS Power
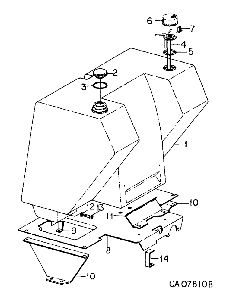
12
10
6
14
3
9
5
7
1
2
11
4
13
10
8
FIT
1:1
100%

Артикул

Название

Примечание

Количество

1

130449C91

TANK

ASSY, fuel

1шт.

2

104781C1

CAP

fuel tank filler

1шт.

2

224839C91

CAP

ASSY, fuel tank filler, 3088 tractors equipped with non-rops frame

1шт.

3

23977DD

GASKET,47.5mm ID x 65.89mm OD x 2.39mm Thk

fuel tank filler cap

1шт.

4

107374C2

ELECTRICAL GAUGE

GAGE, electric fuel, sending unit, tractors w/o auxiliary fuel tank

1шт.

4

107531C2

ELECTRICAL GAUGE

GAGE, electric fuel, sending unit, tractors w/auxiliary fuel tank

1шт.

5

104812C1

GASKET

sending unit

1шт.

4234546

SCREW, no. 10 x 3/4 znp h/hd l/w mach

5шт.

6

120194C1

CAP

fuel gauge sending unit

1шт.

7

120193C2

CLAMP

cap mounting, bracket

1шт.

261-1458

SELF-TAP SCREW,Cross Pan Hd, #10 x 1/2"

no. 10 x 1/2 p/hdcr tap

1шт.

8

130226C2

SUPPORT

ASSY, fuel tank

1шт.

179837

BOLT,Hex, 3/8" - 16 x 3/4", Gr 5

1шт.

619008R1

BOLT

1/2 x 1 pln crg type 5

4шт.

102637

NUT,1/2"-13, G5

4шт.

9

130225C1

SUPPORT

fuel tank front, bracket

1шт.

179812

GEAR

5/16 x 1/2 pln type 5

2шт.

10

130224C1

SUPPORT

bracket

2шт.

930051R1

BOLT,Hex, M10 x 1.5 x 40mm, Cl 8.8

M10 x 40 pln class 8.8

4шт.

30184R1

WASHER,M10 x 24.5 x 3, HT

10.8 x 24 x 3 mm phc

4шт.

30168R1

NUT,M10, Cl 10

M10 phc class 10

4шт.

11

130253C1

BRACKET

fuel tank hold down

1шт.

30021R1

BOLT,Hex, M10 x 1.5 x 30mm, Cl 10.9, Full Thd

PHC Hex, M10 x 30, 10.9, Full Thd

2шт.

933965R1

LOCK WASHER,M10

2шт.

30184R1

WASHER,M10 x 24.5 x 3, HT

10.8 x 24 x 3 mm phc

2шт.

12

120156C1

NUT

fuel tank, well

1шт.

536652R1

WASHER,11.13mm ID x 28.57mm OD x 1.22mm Thk

1шт.

13

120157C1

CONNECTOR, ELEC

CONNECTOR, fuel tank, stud

1шт.

14

104722C1

CHANNEL

rear tank support

1шт.

202013C2

TRAFFIC SIGN

PRODUCT GRAPHIC, SMV emblem

1шт.

144261C2

FASTENER

SMV hold down

3шт.

Выбрано товаров: 31