Запчасти Case IH 3288 (12-14) - POWER, AUXILIARY FUEL TANK CONNECTIONS, 3088 AND 3288 TRACTORS WITH AUXILIARY FUEL TANK Power

Схема запчастей Case IH 3288 - (12-14) - POWER, AUXILIARY FUEL TANK CONNECTIONS, 3088 AND 3288 TRACTORS WITH AUXILIARY FUEL TANK Power
21
5
15
20
8
3
9
10
12
1
14
4
12
13
5
2
19
3
6
16
7
11
17
5
18
FIT
1:1
100%

Артикул

Название

Примечание

Количество

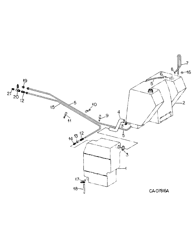
1

TANK ASSY, auxiliary fuel, Refer to auxiliary fuel tank and supports in this group

1шт.

2

TANK ASSY, fuel, Refer to main fuel tank and supports in this group

1шт.

3

681209C1

HOSE CLAMP,#32, 1.56/2.50 Type F Worm, W/liner

CLAMP, no. 32 shoe type F hose

2шт.

4

130275C2

FUEL HOSE

HOSE, aux fuel tank

1шт.

5

TUBE, fuel line return, Use 102 in. of 3/8 OD nylon tube from bulk roll marked 74813C1

1шт.

6

872436R1

HOSE CLAMP,#6, 3/8", Spring

CLAMP, no. 6 type E spring wire hose

1шт.

7

TUBE, fuel tank vent, Use 48 in. of 1/4 OD nylon tube from bulk roll marked 74812C1

1шт.

8

28068R1

HOSE CLAMP,#4, 1/4", Spring

CLAMP, no 4 type E spring wire hose

1шт.

9

120160C2

CLIP

fuel lines

1шт.

95-11041

WASHER,3/8"

(.406 x .812 x .051 pln) 3/8"

1шт.

18778R1

SCREW,Hex, 3/8"-16 x 3/4", G2

BOLT, 3/8 x 3/4 type 1

1шт.

10

380053R1

CLIP, fuel lines

1шт.

11

120161C1

CLIP

fuel lines

1шт.

95-11041

WASHER,3/8"

(.406 x .812 x .051 pln) 3/8"

1шт.

18778R1

SCREW,Hex, 3/8"-16 x 3/4", G2

BOLT, 3/8 x 3/4 type 1

1шт.

12

184820H1

CONNECTOR, ELEC

CONNECTOR, 1/2 x 1/4 male

2шт.

13

130306C1

VALVE

shut-off

1шт.

14

130307C1

CONNECTOR, ELEC

CONNECTOR, 3/8 x 1/4

1шт.

15

TUBE, aux tank shut-off valve to fuel filters, Use 25 in. of 1/2 OD nylon tube from bulk roll marked 71814C1

1шт.

16

374903R1

CLIP

fuel tank vent tube

1шт.

17

104465C1

DRAIN VALVE

VALVE, fuel tank drain

1шт.

18

TUBE, aux tank drain, Use 2.25 in. of 3/8 OD nylon tube from bulk roll marked 74813C1

1шт.

19

133049H1

CONNECTION

CONNECTOR, 3/8 x 1/4 male return

1шт.

20

303753R91

PUMP

VALVE, hand primer, See hand primer valve this group for list of components

1шт.

21

443979

HYD CONNECTOR

NIPPLE, 1/4-18 znp auto pipe

1шт.

Выбрано товаров: 25