Запчасти Case IH 3288 (13-13) - SUPERSTRUCTURE, DELUXE HYDRAULIC SEAT, BLACK OR BURGUNDY INTERIOR CAB (05) - SUPERSTRUCTURE

Схема запчастей Case IH 3288 - (13-13) - SUPERSTRUCTURE, DELUXE HYDRAULIC SEAT, BLACK OR BURGUNDY INTERIOR CAB (05) - SUPERSTRUCTURE
10
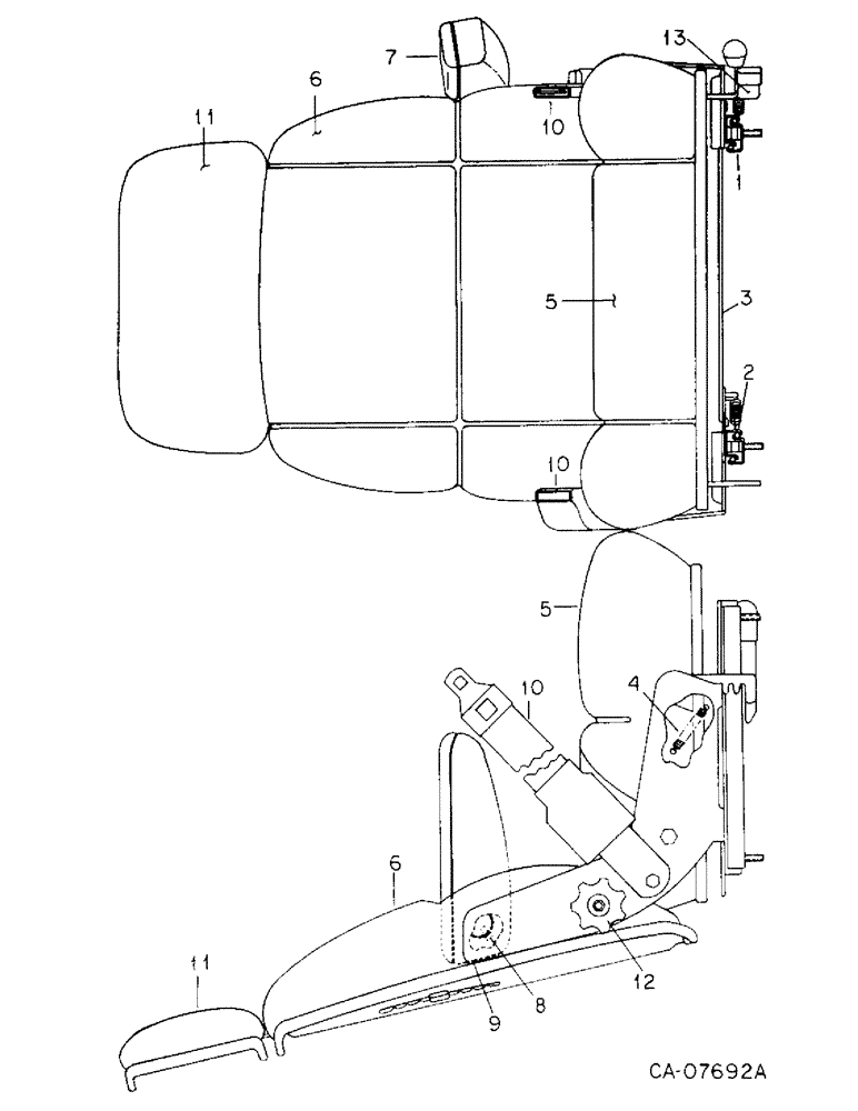
1
6
13
8
5
9
10
3
12
10
6
11
2
7
5
4
11
FIT
1:1
100%

Артикул

Название

Примечание

Количество

1250603C92

SEAT ASSY.

SEAT ASSY, hydraulic, burgundy

1шт.

1

1255794C1

SLIDE

ASSY w/handle

1шт.

2

139064C1

SLIDE

ASSY w/o handle

1шт.

3

139066C1

ROD

latch connecting

1шт.

4

64926C1

SPRING

slide adjuster

2шт.

5

143430C1

SEAT

CUSHION, seat

1шт.

6

143431C1

SEAT

CUSHION, back

1шт.

7

1262346C1

KIT

ARMREST ASSY, LH

1шт.

8

139067C1

SCREW,1/4" - 20 x 0.38"

armrest stop

2шт.

9

1262347C1

PLATE

cover LH

1шт.

27959R1

SELF-TAP SCREW,Cross Pan Hd, #10 x 1 1/2"

SCREW, no. 10-16 x 1-1/2 phc p/hdcr tap

1шт.

10

143434C1

BELT

Seat

1шт.

11

143435C1

CUSHION

upper backrest, Not furnished as part of seat

1шт.

12

1267543C1

KNOB

ASSY, backrest adj

2шт.

13

1267544C1

LEVER

ASSY, seat tilt

1шт.

Выбрано товаров: 15