Запчасти Case IH 3294 (3-052) - FUEL INJECTION SYSTEM, 504BDT DIESEL ENGINE (03) - FUEL SYSTEM

Схема запчастей Case IH 3294 - (3-052) - FUEL INJECTION SYSTEM, 504BDT DIESEL ENGINE (03) - FUEL SYSTEM
17
16
16
1
7
8
17
25
17
11
6
5
27
17
26
4
3
22
8
12
2
11
9
15
23
24
12
8
13
13
10
FIT
1:1
100%

Артикул

Название

Примечание

Количество

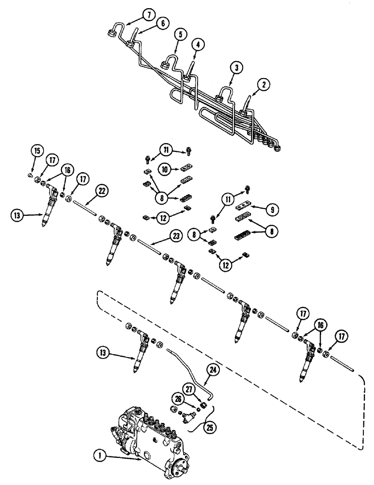
1

REF

INSTRUCTION

PUMP - fuel injection (See Figure 3-048)

1шт.

2

A156885

TUBE

ASSEMBLY - fuel injection, no. 1 cylinder

1шт.

3

A156886

TUBE

ASSEMBLY - fuel injection, no. 2 cylinder

1шт.

4

A156887

TUBE

ASSEMBLY - fuel injection, no. 3 cylinder

1шт.

5

A156888

TUBE

ASSEMBLY - fuel injection, no. 4 cylinder

1шт.

6

A156889

TUBE

ASSEMBLY - fuel injection, no. 5 cylinder

1шт.

7

A156890

PIPE

TUBE ASSEMBLY - fuel injection, no. 6 cylinder

1шт.

8

A58709

BRACKET

- injection tube

14шт.

9

A58708

PLATE

- injection tube bracket (For 6 lines)

1шт.

10

A58710

PLATE

- injection tube bracket (For 4 lines)

1шт.

11

163-19

SCREW,Sl Hex Wshr Hd, #10 - 24 x 1"

- hex slotted, no. 10 NC x 1 inch

7шт.

12

131-612

SPRING NUT,Flat, #10 - 24, 0.022" Thk

NUT - Tinnerman, no. 10 NC

7шт.

13

REF

INSTRUCTION

NOZZLE - fuel injection (See Figure 3-054)

6шт.

15

47-37

RIVET,FH, 3/16" x 7/16"

- flat head, 3/16 x 7/16 inch

1шт.

16

222-101

SLEEVE,3/16" Tube

- for 3/16 inch (5 MM) tube

12шт.

17

222-111

TUBE NUT,7/16" - 24

NUT - for 3/16 inch (5 MM) tube

12шт.

22

A76642

TUBE

- leak off, 4-13/16 inch (122 MM) long

3шт.

23

A76641

TUBE

- leak off 5-3/4 inch (146 MM) long

2шт.

24

A153816

TUBE

- leak off, no. 1, Serial Range: nozzle-valve

1шт.

25

A59097

VALVE

ASSEMBLY - restrictor, leak off, Includes: Ref. 26 and 27

1шт.

26

222-102

SLEEVE,1/4" Tube

(6 mm) tube 1/4" Tube

2шт.

27

87017024

TUBE NUT,1/2"-24

NUT - for 1/4 inch (6 MM) tube

2шт.

Выбрано товаров: 0