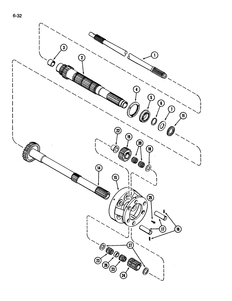
Запчасти Case IH 3394 (6-32) - TRANSMISSION, PLANETARY, 12 SPEED TRANSMISSION (06) - POWER TRAIN

Схема запчастей Case IH 3394 - (6-32) - TRANSMISSION, PLANETARY, 12 SPEED TRANSMISSION (06) - POWER TRAIN
4
14
15
24
11
6
20
23
26
19
2
7
23
5
27
16
1
22
17
25
18
3
FIT
1:1
100%

Артикул

Название

Примечание

Количество

1

A152396

SHAFT

- PTO drive, front

1шт.

2

A168983

SHAFT

ASSEMBLY - planetary output (Replaces A182225), Includes: Ref. 3

1шт.

3

A76228

BUSHING,34.87mm ID x 41.31mm OD x 25.4mm L

- input shaft support

1шт.

4

A146603

RETAINER

- carrier bearing

1шт.

5

A63109

BEARING, BALL

BEARING - ball, with retaining ring

1шт.

6

A7611

SNAP RING,#175, Ext

Ring, Snap, , shaft locating #175, Ext

1шт.

7

A54021

WASHER

RACE - thrust, 1-3/4 x 2-1/2 x 3/32 inch (44 x 64 x 2 MM)

1шт.

11

A154648

THRUST BEARING,44.5mm ID x 66.04mm OD x 2.69mm W

BEARING - needle, thrust, flanged

1шт.

14

A179599

SHAFT

- planetary input drive

1шт.

15

A168196

CARRIER

- planetary

1шт.

16

38-31212

PIN,3/16" x 3/4", Coiled

6шт.

17

A168912

PIN,25.4mm OD x 105.28mm L

- planetary gear

6шт.

18

A150410

SPACER

RACE - thrust, planetary gear

3шт.

19

A179099

GEAR

- planetary, short (Replaces A148352)

3шт.

20

A58069

NEEDLE BEARING,25.39mm ID x 33.37mm OD x 19.05mm W

BEARING - needle, 3/4 inch wide

6шт.

22

A151046

SPACER

- flanged, short planetary gear

3шт.

23

A62543

NEEDLE BEARING,25.39mm ID x 33.36mm OD x 31.56mm W

BEARING - needle, 1-1/4 inch wide

6шт.

24

A179196

GEAR

- planetary, long (Replaces A148353)

3шт.

25

62-32510

HEX SOC SCREW,1/4" - 28 x 3/8"

SCREW - hex socket head, 1/4 NF x 5/8 inch

3шт.

26

A146606

SPACER

- bearing

3шт.

27

A58070

WASHER,25.45mm ID x 44.45mm OD x 0.76mm Thk

RACE - thrust, planetary gear

6шт.

Выбрано товаров: 21