Запчасти Case IH 3488 (08-19) - ELECTRICAL, CONTROL CENTER TEMPERATURE CONTROLS AND CONNECTIONS, TRACTOR WITH DELUXE CONTROL CENTER (06) - ELECTRICAL

Схема запчастей Case IH 3488 - (08-19) - ELECTRICAL, CONTROL CENTER TEMPERATURE CONTROLS AND CONNECTIONS, TRACTOR WITH DELUXE CONTROL CENTER (06) - ELECTRICAL
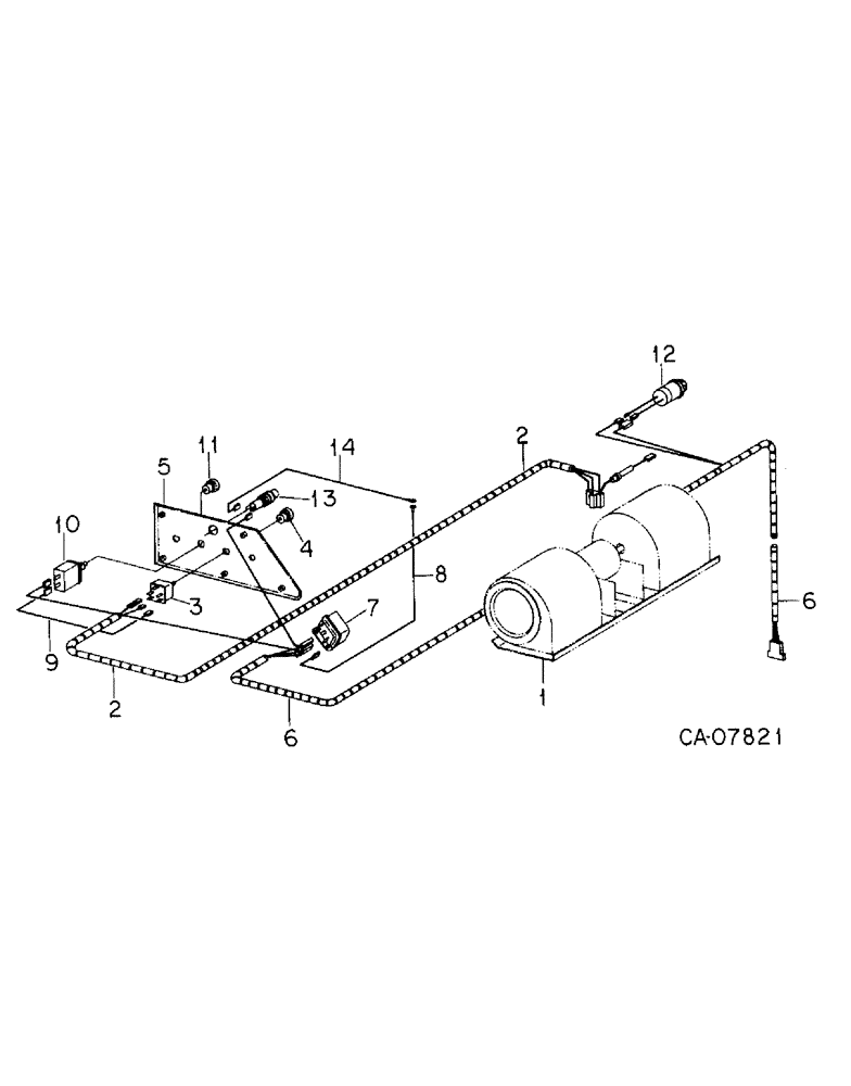
2
14
5
9
8
4
13
6
10
3
7
2
11
1
12
6
FIT
1:1
100%

Артикул

Название

Примечание

Количество

1

BLOWER ASSY pressurizer, Refer to evaporator-heater core, blower and related parts, group13

1шт.

2

1255875C1

HARNESS

ASSY blower motor

1шт.

25471R1

FUSE,20 Amp, Type 8AG

8AG, 20 amp

1шт.

3

168822C2

SWITCH

pressurizer blower

1шт.

109311H

JAM NUT

hex face, 7/16-28

1шт.

4

111282C1

KNOB

blower control

1шт.

5

111400C1

PANEL

control trim a/c

1шт.

27689R1

SELF-TAP SCREW,Cross Oval Hd, #8 x 1 3/4"

SCREW, No. 8-18 x 1-3/4 phc o/hdcr tap

5шт.

6

1262093C1

HARNESS

air conditioner

1шт.

7

437882C1

RELAY

a/c lockout

1шт.

8

111263C3

CABLE

ASSY ground lockout relay

1шт.

27904R1

SCREW,Cross Pan Hd, #10 x 1/2"

No. 10-16 x 1/2 crb c/r s/d tap

1шт.

9

111229C1

CABLE

ASSY blower-thermostat switch

1шт.

10

109268C2

SWITCH

blower-thermostat

1шт.

109311H

JAM NUT

hex face, 7/16-28

2шт.

11

111282C1

KNOB

cooling control

1шт.

12

111267C3

SWITCH

low pressure

1шт.

13

109369C91

LIGHT ASSY.

LAMP ASSY a/c indicator, Only servicable items are

1шт.

71652C1

LENS

1шт.

200557H1

BULB,C2V, #1815, 14V

LAMP type C-ZV, trade No. 1815

1шт.

14

111263C3

CABLE

ASSY indicator light ground

1шт.

27904R1

SCREW,Cross Pan Hd, #10 x 1/2"

No. 10-16 x 1/2 crb c/r s/d tap

1шт.

Выбрано товаров: 22