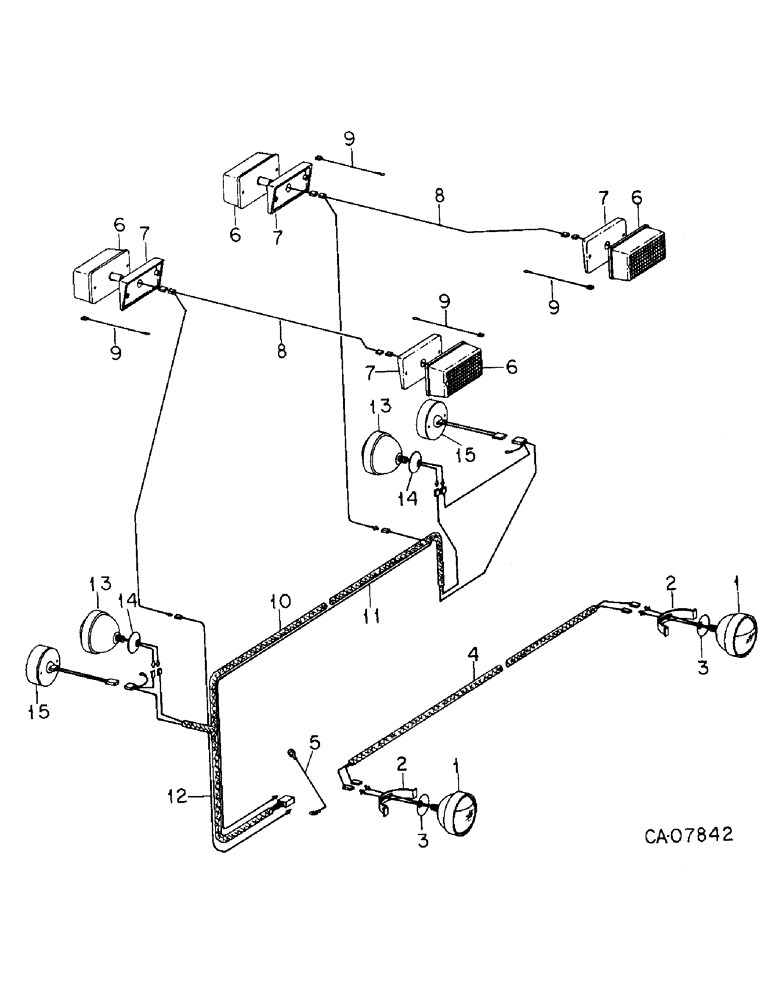
Запчасти Case IH 3488 (08-23) - ELECTRICAL, ROPS ELECTRICAL WIRING (06) - ELECTRICAL

Схема запчастей Case IH 3488 - (08-23) - ELECTRICAL, ROPS ELECTRICAL WIRING (06) - ELECTRICAL
11
6
15
9
8
15
8
1
3
4
5
7
9
13
14
12
14
2
6
7
1
10
7
7
3
9
9
6
6
13
2
FIT
1:1
100%

Артикул

Название

Примечание

Количество

1

107352C91

LAMP BASE

LAMP ASSY front flood light, Only servicable parts are

2шт.

39756R91

LIGHT sealed beam unit, OR

1шт.

131203C1

LAMP

replacement flood

1шт.

676078R1

RETAINER

shock proof light

1шт.

2

117723C1

STRAP

lamp retainer

2шт.

3

388947R1

RETAINER

lamp

2шт.

120384

WASHER,1/2"

LOCK, 1/2"

2шт.

120378

NUT,Hex, 1/2" - 13, Gr 5

NUT, 1/2"-13, G5

2шт.

4

120158C1

HARNESS

ASSY front flood lights

1шт.

5

537055R1

CABLE

ASSY tractor to cab ground

1шт.

178556

WASHER,Ext-Int Tooth, 7/16"

lock, external-internal tooth, 3/8

1шт.

6

130882C91

LAMP

LIGHT ASSY combination flash/turn signal, Only servicable parts are

4шт.

9417866

BULB,C6, #1156, 12.8V

LAMP, No. 1156, 12 volt

1шт.

130883C1

LENS

1шт.

143306C1

SELF-TAP SCREW,Cross Pan Hd, #10 x 1/2"

SCREW, No. 10-16 x 1/2 polyseal p/hdcr tap

12шт.

1276059C1

SELF-TAP SCREW,Pan HD, #10 - 16 x 3"

SCREW, SELF-TAPPING, , polyseal p/hdcr tap Cross Pan Hd, #10 x 2 1/2"

4шт.

7

118019C1

BLOCK

lamp support

2шт.

1276060C1

SELF-TAP SCREW,Cross Pan Hd, #10 x 3"

SCREW, No.10-16 x 3 polyseal p/hdcr tap

4шт.

8

118020C1

CABLE

ASSY turn signal light

2шт.

111623C1

GROMMET

rubber, 1.3 OD x 0.10 ID

2шт.

9

111264C3

CABLE

ASSY ground

4шт.

456107C1

SELF-TAP SCREW,Cross Pan Hd, #10 x 1/2"

SCREW, No. 10-16 x 1/2 phc c/r s/d tap

2шт.

178378

LOCK WASHER,Ext-Int Tooth, #10

WASHER lock, external-internal tooth, No. 10

2шт.

328388C1

SCREW,Cross Pan Hd, #10 x 1/2"

No. 10-16 x 1/2 cad c/r s/d tap

2шт.

10

146513C2

HARNESS

ASSY fender lights, Serial Range: -737

1шт.

10

245179C1

HARNESS

ASSY fender lights, Start Serial: 738

1шт.

111619C1

STRAP

adjustable

2шт.

178532

LOCK WASHER,Ext-Int Tooth, 5/16"

WASHER lock, external-internal tooth, 5/16

2шт.

16850C1

CLIP

1шт.

178532

LOCK WASHER,Ext-Int Tooth, 5/16"

WASHER lock, external-internal tooth, 5/16

2шт.

142350

GROMMET,7/8" ID x 1 5/8" x .125", Diag Cut

rubber, 0.25 ID x 1.562 OD

1шт.

376254R1

GROMMET

rubber, 1.5 ID x 2.38 OD

1шт.

370383R1

CLIP

rear lamp harness

2шт.

11

1250549C1

CABLE

left turn signal, Serial Range: -737

1шт.

11

1280010C1

CABLE

left turn signal, Start Serial: 738

1шт.

12

1250550C1

CABLE

right turn signal, Serial Range: -737

1шт.

12

1280009C1

CABLE

right turn signal, Start Serial: 738

1шт.

13

388945R91

HEADLIGHT

LIGHT ASSY rear flood, Only servicable parts are

2шт.

373662R91

LAMP

No. 4411, OR

1шт.

131508C1

LAMP BASE

LAMP, No. H7610

1шт.

676078R1

RETAINER

1шт.

14

388947R1

RETAINER

lamp

2шт.

120238

JAM NUT,Jam, 1/2"-13, G5

1/2 jam type 5

2шт.

15

131183C91

STOP LIGHT

LIGHT ASSY tail

2шт.

24396R1

SELF-TAP SCREW,Cross Pan Hd, #10 x 3/4"

SCREW, No. 10-16 x 3/4 p/hdcr tap

4шт.

Выбрано товаров: 45