Запчасти Case IH 3488 (08-27) - ELECTRICAL, RADIO EQUIPMENT, AM-FM-CB MULTIPLEX (06) - ELECTRICAL

Схема запчастей Case IH 3488 - (08-27) - ELECTRICAL, RADIO EQUIPMENT, AM-FM-CB MULTIPLEX (06) - ELECTRICAL
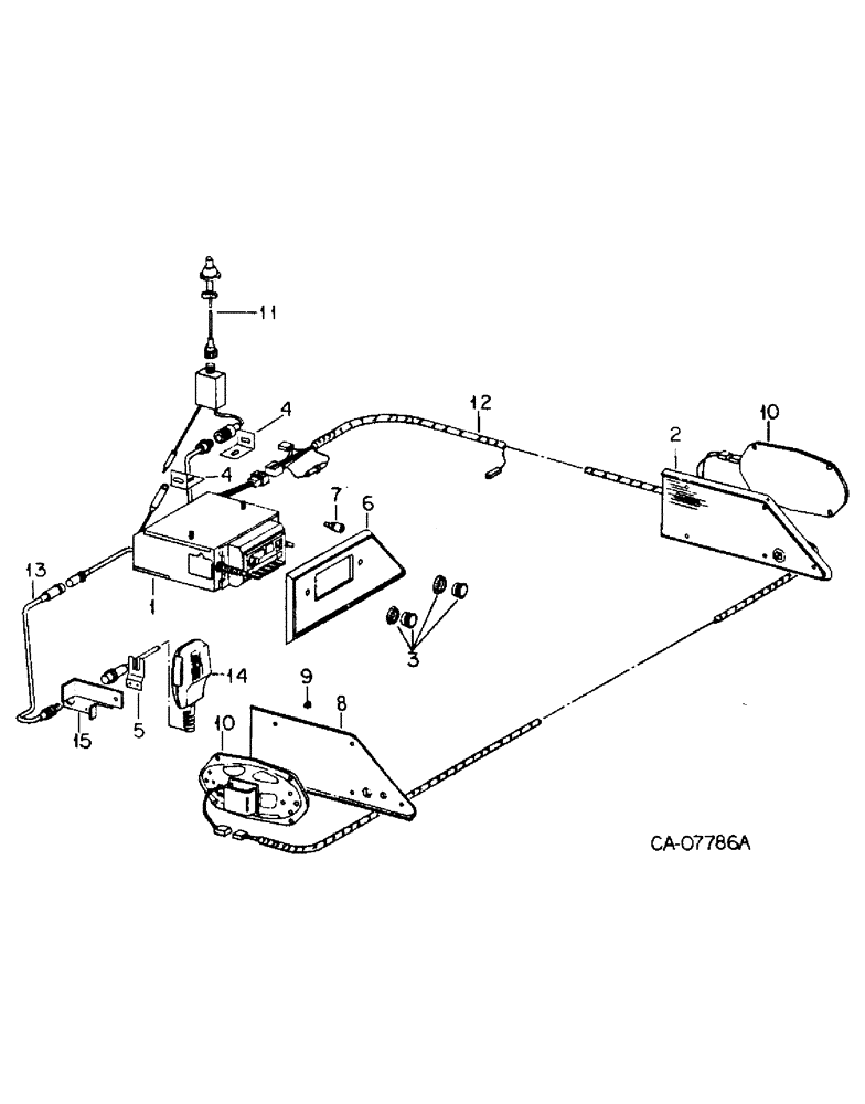
2
11
3
14
5
13
4
12
9
15
1
7
8
4
6
10
10
FIT
1:1
100%

Артикул

Название

Примечание

Количество

142947C93

RADIO

PART accessory, AM-FM-CB MPX

1шт.

1

143328C1

RADIO

AM-FM-CB MPX

1шт.

142920C1

WASHER

shaft

2шт.

142974C1

NUT

small shaft, M9 x .75

2шт.

142945C1

STUD adapter

1шт.

174916

LOCK WASHER,Ext-Int Tooth, 1/4"

WASHER lock, external-internal tooth, 1/4

1шт.

120375

NUT,Hex, 1/4" - 20, Gr 5

1шт.

2

111403C1

PANEL

speaker trim, right

1шт.

1276052C1

SELF-TAP SCREW,Cross Oval Hd, #8 x 1 3/4"

SCREW, No. 8-18 x 1-3/4 polyseal o/hdcr tap

5шт.

3

117993C1

PACKAGE

KIT radio control knobs, Consists of

1шт.

NSS

NOT SOLD SEPARAT

KNOB chrome

2шт.

NSS

NOT SOLD SEPARAT

KNOB volume

1шт.

NSS

NOT SOLD SEPARAT

KNOB tuning

1шт.

4

117818C1

ANGLE

radio mtg

2шт.

18653R1

BOLT,Hex, 1/4" - 20 x 1/2", Gr 2

1/4 x 1/2 type 1

2шт.

492-11025

LOCK WASHER,1/4"

WASHER, LOCK, 1/4"

1шт.

120375

NUT,Hex, 1/4" - 20, Gr 5

5шт.

5

118598C1

CLIP

microphone mtg

1шт.

142937C1

SCREW,Phil Pan Hd, #8 - 18 x 1/2"

No. 8-18 x 1/2 cr tap

2шт.

6

1252433C1

PANEL radio trim

1шт.

1276052C1

SELF-TAP SCREW,Cross Oval Hd, #8 x 1 3/4"

SCREW, No. 8-18 x 1-3/4 polyseal o/hdcr tap

5шт.

7

117995C1

PACKAGE

KIT trim panel fastener, Consists of 5 fasteners

3шт.

8

111402C2

PANEL

speaker trim, left

1шт.

1276052C1

SELF-TAP SCREW,Cross Oval Hd, #8 x 1 3/4"

SCREW, No. 8-18 x 1-3/4 polyseal o/hdcr tap

5шт.

9

17730C1

PLUG plastic

1шт.

10

142956C1

SPEAKER

4 x 8, 4 ohm

2шт.

11

118439C91

ANTENNA

ASSY combination AM-FM-CB, Consists of

1шт.

142978C1

UNION

COUPLER ASSY

1шт.

142979C1

BASE

ASSY

1шт.

142982C1

VALVE SPRING

SPRING

1шт.

142980C1

SCREW,M6 x 0.86"

clamp

1шт.

142981C1

NUT

wing

1шт.

143113C1

SCREW,Hex Skt, M5 x 0.156" L

set

1шт.

142983C1

BAR

MAST

1шт.

142969C1

NUT

jam

1шт.

142984C1

SCREW,M3 x 3.70"

trimming, Also purchase locally 2 inches of 1-3/4 inch duct or plastic tape for use in installing antenna

1шт.

12

143177C1

HARNESS

ASSY radio and speaker

1шт.

126049

FUSE,5 Amp, Type 1AG

AGA, 5 amp

1шт.

13

142995C1

CABLE

ASSY CB microphone extension, Replaces 142946C1

1шт.

14

1252436C91

TRANSMITTER

MICROPHONE ASSY CB radio

1шт.

15

118595C1

BRACKET

ASSY CB microphone mtg

1шт.

444272

SCREW, No. 8 x 1/4 znp p/hdcr l/w mach

2шт.

159592

SCREW,Cross Pan Hd, #8 - 32 x 1/2"

No. 8 x 1/2 znp p/hdcr mach

2шт.

445106

SPARE PART

NUT, 8-32 phc style I

2шт.

Выбрано товаров: 44