Запчасти Case IH 3488 (10-09) - HYDRAULICS, POWER STEERING CYLINDER (07) - HYDRAULICS

Схема запчастей Case IH 3488 - (10-09) - HYDRAULICS, POWER STEERING CYLINDER (07) - HYDRAULICS
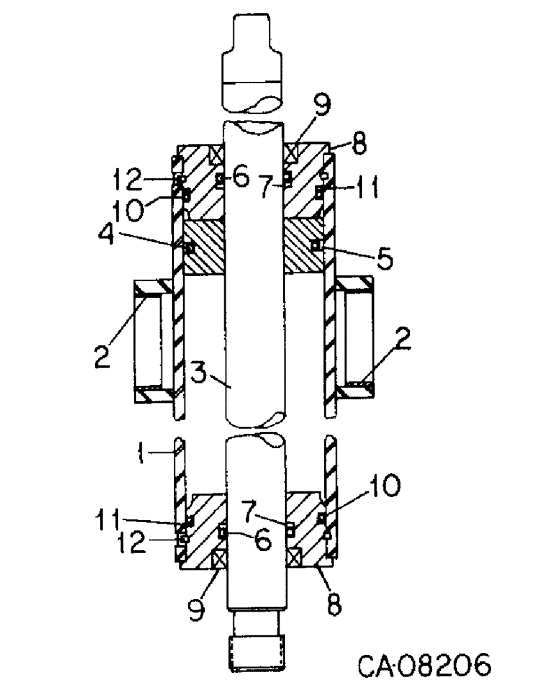
6
2
1
10
5
10
12
12
7
8
2
7
11
3
8
11
4
6
9
9
FIT
1:1
100%

Артикул

Название

Примечание

Количество

63864C92

CYLINDER

ASSY power steering, For tractors w/o all wheel drive

1шт.

145411C92

CYLINDER BLOCK

CYLINDER ASSY power steering, For tractors w/ all wheel drive

1шт.

1

BODY ASSY cylinder, Not serviced separately, Order cylinder assy 63864C92

1шт.

1

145412C1

BODY

ASSY cylinder, Use w/ cylinder assy 145411C92

1шт.

2

533283C1

BUSHING trunnion

2шт.

3

533286R21

ROD

ASSY piston

1шт.

4

22240R1

O-RING,0.139" Thk x 1.984" ID, -226, Cl 6, 90 Duro

piston, 2 x 2-1/4 class 6

1шт.

5

379570R1

SEALING RING

piston

1шт.

6

119185C1

SEAL,26.18mm ID x 32.17mm OD x 4.66mm Thk

piston rod, urethane, Use w/ cylinder 63864C92 and 145411C92

2шт.

6

380794R1

O-RING,0.139" Thk x 0.984" ID, -214, Cl 6, 90 Duro

1 x 1-1/4 class 6, Use w/ cylinder, 63864C91 and 145411C91

2шт.

7

379571R1

BACK-UP RING,Split, 25.37mm ID x 31.67mm OD x 1.32mm Thk

rod, back-up, Use w/ 163864C91

2шт.

8

533288R2

JACK HEAD

HEAD front cylinder

2шт.

9

532856R91

SEALING RING

ASSY oil, scraper

2шт.

10

379457R1

O-RING,0.103" Thk x 2.175" ID, -139, Cl 5, 75 Duro

front head, 2-3/16 x 2-3/8 class 5

2шт.

11

382063R1

BACK-UP RING,2.385" ID x 0.052" Width

back-up

2шт.

12

391985R1

SPRING

RING head retaining

2шт.

80446C91

PACKAGE

KIT cylinder service, Use w/ cylinder 63864C92 and 145411C92, Consists of Ref. 4, 5, 9 - 12 and seal 119185C1

1шт.

533290R91

KIT

cylinder service, Use w/ cylinder 63864C91 and 145411C91, Consists of Ref. 4, 5, 7, 9 - 12 and o-ring 380794R1

1шт.

Выбрано товаров: 18