Запчасти Case IH 3488 (10-13) - HYDRAULICS, RESERVOIR AND FILTER (07) - HYDRAULICS

Схема запчастей Case IH 3488 - (10-13) - HYDRAULICS, RESERVOIR AND FILTER (07) - HYDRAULICS
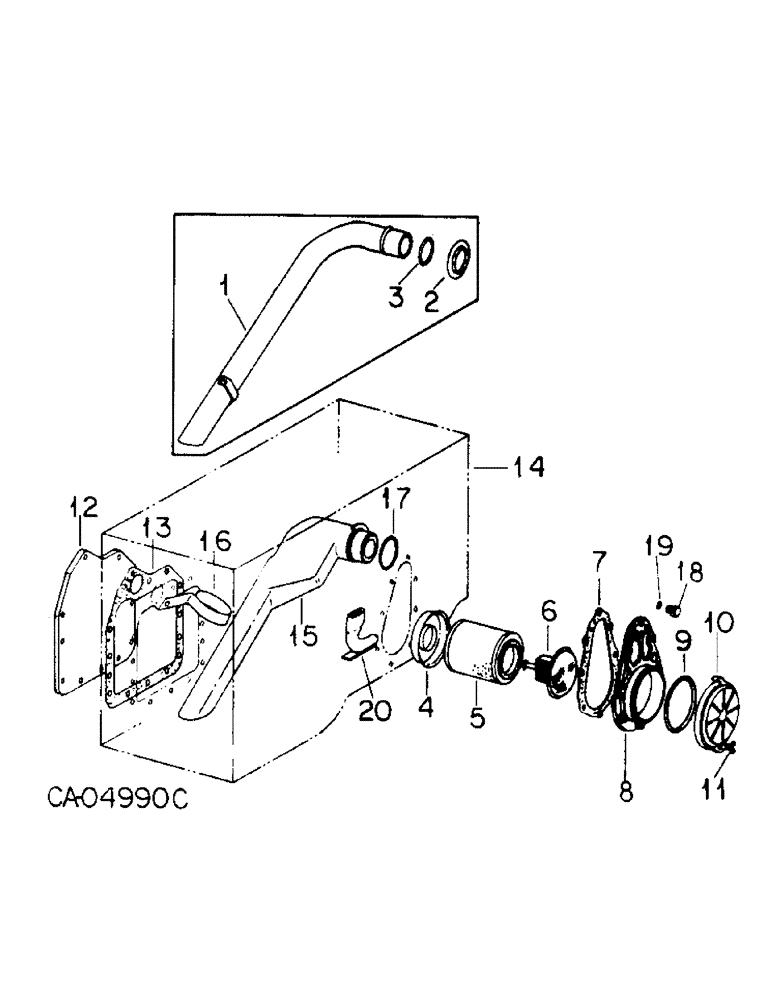
19
2
14
4
20
7
16
10
13
11
12
17
9
3
5
6
18
1
8
15
FIT
1:1
100%

Артикул

Название

Примечание

Количество

1

NOT USED THIS APPLICATION

1шт.

2

NOT USED THIS APPLICATION

1шт.

3

NOT USED THIS APPLICATION

1шт.

4

1261043C1

CYLINDER END CAP

CAP retainer, filter cartridge

1шт.

5

528493R3

HYDRAULIC OIL FILTER

CARTRIDGE hyd filter

1шт.

5

1266865C1

FILTER, ELEMENT

CARTRIDGE, "6" hyd filter, For clean up use only, See service manual

1шт.

6

133735C1

VALVE

ASSY hyd filter

1шт.

7

382257R2

GASKET

oil filter cover

1шт.

8

138170C1

FRAME

ASSY filter

1шт.

179839

BOLT,Hex, 3/8" - 16 x 1", Gr 5

8шт.

9

285253R1

O-RING,0.139" Thk x 5.484" ID, -254, Cl 5, 75 Duro

filter frame, 5-1/2 x 5-3/4 x 1/8

1шт.

10

406037R1

COVER ASSY

COVER filter frame

1шт.

11

406040R1

SCREW,5/16" - 18 x 1.25"

filter cover

2шт.

12

382243R1

COVER ASSY

COVER pump opening

1шт.

179838

BOLT,Hex, 3/8" - 16 x 7/8", Gr 5, Full Thd

3/8 x 7/8 pln type 5

12шт.

13

382244R4

GASKET

pump opening cover

1шт.

14

FRAME ASSY rear, Refer to frame, covers and connections listing, group 7

1шт.

15

133685C2

MANIFOLD

hyd filter suction

1шт.

16

133686C1

SUPPORT

manifold suction tube

1шт.

NLS

NO LONGER SERVICED

1шт.

17

293726R1

O-RING,0.139" Thk x 2.234" ID, -228, Cl 5, 75 Duro

2-1/4 x 2-1/2 class 5

1шт.

18

9410360

PLUG

5/8 C-Z str thd o-ring boss

1шт.

19

364885R1

O-RING,0.097" Thk x 0.755" ID, -910, Cl 6, 90 Duro

5/8 OD tube class 6

1шт.

20

1261039C2

TUBE,3.5" Length

ASSY suction

1шт.

Выбрано товаров: 24