Запчасти Case IH 3488 (10-18) - HYDRAULICS, PRIORITY VALVE, TRACTORS WITH DRAFT CONTROL (07) - HYDRAULICS

Схема запчастей Case IH 3488 - (10-18) - HYDRAULICS, PRIORITY VALVE, TRACTORS WITH DRAFT CONTROL (07) - HYDRAULICS
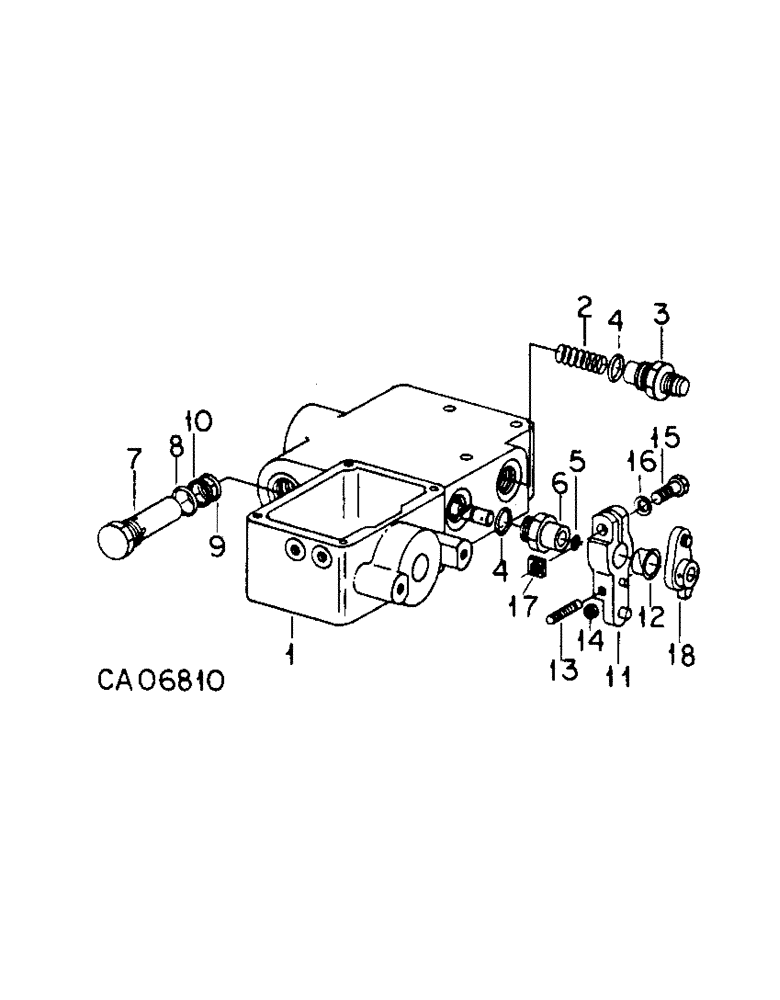
4
1
9
12
17
5
10
13
2
14
16
7
18
8
15
11
4
6
3
FIT
1:1
100%

Артикул

Название

Примечание

Количество

127925C92

VALVE

ASSY priority

1шт.

1

BODY ASSY priority valve, Not serviced separately, Order valve assy

1шт.

2

127880C1

SPRING

motor spool, Replaces 120880C1

1шт.

3

127883C1

PLUG

motor spool

1шт.

4

364885R1

O-RING,0.097" Thk x 0.755" ID, -910, Cl 6, 90 Duro

5/8 tube

2шт.

5

359158R1

O-RING,0.301" ID x 0.07" Width

-011, 70 Duro, .031" ID x .070" Thk

1шт.

6

1260805C1

FITTING

retainer, Replaces 127860C1

1шт.

7

138046C91

VALVE

ASSY cushion relief

1шт.

8

364879R1

O-RING,0.103" Thk x 0.862" ID, -118, Cl 5, 75 Duro

7/8 x 1-1/16 x 3/32

1шт.

9

383219R1

O-RING,0.924" ID x 0.103" Width

15/16 x 1-1/8 class 6

1шт.

10

378985R2

BACK-UP RING

back up, relief valve

1шт.

11

127854C1

LEVER

ASSY friction

1шт.

12

532395R1

BUSHING,19.07mm ID x 20.63mm OD x 16.64mm L

BEARING nylon

1шт.

13

102437

SCREW set, 1/4 x 1-3/4 pln o/pt sq-hd

1шт.

14

114501

JAM NUT,Jam, 1/4"-20, G5

1шт.

15

181341

BOLT,Hex, 5/16" - 24 x 1 1/4", Gr 5

5/16-NF x 1-1/4 pln type 5

1шт.

16

532409R1

SPRING WASHER

safety spring

1шт.

17

137544C1

NUT

friction lever

1шт.

18

127856C1

LEVER

ASSY raise speed control

1шт.

19938R1

PIN,1/8" x 7/8", Coiled

1шт.

133799C91

VALVE

ASSY priority

1шт.

Выбрано товаров: 21