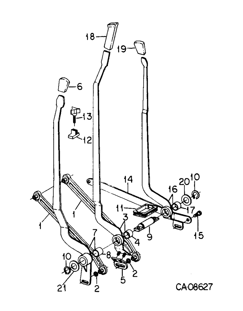
Запчасти Case IH 3488 (10-21) - HYDRAULICS, HYDRAULIC DRAFT CONTROL LINKAGE, CAT. II (07) - HYDRAULICS

Схема запчастей Case IH 3488 - (10-21) - HYDRAULICS, HYDRAULIC DRAFT CONTROL LINKAGE, CAT. II (07) - HYDRAULICS
7
4
8
16
1
13
2
11
9
20
5
12
14
3
15
17
10
2
10
6
19
21
1
18
FIT
1:1
100%

Артикул

Название

Примечание

Количество

1

120314C2

ROD

ASSY draft and position control

2шт.

180808

BOLT, 5/16 x 1-1/8 type 5

4шт.

9413952

LOCK NUT,5/16"-18, GB

NUT lock, 5/16 phc p/t type 5

2шт.

938017R1

FLANGE NUT,Flg, USR, 5/16"-18

serrated washer head, 5/16-18

2шт.

2

532409R1

SPRING WASHER

serrated spring steel

2шт.

3

1280102C91

HANDLE

ASSY position control, Includes Ref. 4

1шт.

4

144003C1

BUSHING

position control handle

1шт.

5

1253150C1

SUPPORT

position handle extension

1шт.

6

1259760C1

BALL KNOB

KNOB draft control handle

1шт.

7

130696C91

HANDLE

ASSY draft control, Includes Ref. 8

1шт.

8

383236R1

BUSHING,19.15mm ID x 20.65mm OD x 25.4mm L

draft control handle

1шт.

9

104532C2

SHAFT

control pivot

1шт.

931143R1

BOLT,Hex, M10 x 1.5 x 20mm, Cl 8.8, Full Thd

M10 x 20 pln class 8.8

2шт.

10

661652R1

SNAP RING,#75, Ext

2шт.

11

135877C1

SEAL

control

1шт.

12

1259806C1

BAR

ASSY position control handle

1шт.

20600R1

WASHER

0.281 x 0.750 x 0.105

1шт.

13

1259821C1

KNOB

fluted

1шт.

14

120498C2

LINK

raise rate connecting

1шт.

Q3817

WASHER

0.344 x 0.656 x 0.021 pln

1шт.

103363

PIN, SPLIT (COTTER)

PIN cotter, 1/16 x 1 pln

1шт.

21903R1

WASHER

0.531 x 0.750 x 0.054

1шт.

15

400862R1

BOLT,Hex, 5/16" - 18 x 0.85"

shoulder, 5/16

1шт.

938017R1

FLANGE NUT,Flg, USR, 5/16"-18

serrated washer head, 5/16-18

1шт.

16

130694C91

HANDLE

ASSY raise rate control, Serial Range: -714

1шт.

16

1267381C91

HANDLE

ASSY raise rate control, Start Serial: 715

1шт.

17

144003C1

BUSHING

rate control handle

1шт.

18

1259765C1

GRIP

position control handle, Use w/ handle 1280102C91

1шт.

18

1259760C1

BALL KNOB

GRIP position control handle, Use w/ handle 1253118C93

1шт.

19

1259760C1

BALL KNOB

KNOB raise rate control handle, Serial Range: -714

1шт.

19

1267352C1

KNOB

raise rate control handle, Start Serial: 715

1шт.

20

16066R1

WASHER

0.781 x 1.500 x 0.054 pln, (1) req'd for inner position

1шт.

21

16066R1

WASHER

0.781 x 1.500 x 0.054 pln, as req'd for outer position

1шт.

Выбрано товаров: 33