Запчасти Case IH 3488 (10-24) - HYDRAULICS, HYDRAULIC SEAT ATTACHMENT CONNECTIONS (07) - HYDRAULICS

Схема запчастей Case IH 3488 - (10-24) - HYDRAULICS, HYDRAULIC SEAT ATTACHMENT CONNECTIONS (07) - HYDRAULICS
4
26
7
15
23
12
8
6
20
2
19
12
11
3
22
1
25
10
9
14
19
26
5
16
13
21
17
11
18
24
FIT
1:1
100%

Артикул

Название

Примечание

Количество

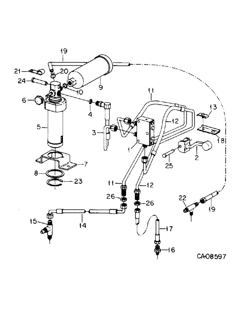
1

399088R92

VALVE

ASSY hydraulic seat control, Refer to hydraulic seat valve, this group for list of components

1шт.

27480R1

CARRIAGE BOLT,5/16" x 2", Gr 5

BOLT, 5/16 x 2 pln crg type 1

2шт.

7770

NUT,Hex, 1/4 - 20, Cl 5

hex, 5/16-18

2шт.

2

539584R2

LEVER

seat control valve

1шт.

3

148656C2

HYD TUBE

TUBE ASSY, Serial Range: valve-cylinder

1шт.

4

364839R1

O-RING,0.078" Thk x 0.468" ID, -906, Cl 6, 90 Duro

6-1, 90 Duro, .468" ID x .078" Thk, 3/8 OD tube, class 6

6шт.

5

148674C94

CYLINDER ASSY seat hydraulic, Refer to hydraulic seat cylinder, this group for components

1шт.

6

399094R1

KNOB

seat ride control

1шт.

7

104277C2

BRACKET seat cylinder mounting

1шт.

931829R1

BOLT,Hex, M8 x 1.25 x 12mm, Cl 8.8, Full Thd

2шт.

8

633090R1

WASHER

2.28 x 2.78 x 0.060 flat

1шт.

9

1272647C1

ACCUMULATOR

ABSORBER hydraulic accumulator, Replaces 399100R2

1шт.

10

570828R1

O-RING,0.087" Thk x 0.644" ID, -908, Cl 6, 90 Duro

0.644 x 0.087 thick

1шт.

11

148657C2

HOSE

ASSY hydraulic seat pressure

1шт.

12

148658C2

HOSE

ASSY hydraulic seat dump

1шт.

13

384891R11

CLAMP

ASSY hydraulic seat tubes

1шт.

95-11028

WASHER,1/4"

0.281 x 0.625 x 0.051 pln

1шт.

86505867

BOLT,Hex, 1/4" - 20 x 1", Gr 5

1шт.

14

120401C1

HOSE

ASSY lower hyd seat pressure

1шт.

15

76355

TEE,9/16" - 18 JIC x 9/16" - 18 JIC x 9/16" - 18 JIC

3/8 C-Z hyd flared three way

1шт.

16

610082C1

HYD CONNECTOR,9/16"-18, 37 Degree x 1/8"-27, NPTF

CONNECTOR, C-Z hyd fld 3/8 to 1/8

1шт.

17

104477C1

HOSE

ASSY lower hyd seat pump

1шт.

18

1259532C1

SUPPORT,80, 6 mm Length

ANGLE tube support

1шт.

931703R1

BOLT,Hex, M12 x 1.75 x 30mm, Cl 8.8, Full Thd

M12 x 30 pln class 8.8

2шт.

933966R1

LOCK WASHER,M12

WASHER lock, 12 MM

2шт.

21796R1

WASHER

0.656 x 1.000 x 0.054

2шт.

19

1266778C1

HOSE

cylinder drain

1шт.

20

210511R1

HOSE CLAMP,#8, 1/2", Spring

CLAMP spring wire hose, No. 8 type E

1шт.

21

400505R1

CLAMP

CLIP cylinder drain hose

1шт.

22

9403019

TEE, 5/16 C-Z hyd flared tube two way

1шт.

23

644771R1

SNAP RING,#225, Ext

RING external retaining, 2.081

1шт.

24

90560H

CLEVIS PIN,1/2" x 2.766"

PIN clevis, 1/2 x 2.766 pln

1шт.

103385

COTTER PIN,1/8" x 1"

PIN, SPLIT (COTTER), 1/8" x 1"

1шт.

25

52893H

CLEVIS PIN,3/8" x 1.781"

PIN clevis, 3/8 x 1.781 pln

1шт.

95-11041

WASHER,3/8"

(.406 x .812 x .051 pln) 3/8"

1шт.

103373

COTTER PIN,3/32" x 3/4"

Pin, Split (Cotter), 3/32" x 3/4"

1шт.

26

9403293

LOCK NUT,Blkhd, 9/16"-18

NUT lock, 3/8 C-Z bulkhead union

2шт.

Выбрано товаров: 37