Запчасти Case IH 3488 (10-29) - HYDRAULICS, FOURTH AUXILIARY VALVE CONTROLS (07) - HYDRAULICS

Схема запчастей Case IH 3488 - (10-29) - HYDRAULICS, FOURTH AUXILIARY VALVE CONTROLS (07) - HYDRAULICS
21
8
3
18
9
15
11
10
14
4
13
2
5
16
7
17
2
12
19
20
5
10
5
11
20
FIT
1:1
100%

Артикул

Название

Примечание

Количество

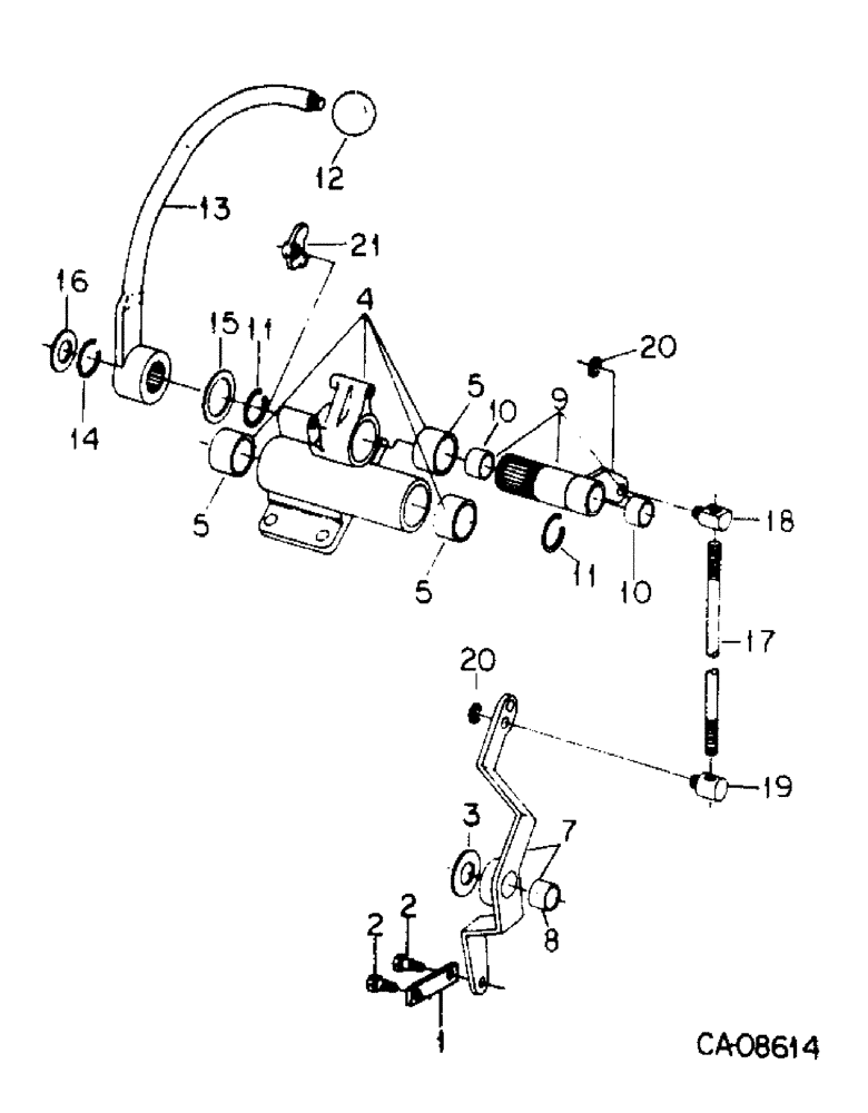
1

130690C1

LINK

auxiliary valve operating

1шт.

2

400862R1

BOLT,Hex, 5/16" - 18 x 0.85"

shoulder

1шт.

390304C1

WASHER

0.344 x 0.688 x 0.095 hdn

1шт.

9413952

LOCK NUT,5/16"-18, GB

NUT lock, 5/16 phc p/t type 5

1шт.

3

16066R1

WASHER

0.781 x 1.500 x 0.054 pln

1шт.

4

1259810C91

SUPPORT

ASSY valve lever, w/ bushings, Includes Ref. 5

1шт.

5

149097C1

BUSHING

3шт.

6

400862R1

BOLT,Hex, 5/16" - 18 x 0.85"

shoulder

1шт.

390304C1

WASHER

0.344 x 0.688 x 0.065 hdn

1шт.

9413952

LOCK NUT,5/16"-18, GB

NUT lock, 5/16 phc p/t type 5

1шт.

7

1251561C91

LEVER

ASSY 4th auxiliary valve, Includes Ref. 8

1шт.

8

120464C1

BUSHING,19.07mm ID x 20.68mm OD x 13.21mm L

2шт.

9

1251542C92

SHAFT

ASSY 4th auxiliary valve, Includes Ref. 10

1шт.

10

149101C1

BUSHING

2шт.

11

866189R1

SNAP RING,#125, Ext

Ring, Snap, #125, Ext

1шт.

12

1259763C1

KNOB

4th auxiliary valve handle, tan, For flat handle

1шт.

12

1280099C1

KNOB

4th auxiliary valve handle, tan, For round handle

1шт.

13

1280021C1

HANDLE

ASSY 4th valve, Or

1шт.

13

1280082C2

HANDLE

ASSY 4th valve, Replaces 1251548C4

1шт.

14

866189R1

SNAP RING,#125, Ext

Ring, Snap, #125, Ext

1шт.

15

1251550C1

WASHER

1шт.

16

1251551C1

WASHER

1шт.

17

1259534C1

ROD

4th auxiliary valve control

1шт.

30168R1

NUT,M10, Cl 10

M10 phc class 10

1шт.

18

1251968C2

PIN

TURNBUCKLE upper control

1шт.

19

1251970C2

PIN

TURNBUCKLE lower control

1шт.

20

896045R1

SNAP RING,#37, Ext

1шт.

1252881C91

VALVE

PARTS accessory, 4th auxiliary valve

1шт.

Выбрано товаров: 28