Запчасти Case IH 3488 (09-16) - FRAME, THREE POINT HITCH, CATEGORY III, SPLIT COUPLER BALL (12) - FRAME

Схема запчастей Case IH 3488 - (09-16) - FRAME, THREE POINT HITCH, CATEGORY III, SPLIT COUPLER BALL (12) - FRAME
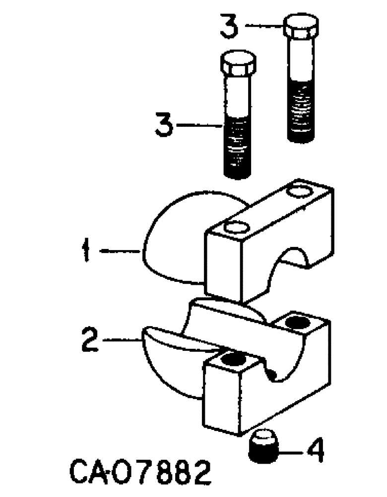
2
1
3
4
3
FIT
1:1
100%

Артикул

Название

Примечание

Количество

1252366C91

KIT

PARTS accessory, half coupler ball, Consists of

1шт.

1

1252305C1

BALL

coupler, half

2шт.

2

1252306C1

BALL

coupler, half

2шт.

3

9706702

BOLT,Hex, M12 x 1.75 x 50mm, Cl 8.8

M12 x 50 MM class 8.8

4шт.

4

30384R1

SET SCREW,Hex Soc, M12 x 16, Cup Pt

SCREW set, M12 x 16 c/pt pln hol/hd

2шт.

Выбрано товаров: 5