Запчасти Case IH 3488 (06-04) - COOLING, RADIATOR SUPPORT Cooling

Схема запчастей Case IH 3488 - (06-04) - COOLING, RADIATOR SUPPORT Cooling
9
3
8
11
6
4
6
2
9
5
10
7
5
FIT
1:1
100%

Артикул

Название

Примечание

Количество

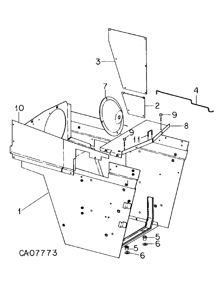
1

130288C3

SUPPORT

ASSY

1шт.

130285C1

NUT

cage

16шт.

931431R1

BOLT,Hex, M8 x 20, 8.8, Full Thd

M8 x 20 phc class 8.8

12шт.

814-8016

BOLT,Hex, M8 x 1.25 x 16mm, Cl 8.8, Full Thd

6шт.

30175R1

WASHER,M8 x 17.5 x 2, HT

phc M8 x 17.5 x 2, HT

6шт.

2

149067C2

SUPPORT

COVER lower access

1шт.

931479R1

BOLT,Hex, M6 x 1 x 12mm, Cl 8.8, Full Thd

M6 x 12 phc class 8.8

2шт.

934948R1

WASHER,M6

6.4 x 12.5 x 1.6 MM

2шт.

3

149068C2

SUPPORT

COVER upper access

1шт.

931479R1

BOLT,Hex, M6 x 1 x 12mm, Cl 8.8, Full Thd

M6 x 12 phc class 8.8

6шт.

934948R1

WASHER,M6

6.4 x 12.5 x 1.6 MM

6шт.

4

1251831C2

ROD

rope screen

1шт.

30175R1

WASHER,M8 x 17.5 x 2, HT

phc M8 x 17.5 x 2, HT

1шт.

5

139262C1

BUSHING

INSULATOR mtg

4шт.

30024R1

BOLT,Hex, M10 x 1.5 x 45mm, Cl 10.9

M10 x 45 phc class 10.9

4шт.

30168R1

NUT,M10, Cl 10

M10 phc class 10

2шт.

6

144054C2

WASHER

M10 x 32 x 4 hdn

4шт.

120389

WASHER,7/16"

0.500 x 1.250 x 0.064, (Or as required)

1шт.

7

148732C5

HOUSING

fan shaft coupling

1шт.

814-8016

BOLT,Hex, M8 x 1.25 x 16mm, Cl 8.8, Full Thd

4шт.

30175R1

WASHER,M8 x 17.5 x 2, HT

phc M8 x 17.5 x 2, HT

4шт.

8

144168C2

PLATE

ASSY top

1шт.

130285C1

NUT

cage

6шт.

9

1251870C1

CAP

top screen bumper

2шт.

30201R1

BOLT,Hex, M6 x 1 x 60mm, Cl 10.9

M6 x 60 phc class 10.9

2шт.

30208R1

NUT,M6, Cl 10

M6 phc class 10

2шт.

10

1251607C2

DUCT

ASSY hood air bypass

1шт.

931431R1

BOLT,Hex, M8 x 20, 8.8, Full Thd

M8 x 20 phc class 8.8

3шт.

11

1251635C1

U-BOLT,M6 x 1 x 52mm W x 45mm L

PIN top screen latch

1шт.

30208R1

NUT,M6, Cl 10

M6 phc class 10

4шт.

Выбрано товаров: 30