Запчасти Case IH 3488 (11-01) - INSTRUMENTS, INSTRUMENT PANEL AND GAUGES Instruments

Схема запчастей Case IH 3488 - (11-01) - INSTRUMENTS, INSTRUMENT PANEL AND GAUGES Instruments
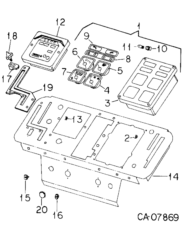
3
15
16
1
2
20
14
4
10
13
19
9
11
12
7
6
5
17
18
8
FIT
1:1
100%

Артикул

Название

Примечание

Количество

1

1252533C91

CLUSTER

CLUSTER ASSY instrument, Includes Ref. 3 - 11

1шт.

2

103957C1

NUT

NUT J-shape spring

4шт.

1270773C1

SELF-TAP SCREW,Cross Oval Hd, #10 - 16 x 1"

SCREW, 10-16 x 1 o/hdcr tap polyseal

4шт.

3

121608C1

GASKET

BEZEL AND GASKET ASSY

1шт.

4

121604C1

ELECTRICAL GAUGE

GAUGE fuel, receiver

1шт.

5

121605C2

ELECTRICAL GAUGE

GAUGE temperature, receiver

1шт.

6

121606C1

ELECTRICAL GAUGE

GAUGE oil pressure, receiver

1шт.

7

121607C1

METER

VOLTMETER

1шт.

8

1252610C1

LENS

LENS warning light

1шт.

9

121610C1

LENS

LENS turn signal

1шт.

10

121611C1

SOCKET

SOCKET ASSY instrument cluster

8шт.

1252486C2

ELECTRICAL GAUGE

ELECTRICAL GAUGE, new

1шт.

11

20627R1

BULB,C2F, #194, 14V

LAMP type C-2F, trade No. 194

8шт.

12

1252488C1

REMAN-ELECT GAUGE

GAUGE digital date center, renewed, Also order product graphic

1шт.

1935041C1

CORE-MONITOR

Return Number, ELECTRICAL GAUGE - for N.A. Only

1шт.

1252419C1

PRODUCT GRAPHIC

GRAPHIC product, digital date gage

1шт.

13

103957C1

NUT

NUT J-shape spring

1шт.

1270773C1

SELF-TAP SCREW,Cross Oval Hd, #10 - 16 x 1"

SCREW, 10-16 x 1 o/hdcr tap polyseal

2шт.

14

137864C93

PANEL

PANEL ASSY instrument, For tractors w/o tilt steering

1шт.

14

1252904C2

PANEL

PANEL ASSY instrument, For tractors w/ tilt steering

1шт.

15

104035C1

FASTENER

FASTENER nut, upper instrument housing spacer

1шт.

16

104036C1

NUT

NUT instrument housing mtg

10шт.

160682

SCREW,Cross Pan Hd, 5/16" x 1/2"

SCREW, 5/16 x 1/2 phc p/hd cr mach

4шт.

17

120168C2

STOP

STOP control handle detent

1шт.

18

399023R2

KNOB

KNOB fluted

1шт.

16559R1

WASHER,1/4"

WASHER, 0.266 x 0.625 x 0.036

1шт.

19

137872C2

PLATE

PLATE shift guide

1шт.

160536

SCREW,Cross Pan Hd, 1/4" - 20 x 5/8"

SCREW, Cross Pan Hd, 1/4"-20 x 5/8"

5шт.

492-11025

LOCK WASHER,1/4"

WASHER, LOCK, 1/4"

5шт.

120375

NUT,Hex, 1/4" - 20, Gr 5

NUT, 1/4"-20, G5

5шт.

20

432281

HOLE PLUG BUTTON,29/32"

PLUG button, cigar lighter hole in panel, 29/32

1шт.

Выбрано товаров: 31