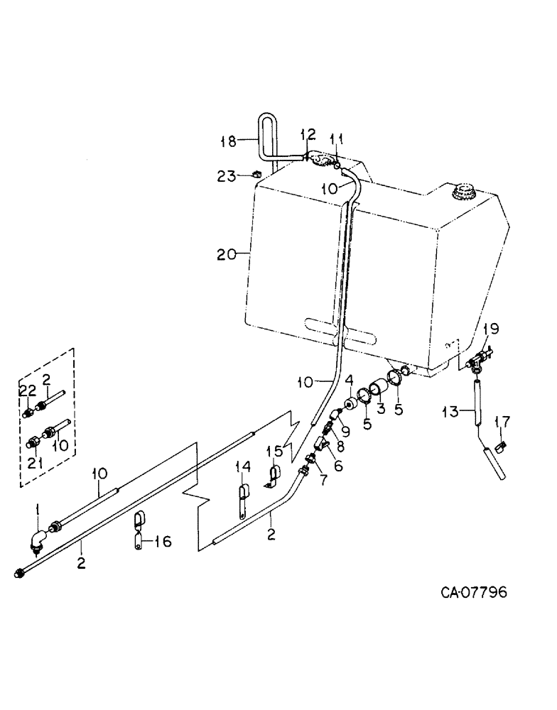
Запчасти Case IH 3488 (12-05) - POWER, FUEL PIPE AND CONNECTIONS, TRACTORS WITHOUT AUXILIARY FUEL TANK Power

Схема запчастей Case IH 3488 - (12-05) - POWER, FUEL PIPE AND CONNECTIONS, TRACTORS WITHOUT AUXILIARY FUEL TANK Power
2
12
10
19
5
7
5
17
9
1
10
16
23
3
20
13
2
4
15
18
21
10
2
6
8
11
14
10
22
FIT
1:1
100%

Артикул

Название

Примечание

Количество

1

104469C1

ELBOW

male 90 deg, 1/2 tube 1/4 pipe, fuel filter end

1шт.

2

TUBE tank to filter, Use 56 in from 50 ft roll marked 74814C1

1шт.

3

130345C1

FUEL HOSE

HOSE fuel outlet

1шт.

4

130346C1

ADAPTER

fuel line

1шт.

5

681209C1

HOSE CLAMP,#32, 1.56/2.50 Type F Worm, W/liner

CLAMP hose, fuel tank outlet

2шт.

6

130306C1

VALVE

shut off

1шт.

7

184820H1

CONNECTOR, ELEC

CONNECTOR, 1/2 x 1/4 male

1шт.

8

443978

FITTING,1/4"-18 NPTF, Brass

NIPPLE, 1/4-18 pln auto pipe, Or

1шт.

8

443979

HYD CONNECTOR

NIPPLE, 1/4-18 znp auto pipe

1шт.

9

444054

ELBOW,45 Degree, 1/4"-18 NPTF, Fem x 1/4"-18 NPTF Male

45 deg, 1/4-18 pln auto pipe street

1шт.

10

TUBE fuel line return, Use 102 in from 50 ft roll marked 74813C1

1шт.

11

872436R1

HOSE CLAMP,#6, 3/8", Spring

CLAMP return tube

1шт.

12

28068R1

HOSE CLAMP,#4, 1/4", Spring

CLAMP fuel tank vent tube

1шт.

13

TUBE fuel drain line, Use 18 in from 50 ft roll marked 74813C1

1шт.

14

380053R1

CLIP fuel lines, double

1шт.

15

120160C2

CLIP

fuel lines, angle double

1шт.

95-11041

WASHER,3/8"

(.406 x .812 x .051 pln) 3/8"

1шт.

18778R1

SCREW,Hex, 3/8"-16 x 3/4", G2

BOLT, 3/8 x 3/4 type 1

1шт.

16

120161C1

CLIP

fuel lines, twisted double

1шт.

95-11041

WASHER,3/8"

(.406 x .812 x .051 pln) 3/8"

1шт.

18778R1

SCREW,Hex, 3/8"-16 x 3/4", G2

BOLT, 3/8 x 3/4 type 1

1шт.

17

384558R1

CLIP

fuel tank drain tube

1шт.

18

TUBE fuel tank vent, Use 48 in from 50 ft roll marked 74812C1

1шт.

19

104465C1

DRAIN VALVE

VALVE fuel tank drain

1шт.

20

TANK main fuel, Refer to fuel tank and supports, this group

1шт.

21

NOT USED THIS APPLICATION

1шт.

22

NOT USED THIS APPLICATION

1шт.

23

374903R1

CLIP

fuel tank vent tube

1шт.

Выбрано товаров: 28