Запчасти Case IH 3488 (07-12) - DRIVE TRAIN, MULTIPLE CONTROL VALVE (04) - Drive Train

Схема запчастей Case IH 3488 - (07-12) - DRIVE TRAIN, MULTIPLE CONTROL VALVE (04) - Drive Train
19
2
11
17
1
14
18
16
9
7
12
15
13
10
6
5
9
4
20
8
3
9
8
FIT
1:1
100%

Артикул

Название

Примечание

Количество

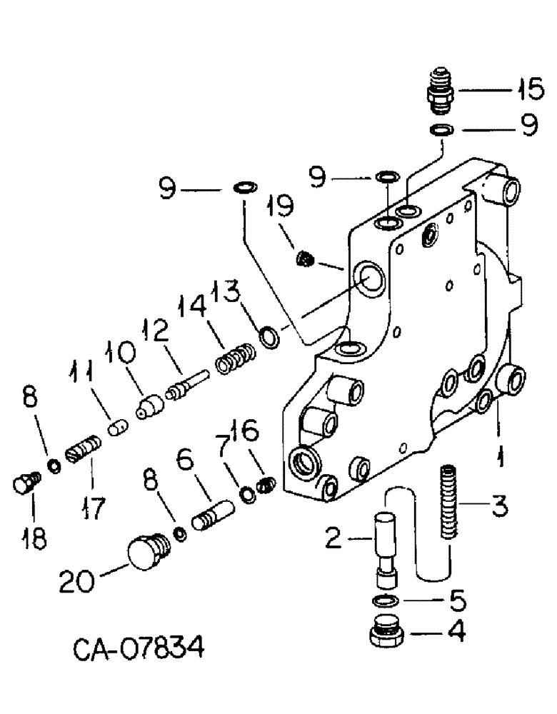
1

406478R94

BODY

ASSY multiple control valve, Consists of

1шт.

NSS

NOT SOLD SEPARAT

BODY

1шт.

384116R1

PIN

2шт.

20556R1

DOWEL,1/2" x 3/4"

PIN

2шт.

NSS

NOT SOLD SEPARAT

VALVE

1шт.

123060C2

PLUG

VENT

1шт.

2

VALVE flow control, Not serviced sepatately, Order body assy 406478R94

1шт.

3

379211R1

SPRING

flow control valve

1шт.

4

9410360

PLUG

5/8 C-Z str thd o-ring boss

1шт.

5

364885R1

O-RING,0.097" Thk x 0.755" ID, -910, Cl 6, 90 Duro

5/8 OD tube class 6

1шт.

6

384443R92

VALVE

ASSY safety, 2000 PSI

1шт.

7

702788R1

O-RING,0.103" Thk x 0.362" ID, -110, Cl 6, 90 Duro

3/8 x 9/16 x 3/32

1шт.

8

570828R1

O-RING,0.087" Thk x 0.644" ID, -908, Cl 6, 90 Duro

0.644 x 0.818 x 0.087

2шт.

9

364839R1

O-RING,0.078" Thk x 0.468" ID, -906, Cl 6, 90 Duro

6-1, 90 Duro, .468" ID x .078" Thk

3шт.

10

406482R2

VALVE

POPPET servo reg valve

1шт.

11

406483R1

SEAT

servo reg valve

1шт.

12

406486R2

GUIDE

spring

1шт.

13

406487R1

SPRING WASHER

spring guide

1шт.

14

406488R2

SPRING

servo reg

1шт.

15

527357R1

LOCK VALVE

VALVE ASSY brake check

1шт.

16

123060C2

PLUG

ORIFICE flow control

1шт.

17

406489R1

STUD

adjusting

1шт.

18

406490R1

NUT

lock

1шт.

19

538651R1

SIEVE

STRAINER servo flow

1шт.

20

536855R1

PLUG

o-ring boss 1/2 OD tube

1шт.

Выбрано товаров: 25