Запчасти Case IH 3488 (07-22) - DRIVE TRAIN, GEAR SHIFT MECHANISM, RANGE TRANSMISSION INTERNAL (04) - Drive Train

Схема запчастей Case IH 3488 - (07-22) - DRIVE TRAIN, GEAR SHIFT MECHANISM, RANGE TRANSMISSION INTERNAL (04) - Drive Train
10
5
9
8
3
7
6
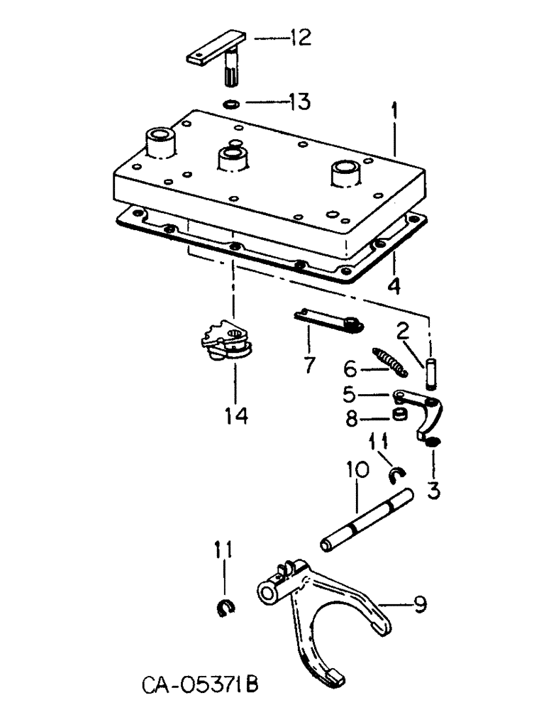
2
12
14
4
1
13
11
11
FIT
1:1
100%

Артикул

Название

Примечание

Количество

1

398298R41

COVER

ASSY rear frame, front, Consists of

1шт.

NSS

NOT SOLD SEPARAT

COVER

1шт.

104731C1

PLUG

1шт.

386194R1

PLUG,Cup, 3/4"

1шт.

444612

PLUG

1шт.

19962R1

DOWEL,3/8" x 3/4"

PIN

1шт.

398299R1

PIN

1шт.

382563R1

PIN

1шт.

386450R1

GUIDE

1шт.

104731C1

PLUG

cup

1шт.

386194R1

PLUG,Cup, 3/4"

3/4 cup

1шт.

179847

BOLT,Hex, 3/8" - 16 x 2", Gr 5

10шт.

19962R1

DOWEL,3/8" x 3/4"

PIN dowel, 3/8 x 0.750 pln hdn

2шт.

382563R1

PIN

spring anchor

1шт.

2

398299R1

PIN

pivot

1шт.

3

370290R1

SNAP RING,#50, .392" Dia, E-Type

Ring, Retaining, #50, .392" Dia, E-Type

1шт.

4

380315R1

GASKET

rear frame, front cover

1шт.

5

398300R3

ARM

ASSY shift control

1шт.

6

398304R1

SPRING

shifter control arm

1шт.

7

406160R1

LARGE PLATE

PLATE ASSY roller retainer

1шт.

8

380115R2

ROLLER

detent

1шт.

9

398279R2

FORK

hi-lo shift

1шт.

10

148503C1

PIN,19mm OD x 201.4mm L

hi-lo shift fork, Replaces 104325C2 by also ordering (2) rings 148501C1

1шт.

11

148501C1

RING, SNAP

RING retaining, Replaces 148714C1 by also ordering (1) pin 148503C1

2шт.

12

1253044C2

SHAFT

ASSY hi-lo shift

1шт.

615168R1

WASHER

0.781 x 1.500 x 0.105 pln

1шт.

13

128359

O-RING,0.07" Thk x 0.614" ID, -16, Cl 5, 75 Duro

5/8 x 3/4 x 1/16

1шт.

14

398285R2

ARM

ASSY hi-lo operating

1шт.

591184R1

PIN,3/16" x 1 1/4", Coiled

1шт.

Выбрано товаров: 29