Запчасти Case IH 3488 (07-24) - DRIVE TRAIN, GEAR SHIFT MECHANISM, RANGE TRANSMISSION EXTERNAL (04) - Drive Train

Схема запчастей Case IH 3488 - (07-24) - DRIVE TRAIN, GEAR SHIFT MECHANISM, RANGE TRANSMISSION EXTERNAL (04) - Drive Train
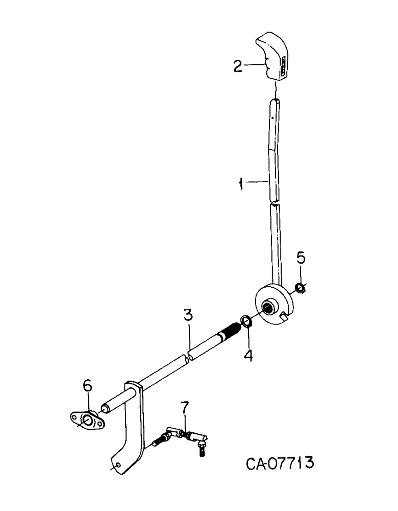
5
2
7
1
4
3
6
FIT
1:1
100%

Артикул

Название

Примечание

Количество

1

1252945C3

HANDLE

ASSY.

1шт.

2

1259589C3

KNOB

1шт.

18518R1

LOCK PIN,1/8" x 1", Slotted

PIN, 1/8" x 1", Slotted

1шт.

3

1252948C1

SHAFT ASSY.

1шт.

30187R1

WASHER,M20 x 44.5 x 5, HT

21.8 x 44 x 5 MM phc.

1шт.

4

23090R1

SNAP RING,#75, Ext

Ring, Snap, #75, Ext

1шт.

5

384098R1

SNAP RING,#62, Ext

Ring, Snap, #62, Ext

1шт.

6

382508R91

BEARING ASSY,0.752" ID x 0.81"

BEARING ASSY.

1шт.

930108R1

BOLT,Hex, M8 x 1.25 x 20mm, Cl 8.8, Full Thd

M8 x 20 pln. class 8.8

2шт.

30167R1

NUT,M8, Cl 10

M8 phc class 10

2шт.

934675R1

WASHER,M8 x 16 x 1.6

8.8 x 17 x 1.6 mm

2шт.

7

104110C1

BALL JOINT

JOINT adjustable ball

1шт.

144419H

LOCK NUT,3/8"-24, GB

NUT, 3/8-NF cad. p/t lock type 5

2шт.

Выбрано товаров: 13