Запчасти Case IH 3488 (13-04) - SUPERSTRUCTURE, STEERING AND GEAR SELECTOR SUPPORTS (05) - SUPERSTRUCTURE

Схема запчастей Case IH 3488 - (13-04) - SUPERSTRUCTURE, STEERING AND GEAR SELECTOR SUPPORTS (05) - SUPERSTRUCTURE
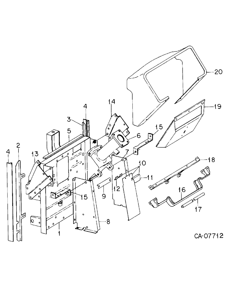
1
9
18
16
17
3
8
7
4
15
15
4
20
10
12
11
14
13
2
6
19
5
FIT
1:1
100%

Артикул

Название

Примечание

Количество

1

130266C5

PANEL

ASSY firewall

1шт.

2

1251845C2

SUPPORT

rear center panel seal, left

1шт.

3

1251846C2

SUPPORT

rear center panel seal, right

1шт.

933348R1

WASHER,M10 x 20 x 2

10.8 x 21 x 2 MM pln

8шт.

25520R1

NUT,5/16"-18, G8

5/16 phc type 8

2шт.

931143R1

BOLT,Hex, M10 x 1.5 x 20mm, Cl 8.8, Full Thd

M10 x 20 pln class 8.8

6шт.

NLS

NO LONGER SERVICED

6шт.

102635

NUT,3/8"-16, G5

6шт.

95-11034

WASHER,1/4"

0.344 x 0.688 x 0.051 pln

2шт.

4

1251828C1

SEAL

rear center panel

2шт.

5

109350C1

SEALING STRIP

cab and firewall top

1шт.

6

103929C1

SUPPORT

instrument panel and steering wheel, For tractors w/o tilt steering

1шт.

179835

BOLT,Hex, 3/8" - 16 x 5/8", Gr 5, Full Thd

2шт.

7

148858C4

SUPPORT

ASSY firewall, left

1шт.

931143R1

BOLT,Hex, M10 x 1.5 x 20mm, Cl 8.8, Full Thd

M10 x 20 pln class 8.8

2шт.

933348R1

WASHER,M10 x 20 x 2

10.8 x 21 x 2 MM pln

2шт.

8

148859C3

SUPPORT ASSY.

SUPPORT ASSY firewall, right

1шт.

931143R1

BOLT,Hex, M10 x 1.5 x 20mm, Cl 8.8, Full Thd

M10 x 20 pln class 8.8

2шт.

933348R1

WASHER,M10 x 20 x 2

10.8 x 21 x 2 MM pln

2шт.

9

104027C1

SUPPORT

ASSY plate, cover mtg

1шт.

1276073C1

SELF-TAP SCREW,Cross Flat Hd, 1/46" x 1/2"

SCREW, 1/4 x 1/2 p/hdcr mach polyseal

2шт.

10

120441C91

SUPPORT

COVER ASSY firewall

1шт.

11

104030C1

SUPPORT

HANDLE cover

1шт.

12

104031C1

SUPPORT

RETAINER cover

1шт.

13

139364C1

SUPPORT

ASSY instrument panel, left

1шт.

931443R1

BOLT,Hex, M12 x 75, 8.8

M12 x 75 phc class 8.8

3шт.

104036C1

NUT

instrument housing mounting

2шт.

14

139365C1

SUPPORT

ASSY instrument panel, right

1шт.

931443R1

BOLT,Hex, M12 x 75, 8.8

M12 x 75 phc class 8.8

3шт.

104036C1

NUT

instrument housing mounting

2шт.

15

104021C1

SUPPORT

pedal stop

2шт.

179839

BOLT,Hex, 3/8" - 16 x 1", Gr 5

2шт.

16

104020C2

SUPPORT

instrument housing lower

1шт.

104036C1

NUT

instrument housing mounting

5шт.

17

1259543C1

SEAL

cable insul. protector edging

1шт.

931260R1

BOLT,Hex, M10 x 1.5 x 12mm, Cl 8.8, Full Thd

M10 x 12 pln class 8.8

2шт.

930140R1

BOLT,Hex, M10 x 1.5 x 30mm, Cl 8.8, Full Thd

M10 x 30 pln class 8.8

2шт.

30284R1

NUT,M10, Cl 10

M10 class 10

2шт.

934309R1

LOCK WASHER,M8

WASHER lock, 8 MM

1шт.

18

1251645C93

SUPPORT

ASSY pedal return

1шт.

541313R1

BOLT,Hex Serr Flg, 3/8" - 16 x 3/4"

SCREW, 3/8-16 x 3/4 fl lock cap

2шт.

102635

NUT,3/8"-16, G5

2шт.

179835

BOLT,Hex, 3/8" - 16 x 5/8", Gr 5, Full Thd

1шт.

Q1504

WASHER

10 x 22 x 1.5

1шт.

19

104032C3

HOUSING

lower instrument, For tractors w/o tilt steering

1шт.

104033C2

SELF-TAP SCREW,Truss HD, #10 - 16 x 3/4"

SCREW instrument housing mounting, No. 10 x 3/4

9шт.

19

148482C1

HOUSING

lower instrument, For tractors w/ tilt steering

1шт.

104033C2

SELF-TAP SCREW,Truss HD, #10 - 16 x 3/4"

SCREW instrument housing mounting, No. 10 x 3/4

1шт.

30523R1

BOLT,Hex, M10 x 1.5 x 16mm, Cl 8.8, Full Thd

M10 x 16 MM class 8.8

2шт.

9706704

BOLT,Hex, M10 x 1.5 x 41.58mm, Cl 8.8

M10 x 35 class 8.8

2шт.

20

1251804C2

HOUSING

upper instrument

1шт.

104033C2

SELF-TAP SCREW,Truss HD, #10 - 16 x 3/4"

SCREW instrument housing mounting, No. 10 x 3/4

11шт.

Выбрано товаров: 52