Запчасти Case IH 3588 (13-21) - SUPERSTRUCTURE, HEADLINER (05) - SUPERSTRUCTURE

Схема запчастей Case IH 3588 - (13-21) - SUPERSTRUCTURE, HEADLINER (05) - SUPERSTRUCTURE
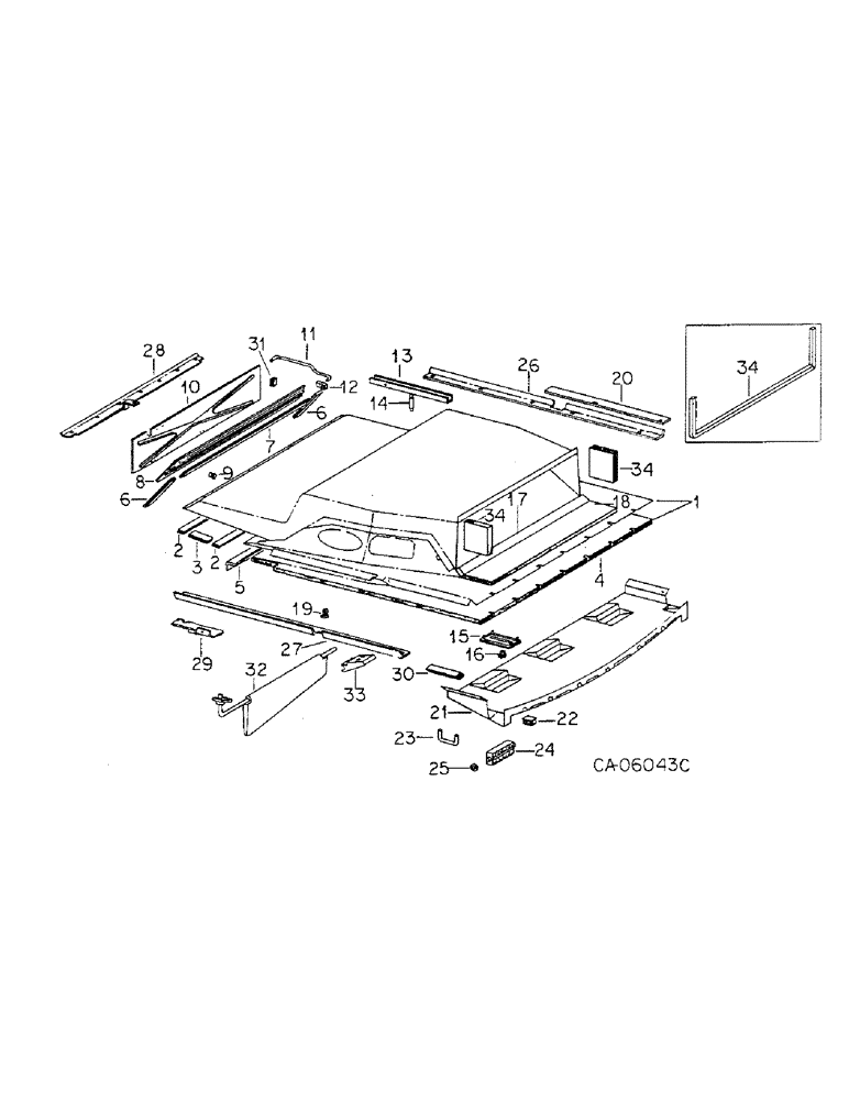
21
15
22
16
7
20
26
12
3
2
32
6
27
34
33
25
34
23
11
19
31
9
17
8
34
6
13
29
24
30
2
4
14
18
10
28
5
FIT
1:1
100%

Артикул

Название

Примечание

Количество

1

143151C93

DUCT

ASSY, headliner, radio, Includes reference numbers 2, 3, 4, 5, 6, 7, 10, 11, 12, 13, 14, 15, 16 & 31

1шт.

1276096C1

SELF-TAP SCREW,Cross Pan Hd, 1/4" x 1 1/4"

SCREW, 1/4 x 1-1/4 polyseal mach

2шт.

160568

SCREW,Cross Pan Hd, 1/4" - 20 x 1 1/4"

1/4 x 1-1/4 phc p/hdcr mach

1шт.

2

118144C1

SEAL

intake rear long

2шт.

3

118145C1

SEAL

intake rear short

2шт.

4

1262101C1

SHEET

rear headliner foam, radio

1шт.

5

111666C2

SUPPORT

BRACKET, door support

1шт.

1250628C2

SPACER

spacer

6шт.

1276101C1

SELF-TAP SCREW,Cross Pan Hd, 1/4" x 1 1/4"

SCREW, 1/4 x 1-1/4 polyseal tap

6шт.

6

111668C1

SEAL

recirculation door short

2шт.

7

111669C1

SEAL

recirculation door long

2шт.

8

109282C1

GRILLE

recirculation

1шт.

9

111296C1

BUTTON

KNOB, grille retainer

6шт.

10

117621C2

DOOR

ASSY, recirculation

1шт.

11

111670C2

ROD

recirculation control

1шт.

12

428497C1

REINFORCEMENT

rod end

2шт.

13

117610C1

CHANNEL

ASSY, slide

1шт.

14

111675C1

STUD

control

1шт.

15

118183C1

PANEL

recirculation control trim

1шт.

1276099C1

SELF-TAP SCREW,Cross Oval Hd, #8 x 3 3/4"

SCREW, #8 x 2-3/4 polyseal tap

4шт.

16

111683C1

KNOB

air control

1шт.

1276096C1

SELF-TAP SCREW,Cross Pan Hd, 1/4" x 1 1/4"

SCREW, 1/4 x1-1/4 polyseal mach

4шт.

111685C1

NUT

spacer

4шт.

17

118152C1

SEAL

SEAL, duct front lower a/c

1шт.

Cabs with serial no. 107806 and below.

1шт.

143382C1

CLIP

u-shaped spring

8шт.

18

NOT USED THIS APPLICATION

1шт.

19

117718C2

RETAINER

rear headliner assy

2шт.

20

118155C2

STRIP

headliner

2шт.

143306C1

SELF-TAP SCREW,Cross Pan Hd, #10 x 1/2"

SCREW, #10 x 1/2 polyseal tap

4шт.

21

118194C2

PANEL

front headliner, Replaces 118295C94

1шт.

143012C1

FASTENER

push-in

1шт.

Cabs with serial no. 10749 and below

1шт.

118520C2

SCREW

shoulder tap

7шт.

Cabs with serial no. 10750 and above.

1шт.

1276101C1

SELF-TAP SCREW,Cross Pan Hd, 1/4" x 1 1/4"

SCREW, 1/4 x 1-1/4 polyseal tap

6шт.

118773

WASHER,0.28" ID x 0.62" OD x 0.07" Thk

.281 x .625 x .051 phc

6шт.

28439R1

WASHER, .266 x .50 x .036 phc

7шт.

22

118207C1

SEALING STRIP

SEAL, front headliner

2шт.

23

117756C1

SEAL, front headliner corner

2шт.

24

109227C1

VENT

ASSY, air discharge

3шт.

25

117611C2

SPACER

friction

6шт.

26

118539C1

RETAINER

headliner side LH

1шт.

1276102C1

SELF-TAP SCREW,Cross Oval Hd, 1/4" x 1 1/4"

SCREW, 1/4 x 1-1/4 polyseal tap

5шт.

27

118540C1

RETAINER

headliner side RH

1шт.

1276102C1

SELF-TAP SCREW,Cross Oval Hd, 1/4" x 1 1/4"

SCREW, 1/4 x 1-1/4 polyseal tap

5шт.

28

118299C1

SUPPORT

ASSY, headliner rear

1шт.

143306C1

SELF-TAP SCREW,Cross Pan Hd, #10 x 1/2"

SCREW, #10 x 1/2 polyseal tap

7шт.

29

109507C1

SUPPORT

headliner corner LH

1шт.

29

109508C1

SUPPORT

headliner corner RH

1шт.

1276102C1

SELF-TAP SCREW,Cross Oval Hd, 1/4" x 1 1/4"

SCREW, 1/4 x 1-1/4 polyseal tap

2шт.

30

118206C1

SEALING STRIP

SEAL, front headliner

1шт.

31

118345C1

BUMPER

recirculation door

1шт.

32

118543C1

VISOR, SUN

VISOR ASSY, sun

2шт.

1276054C1

SELF-TAP SCREW,Cross Oval Hd, #10 x 1/2"

SCREW, #10 x 1/2 polyseal mach

8шт.

33

118537C1

RETAINER

visor arm

1шт.

1276057C1

SELF-TAP SCREW,Cross Pan Hd, #10 x 3/8"

SCREW, #10 x 1/2 polyseal tap

2шт.

118542C1

NUT

10-24 twin spring

1шт.

34

118150C2

SEAL

SEAL, duct front side w/air

2шт.

Cabs with serial no. 107806 and below.

1шт.

34

1250479C2

SEAL

duct front seal

1шт.

Cabs with serial no. 107807 and above.

1шт.

143382C1

CLIP

u-shaped spring

1шт.

118171C1

PACKAGE

KIT, fastener 2 in. tgl type

1шт.

117995C1

PACKAGE

KIT, fastener 3/4 tgl type, Consists of ref nos 22, 23 and 30 plus

1шт.

27959R1

SELF-TAP SCREW,Cross Pan Hd, #10 x 1 1/2"

SCREW, #10-16 x 1-1/2 phc p/hdcr tap

7шт.

446153

WIRE CONNECTOR,10 Pole

.203 x .469 x .036 phc

7шт.

118773

WASHER,0.28" ID x 0.62" OD x 0.07" Thk

.281 x .625 x .051 phc

6шт.

NSS

NOT SOLD SEPARAT

INSTRUCTION

1шт.

NSS

NOT SOLD SEPARAT

PANEL

1шт.

Выбрано товаров: 70