Запчасти Case IH 3594 (8-016) - GEAR AND PISTON PUMP ASSEMBLY (08) - HYDRAULICS

Схема запчастей Case IH 3594 - (8-016) - GEAR AND PISTON PUMP ASSEMBLY (08) - HYDRAULICS
22
1
10
17
9
13
6
17
15
16
14
4
19
7
12
3
11
5
21
8
18
2
20
FIT
1:1
100%

Артикул

Название

Примечание

Количество

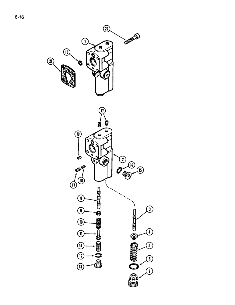
A185363

PUMP, HYDRAULIC

HYDRAULIC PUMP ASSEMBLY, Includes Ref. 1 - 22

1шт.

A185363R

REMAN-HYD PUMP

3594 (1/85-12/87)

1шт.

A185363C

CORE-HYDRAULIC PUMP

Return Number

1шт.

1

A49832

VALVE

PUMP COMPENSATOR ASSEMBLY, Includes Ref. 2 - 22

1шт.

2

NSS

NOT SOLD SEPARAT

BODY valve

1шт.

3

NSS

NOT SOLD SEPARAT

SPOOL pressure limiter

1шт.

4

NSS

NOT SOLD SEPARAT

SEAT pressure limiter spool

1шт.

5

NSS

NOT SOLD SEPARAT

SPRING pressure limiter spool

1шт.

6

238-6015

O-RING,0.07" Thk x 0.551" ID, -15, Cl 6, 90 Duro

in Kit A49833 -015, 90 Duro, .551" ID x .070" Thk

1шт.

7

NSS

NOT SOLD SEPARAT

PLUG pressure limiter spool, adjusting

1шт.

8

NSS

NOT SOLD SEPARAT

SPOOL load sensing

1шт.

9

NSS

NOT SOLD SEPARAT

SEAT load sensing spool, upper

1шт.

10

NSS

NOT SOLD SEPARAT

SPRING load sensing spool

1шт.

11

NSS

NOT SOLD SEPARAT

SEAT load sensing spool, lower

1шт.

12

A49435

O-RING

rubber, In kit A49833

1шт.

13

A49437

PLUG

hex socket

1шт.

14

NSS

NOT SOLD SEPARAT

SCREW set, load sensing, self locking

1шт.

15

278548

PLUG,Hex, 7/16"-20 ORB

1шт.

16

237-6004

O-RING,0.072" Thk x 0.351" ID, -904, Cl 6, 90 Duro

4-1, 90 Duro, .351" ID x .072" Thk, In kit A49833

1шт.

17

221-850

PLUG,Hex Soc, 1/16"-27

hex socket, 1/16 inch PT

3шт.

18

238-6011

O-RING,0.07" Thk x 0.301" ID, -11, Cl 6, 90 Duro

(in Kit A49833) -011, 90 Duro, .301" ID x .070" Thk

1шт.

19

NSS

NOT SOLD SEPARAT

PLUG valve body

1шт.

20

NSS

NOT SOLD SEPARAT

ORIFICE valve body

1шт.

21

A49436

GASKET

compensator mounting, In kit A49833

1шт.

22

61-31020

HEX SOC SCREW,#10 - 24 x 1 1/4"

SCREW, Hex Soc Hd, #10-24 x 1 1/4"

4шт.

Выбрано товаров: 0